Der Oberste Patent- und Markensenat hat durch die Vizepräsidentin des Obersten Patent- und Markensenates Dr. Brigitte SCHENK, die Räte des Obersten Patent- und Markensenates Dr. Gottfried MUSGER und Mag. Wolfgang BONT als rechtskundige Mitglieder sowie die Räte des Obersten Patent- und Markensenates Dr. Kurt EHRENDORFER und Mag. Maximilian GÖRTLER als fachtechnische Mitglieder in der Patentsache des Antragstellers C *****, Deutschland, vertreten durch CMS Reich-Rohrwig Hainz Rechtsanwälte GmbH, Ebendorferstraße 3, 1010 Wien, wider den Antragsgegner I *****, vertreten durch Patentanwalt Dipl.-Ing. Michael Babeluk, Mariahilfer Gürtel 39/17, 1150 Wien, auf Erfindernennung hinsichtlich des österreichischen Patents Nr 501 092, auf Übertragung des österreichischen Patents Nr 501 092, auf Erfindernennung hinsichtlich der europäischen Patentanmeldung 05803064.4 sowie auf Übertragung der europäischen Patentanmeldung 05803064.4 über die Berufung des Antragstellers gegen die Endentscheidung der Nichtigkeitsabteilung des Österreichischen Patentamtes vom 16. Feber 2010, Zl N 9/2007-18, entschieden:
Der Berufung wird nicht Folge gegeben.
Der Antragsteller ist schuldig, dem Antragsgegner binnen 14 Tagen die mit 2.703,70 EUR bestimmten Kosten des Berufungsverfahrens (darin 435,70 EUR Umsatzsteuer) zu ersetzen.
G r ü n d e :
Der Antragsgegner reichte am 15. November 2004 die österreichische Patentanmeldung A 1902/2004 mit folgenden unabhängigen Ansprüchen 1 und 6 ein (AT 501 092 A1 vom 15. Juni 2006):
1. Verfahren zum Be- und Entladen einer Werkzeugmaschine mit Werkzeugen, wobei die Werkzeuge in einem Magazin bzw Speicher gelagert werden und über eine insbesondere entlang mehrerer Achsen bewegbare Vorrichtung zu einer Übergabeposition an der oder in die Werkzeugmaschine transportiert werden und nach einem Einsatz von dieser entfernt werden, dadurch gekennzeichnet , dass eine geringe Anzahl von Werkzeugen in einem Zwischenspeicher in der Nähe der Werkzeugmaschine bzw deren Übergabestation vorbereitet und gespeichert wird.
6. System zu Be- und Entladen einer Werkzeugmaschine mit Werkzeugen, wobei die Werkzeuge in einem Magazin bzw Speicher gelagert sind und über eine insbesondere entlang mehrerer Achsen bewegbare Vorrichtung zu einer Übergabeposition an die Werkzeugmaschine oder in die Werkzeugmaschine transportierbar sind und nach einem Einsatz in der Werkzeugmaschine aus dieser entfernbar sind, dadurch gekennzeichnet , dass ein Zwischenspeicher (11) in der Nähe der Werkzeugmaschine (5) bzw ihrer Übergabestation vorgesehen ist, in welchem eine geringe Anzahl von Werkzeugen (3) aufnehmbar ist.

Am 17. November 2005 schränkte der Antragsgegner die Ansprüche aufgrund des Recherchenberichts und eines Vorbescheides ein. Insbesondere nahm er das Merkmal des Zwischenspeichers in den jeweiligen Oberbegriff der unabhängigen Ansprüche auf, das neue kennzeichnende Merkmal war eine Wechselvorrichtung zur Werkzeugübergabe zwischen Zwischenspeicher und Werkzeugmaschine.
Aufgrund eines weiteren Vorbescheides modifizierte der Antragsgegner am 19. April 2007 abermals die Ansprüche. Auf dieser Grundlage erteilte das Patentamt am 29. Mai 2007 das Patent mit geringfügigen redaktionellen Änderungen (in der Fassung: österreichisches Patent). Die Eintragung ins Patentregister erfolgte am 15. Oktober 2007 zu AT 501 092 B1. Die strittigen Ansprüche 1 und 9 lauten wie folgt (Punktierung und Fettdruck zur besseren Übersicht):
1. Verfahren
i) zum Be- und Entladen einer Werkzeugmaschine (5)
ii) mit Werkzeugen (3, 3’),
iii) bei dem die Werkzeuge (3, 3’) aus einem Magazin (1)
iv) zunächst in einen Zwischenspeicher (11) übernommen werden und aus dem Zwischenspeicher (11) der Werkzeugmaschine (5) zugeführt werden,
v) dadurch gekennzeichnet , dass die Werkzeuge (3, 3’) bei der Übergabe an die Werkzeugmaschine (5) über eine Wechselvorrichtung (14) gleichzeitig aus dem Zwischenspeicher (11) und der Werkzeugmaschine (5) entnommen, bzw in diese eingesetzt werden.
9. Vorrichtung
i) zum Be- und Entladen einer Werkzeugmaschine (5)
ii) mit Werkzeugen (3, 3’),
iii) mit einem Magazin (1) zum Lagern der Werkzeuge (3, 3’)
iv) und einem Zwischenspeicher (11) zur kurzfristigen Bereitstellung von Werkzeugen (3, 3’),
v) dadurch gekennzeichnet , dass zusätzlich eine Wechselvorrichtung (14) vorgesehen ist, die dazu ausgebildet ist, Werkzeuge (3, 3’) gleichzeitig aus dem Zwischenspeicher (11) und der Werkzeugmaschine (5) zu entnehmen, bzw in diese einzusetzen.
Am 15. November 2007 erlosch das Patent wegen Nichtzahlung der vierten Jahresgebühr.
Bereits am 15. November 2005 hatte der Antragsgegner unter Ausnutzung der österreichischen Priorität ein europäisches Patent angemeldet, wobei die Patentansprüche weitestgehend mit jenen von AT 501 092 B1 übereinstimmten. Diese Anmeldung wurde am 18. Mai 2006 als WO 2006/050 551 A2 veröffentlicht. Am 27. März 2007 schränkte der Antragsgegner aufgrund des Internationalen Recherchenberichts sein Schutzbegehren durch Aufnahme eines weiteren Merkmals ([vi]: Verschwenkung) wie folgt ein:
1. Verfahren
i) zum Be- und Entladen einer Werkzeugmaschine (5)
ii) mit Werkzeugen (3, 3’),
iii) bei dem die Werkzeuge (3, 3’) aus einem Magazin (1)
iv) zunächst in einen Zwischenspeicher (11) übernommen werden und aus dem Zwischenspeicher (11) der Werkzeugmaschine (5) zugeführt werden,
v) wobei die Werkzeuge (3, 3’) bei der Übergabe an die Werkzeugmaschine (5) über eine Wechselvorrichtung (14) gleichzeitig aus dem Zwischenspeicher (11) und der Werkzeugmaschine (5) entnommen, bzw in diese eingesetzt werden,
vi) dadurch gekennzeichnet , dass die Werkzeuge (3, 3’) bei ihrer Übergabe vom Magazin (1) an den Zwischenspeicher (11) oder bei ihrer Übergabe vom Zwischenspeicher (11) an die Werkzeugmaschine (5) um eine zu ihrer Achse unterschiedliche Achse verschwenkt werden .
8. System
i) zum Be- und Entladen einer Werkzeugmaschine (5)
ii) mit Werkzeugen (3, 3’),
iii) mit einem als Matrixmagazin ausgebildeten Magazin (1) zum Lagern der Werkzeuge (3, 3’)
iv) und einem Zwischenspeicher (11) zur kurzfristigen Bereitstellung von Werkzeugen (3, 3’),
v) wobei zusätzlich eine Wechselvorrichtung (14) vorgesehen ist, die dazu ausgebildet ist, Werkzeuge (3, 3’) gleichzeitig aus dem Zwischenspeicher (11) und der Werkzeugmaschine (5) zu entnehmen, bzw in diese einzusetzen,
vi) dadurch gekennzeichnet , dass eine Vorrichtung zum Verschwenken der Werkzeuge (3, 3’) vorgesehen ist.
Der Oberbegriff von Anspruch 1 entsprach dem Anspruch 1 des österreichischen Patents, das kennzeichnende Merkmal (vi) dem Anspruch 8 des österreichischen Patents. Der Oberbegriff von Anspruch 8 entsprach den Ansprüchen 9 und 14 des österreichischen Patents, das kennzeichnende Merk- mal (vi) dem Anspruch 19 des österreichischen Patents.
Der Antragsteller beantragte am 19. Juni 2007 , ihn bei der österreichischen und der europäischen Patentanmeldung nach § 20 PatG als Erfinder zu benennen und ihm diese Anmeldungen nach § 49 Abs 5 und 7 PatG 1970 zu übertragen.
Er sei im Jahr 2003 als Geschäftsführer eines Unternehmens, das Werkzeugmaschinen erzeugte, bestrebt gewesen, eine mit einem Matrixmagazin versehene Maschine mit einer Bereitstellungszeit der Werkzeuge von weniger als 30 Sekunden zu entwickeln. Diese Aufgabe sei unter anderem an ein Unternehmen herangetragen worden, dessen Mitarbeiter der Antragsgegner gewesen sei. Bis zu diesem Zeitpunkt habe der Antragsgegner weder mit Werkzeugmaschinen mit Matrixmagazin gearbeitet noch über Herstellungstechnologie oder Bedienungs-Know-How verfügt. Für die Besprechung eines Lösungsvorschlages sei für den 6. August 2004 eine Besprechung in Graz anberaumt worden. Zwischenzeitlich habe der Antragsteller aber selbst die Lösung des Problems gefunden, nämlich die Werkzeuge nahe dem Werkzeugwechsler in einer gesonderten Vorrichtung zwischen zu lagern. Er habe dies entweder mit Hilfe einer Linearachse oder einer Drehachse bewerkstelligen wollen.
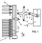
Beim Treffen in Graz habe er die technische Lösung, die später vom Antragsgegner zum Patent angemeldet worden sei, vorgestellt. Insbesondere werde sie in einer Skizze auf Seite 8 (= Folie 7) des Protokolls (Beilage ./D) dargestellt, die von einem Mitarbeiter des Antragstellers gezeichnet worden sei. Darauf sei eine Ansicht der Werkzeugmaschine von oben dargestellt, wobei eine Matrix mit einem zweiarmigen Zwischenspeicher (mit den Plätzen A und B für das Werkzeug), eine Wechseleinrichtung und eine Spindel zur Aufnahme des Werkzeugs zu sehen seien. Die Drehbarkeit des Zwischenspeichers und der Wechselvorrichtung sei durch die rot gefüllten Kreise dargestellt. Mit der Wechselvorrichtung werde gleichzeitig je ein Werkzeug dem Zwischenspeicher und der Spindel entnommen und danach wieder eingesetzt. Unter der Skizze seien in Programmiersprache die einzelnen Phasen des Werkzeugwechsels dargestellt. Mit „T“ seien die einzelnen Werkzeuge („tool“) und mit „M6“ der Wechsel der einzelnen Werkzeuge bezeichnet. In blauer Farbe sei jeweils der Programmaufruf und in schwarzer Farbe die jeweilige Position des einzelnen Werkzeuges bezeichnet. Vor Darlegung dieser Lösung habe der Antragsgegner lediglich einen nicht zielführenden Vorschlag gemacht, nämlich eine Wechseleinrichtung ohne Zwischenspeicher zwischen Magazin und Werkzeugmaschine (Protokoll [Beilage ./D] Seite 10, wobei die Ellipse mit den vier kleineren Kreisen zu diesem Zeitpunkt noch nicht eingezeichnet gewesen sei).
Der Antragsteller sei alleiniger Erfinder, da er dem der Erfindung zugrunde liegenden schöpferischen Lösungsgedanken als erster Ausdruck verliehen habe. Insbesondere gehe aus Folie 7 des Besprechungsprotokolls vom 6. August 2004 auch hervor, dass die einzelnen Werkzeuge verschwenkt werden müssten, um vom Matrix-Magazin in die Spindel zu gelangen. Dies entspreche dem weiteren Merkmal in den Ansprüchen 1 und 8 der (eingeschränkten) europäischen Patentanmeldung. Die vom Antragsteller vorgeschlagene Lösung sei funktionsfähig und weise alle Merkmale des Gegen-standes der unabhängigen Patentansprüche 1 und 8 auf. Der Antragsgegner hätte dagegen zum Entstehen der Erfindung keinen Beitrag geleistet.
Der Antragsgegner wendet ein, dass das österreichische Patent erloschen sei, weswegen die Anträge insoweit zurückzuweisen seien. Bei der europäischen Patentanmeldung seien sie nicht berechtigt.
Bei der Besprechung vom 6. August 2004 sei es weder um den genauen Verfahrensablauf gegangen noch um die genaue Konstruktion des Matrixmagazins. Tatsächlich habe der Antragsteller die wesentlichen Bestandteile der Erfindung erst bei seinen weiterführenden Entwicklungsarbeiten im September und Oktober 2004 geschaffen. Die Tabelle auf Folie 7 (= Blatt 8) der Beilage ./2 zeige die Befehle zum Werkzeugwechsel und die durch diese Befehle verursachten Veränderungen in der Position der Werkzeuge. Es gehe dabei in offensichtlicher Weise nicht um die mechanische Ausführung, sondern um den Verfahrensablauf beim Werkzeugwechsel. Der Antragsteller habe bei der Besprechung in Graz keine den Ansprüchen von AT 501 092 B1 entsprechende, funktionsfähige Lösung mit Zwischenspeicher vorgeschlagen, sondern allenfalls Anregungen zur Erfindung gegeben. Ein Vorbringen zum weiteren Merkmal der unabhängigen Patentansprüche der europäischen Patentanmeldung habe er nicht erstattet.
Im weiteren Verfahren beantragte der Antragsteller , das Erlöschen des österreichischen Patents bis zur rechtskräftigen Entscheidung der Nichtigkeitsabteilung „auszusetzen“, da die Nichtbezahlung der Jahresgebühr rechtsmissbräuchlich erfolgt sei, um die Übertragung zu vereiteln. Gemäß § 49 Abs 5 PatG könne der Antragsgegner nur mit Zustimmung des Antragstellers auf das Patent verzichten. Eine solche Zustimmung sei weder gefordert noch erteilt worden. Hilfsweise beantragte er die Durchführung des Verfahrens nach § 117 PatG 1970. Sein rechtliches Interesse liege darin, dass er beabsichtige, einen Schadenersatzanspruch gegenüber dem Antragsteller geltend zu machen. Da das Patent mit Nichtbezahlung der Jahresgebühr erloschen sei, gehöre es fortan in Österreich zum Stand der Technik. Der Antragsgegner hätte vom Vindikationsverfahren bereits Kenntnis gehabt, als er die Jahresgebühr zu entrichten unterlassen habe. Der Schaden sei daher von ihm kausal und adäquat verursacht worden. Zur Durchsetzung des Schadenersatzanspruchs sei die präjudizielle Vorfrage zu klären, wer rechtmäßiger Erfinder und Inhaber des Patentes sei.
Mit der angefochtenen Entscheidung stellte die Nichtigkeitsabteilung das Verfahren zum österreichischen Patent ein und wies die Anträge zur europäischen Anmeldung ab.
§ 49 Abs 5 PatG 1970 erfasse nur den Verzicht im Sinne von § 46 Abs 1 Z 3 PatG 1970, nicht aber den in § 46 Abs 1 Z 2 PatG 1970 angeführten Erlöschensgrund der Nichtzahlung der Jahresgebühr. Eine Gesetzeslücke, die eventuell eine analoge Anwendung von § 49 Abs 5 PatG 1970 auch auf den Fall der Nichtzahlung der Jahresgebühr ermöglichte, liege nicht vor. Der Gesetzgeber habe in § 117 PatG 1970 Verzicht und Nichtzahlung der Jahresgebühr in Bezug auf andere (Kosten-)Folgen des Erlöschens des Patents gesondert angeführt. Er sei sich also der Problematik bewusst gewesen. Die bloße Absicht, einen Schadenersatzanspruch gegenüber dem Antragsgegner geltend zu machen, weil die Nichtzahlung der Jahresgebühr rechtsmissbräuchlich in der Absicht erfolgt sei, eine Übertragung zu vereiteln, begründe noch kein rechtliches Interesse an der Fortsetzung des Verfahrens. In Bezug auf die europäische Anmeldung seien die zum Entscheidungszeitpunkt aufrechten Ansprüche maßgebend. Es müssten alle erfindungswesentlichen Merkmale zumindest eines Anspruchs zur Gänze auf den Antragsteller zurückgehen. Dieser Beweis sei dem Antragsteller nicht gelungen. Weder die Skizze noch die Programmsequenz sei ein eindeutiger Hinweis darauf, dass bei der Besprechung schon beide Elemente (Zwischenspeicher und Werkzeugwechsler) erwähnt worden wären. Denn in diesem Fall wäre ein zusätzlicher Zwischenschritt erforderlich gewesen, der dem Programmcode jedoch nicht zu entnehmen sei. Auch die Aussagen der in der Verhandlung vernommenen Zeugen erlaubten keine eindeutigen Feststellungen. Das Merkmal der Verschwenkbarkeit der Werkzeuge sei überhaupt nicht erwähnt worden.
Die gegen diese Entscheidung gerichtete Berufung des Antragstellers ist nicht berechtigt:
1. Zur Einstellung des Verfahrens in Bezug auf das österreichische Patent.
1.1. Die Berufung wendet sich nicht gegen die Annahme der Nichtigkeitsabteilung, dass § 49 Abs 5 Satz 3 PatG 1970 auf das Erlöschen des Patents wegen Nichtzahlung der Jahresgebühr nicht analog anzuwenden ist. Dieser gesonderte Streitpunkt ist daher nicht mehr zu erörtern.
1.2. Das rechtliche Interesse im Sinne von § 117 PatG 1970 hat die Nichtigkeitsabteilung im Ergebnis zutreffend verneint. Der Antragsteller hat sich insofern nur darauf gestützt, dass „das Patent“ wegen seines Erlöschens in Österreich zum Stand der Technik gehöre und daher nicht mehr schutzfähig sei. Welche Schäden er gerade aus diesem Umstand erlitten hat, legt er aber nicht dar. Denn diese „Schutzunfähigkeit“ ergibt sich auch aus der europäischen Patentanmeldung, die die Lehre des österreichischen Patents zur Gänze enthält. Hat der Antragsteller mit seinen insofern gestellten Anträgen ganz oder teilweise Erfolg, erhält er ohnehin dieses Schutzrecht oder allenfalls eine Mitberechtigung (vergleiche Kraßer , Patentrecht6 [2009] 364; Melullis in Benkard, Patentgesetz10 [2006] § 8 PatG Rz 9 mwN); soweit er damit scheitert, könnte ihm auch eine feststellende Entscheidung zum österreichischen Patent – die zwingend den gleichen Inhalt haben müsste – nicht helfen. Tatsächlich hat die Nichtigkeitsabteilung in ihrer Entscheidung ohnehin (auch) über die Ansprüche von AT 501 092 B1 abgesprochen und eine materielle Berechtigung des Antragstellers verneint. Diese Auffassung trifft, wie noch zu zeigen sein wird, zu.
2. Zur Entscheidung über die europäische Anmeldung
2.1. Die Beweisrüge muss scheitern.
(a) Im Verfahren vor dem Obersten Patent- und Markensenat finden zwar gemäß der Verweisung des § 140 Abs 1 PatG (auch) auf § 120 PatG ebenfalls die zitierten Bestimmungen der ZPO Anwendung, gemäß § 140 Abs 2 PatG hat der Oberste Patent- und Markensenat aber keine neuen Beweise aufzunehmen. Diese Gesetzesbestimmung wird in ständiger Rechtsprechung dahin ausgelegt, dass immer dann im Berufungsverfahren keine Überprüfung der Beweiswürdigung stattfindet, wenn es um Beweismittel geht, die von der ersten Instanz unmittelbar aufgenommen wurden (Zeugenbeweis; Beweis durch Parteienvernehmung), die Glaubwürdigkeit der vernommenen Personen also auf dem unmittelbar gewonnenen Eindruck beruht. Wenn der Oberste Patent- und Markensenat keine Beweise aufzunehmen hat, kommt eine Nachprüfung der von der Tatsacheninstanz erfolgten Beweiswürdigung nicht in Frage. Vielmehr ist er an die auf unmittelbarer Beweisaufnahme beruhenden Feststellungen gebunden (Op 1/83 = PBl 1983, 164; Op 4/95 = PBl 1999, 49; Op 3/08 = PBl 2009, 177).
(b) Nach Auffassung des Antragstellers widerspricht diese Kognitionsbeschränkung Art 6 ERMK, da über den (zivilrechtlichen) Anspruch auf Übertragung der Anmeldung auch in Bezug auf die Tatfrage ein Gericht entscheiden müsse. Eine solche Konventionswidrigkeit könnte der Oberste Patent- und Markensenat allerdings mangels Antragsbefugnis im Sinne von Art 140 B-VG nicht wahrnehmen. Eine vom Antragsteller anscheinend angestrebte konventionskonforme Auslegung ist wegen der Schranke des Wortlauts nicht möglich: Sie müsste darin liegen, dass der Oberste Patent- und Markensenat trotz geringerer Erkenntnismöglichkeiten mangels eigener Beweisaufnahme die wegen der unmittelbarer Beweisaufnahme auf einem höheren Informationsstand beruhenden Erwägungen der ersten Instanz verwerfen und andere Feststellungen treffen müsste (vergleiche Op 3/08 = PBl 2009, 177). Dieses Ergebnis wäre grob unsachlich und unterläge daher selbst verfassungsrechtlichen Bedenken.
(c) Abgesehen davon gelingt es dem Antragsteller ohnehin nicht, eine im entscheidenden Punkt unrichtige Beweiswürdigung aufzuzeigen. Er vertritt die Auffassung, dass jene Skizze, die die Ergebnisse der Grazer Besprechung wiedergibt, entgegen der Ansicht der Nichtigkeitsabteilung jedenfalls im Kern die strittigen Ansprüche des österreichischen Patents und damit die Punk- te (i) bis (v) der strittigen Ansprüche der europäischen Anmeldung enthalten habe; das ergebe sich insbesondere aus den Aussagen der von ihm geführten Zeugen Hasebe und Papajewski. Diese Skizze habe daher das „Wesen der Erfindung“ wiedergegeben (Berufung Seite 12). Dies hat die Nichtigkeitsabteilung aber zutreffend als nicht erwiesen angenommen.

Die Drehbewegung des Werkzeugwechslers ist laut Hasebe und Papajewski durch zwei Ellipsen symbolisiert, und zwar durch die untere und durch die rechte. Es widerspricht allerdings der Lebenserfahrung, dass in einer technischen Zeichnung ein nur einmal vorkommendes Element ohne Grund zweimal dargestellt wird. Dementsprechend konnten sich Papajewski und Hasebe diesen Umstand auch nicht erklären. Unverständlich ist weiters, warum zwischen Position A und der Spindel nicht direkt ein Werkzeugwechsler eingezeichnet ist, sondern nur indirekt durch eine (oder zwei) vom Balken A-B deutlich nach unten abgesetzte Ellipse(n) symbolisiert sein soll. Auch die Programmsequenzen im unteren Teil der Folie widersprechen der Deutung des Balkens A-B und der Ellipsen durch Hasebe und Papajewski. Nach ihren Erläuterungen stellen die Einträge T1, T2 in den Spalten links die Positionen der Werkzeuge dar, und zwar schwarz ohne und blau mit Zwischenspeicher. Die alte Lösung nur mit Werkzeugwechsler stellt zwei Werkzeugpositionen zur Verfügung, nämlich eine im Werkzeugwechsler und eine in der Spindel. Die zweite Position im Werkzeugwechsler muss für das Werkzeug aus der Spindel frei bleiben. Folglich kann, während ein Werkzeug in der Spindel ist, nur das nächste Werkzeug angefordert werden. Die neue, in blau geschriebene Lösung stellt drei Werkzeugpositionen zur Verfügung: diese Positionen werden von Hasebe konsequent mit B, A und Spindel angesprochen, an welchen in der Tabelle die jeweiligen Werkzeuge T1, T2 etc. stehen. Nach jedem Werkzeugwechselbefehl M6 am Ende jeder Zeile rückt jedes Werkzeug um eine Position nach rechts. Deutet man die roten Ellipsen als revolverförmigen Zwischenspeicher mit 3 Positionen, der immer in derselben Richtung dreht, dann entsprechen die blauen Werkzeugpositionen diesem Schema vollständig. Jeder Befehl M6 bedeutet die Drehung des Revolvers um eine Position, jedes Werkzeug rückt um eine Position weiter. Durch diese Drehung kommt das Werkzeug von Position 2 auf Position 3, wo es direkt von der Spindel aufgenommen wird. Nach dem Bearbeitungsvorgang kommt das Werkzeug von der Spindel zurück auf Position 3, und mit dem nächsten Befehl M6 dreht der Zwischenspeicher weiter, das alte Werkzeug kommt demnach auf Position 1 zurück, wo es vom Magazinroboter gegen das nächste ausgetauscht wird. Der Eintrag auf Position 1 entspricht jeweils dem neuen Werkzeug, was sich mit der Aussage von Papajewski deckt, dass das Return-Werkzeug hier ausgelassen worden sei, weil es sowieso weg müsse.
Die obige Tabelle stimmt mit der Tabelle auf Folie 7, blaue Einträge, überein und entspricht, wie bereits ausgeführt, dem Ablauf eines Systems mit einem Zwischenspeicher mit drei Werkzeugpositionen ohne Wechselvorrichtung.
Unter Würdigung der Zeugenaussagen, der Beilage ./R, Folie 7, und der schriftlichen Erklärungen von Hasebe (Beilage ./E) und Papajewski (Beilage ./D) kommt der Oberste Patent- und Markensenat daher zum selben Ergebnis wie die Nichtigkeitsabteilung: Der Antragsteller konnte nicht nachweisen, dass bei der Besprechung in Graz von einem Gegenstand mit den Merkmalen (iv) (Zwischenspeicher) und (v) (Wechselvorrichtung zur gleichzeitigen Entnahme der Werkzeuge) die Rede war.
2.2. Eine relevante Aktenwidrigkeit liegt nicht vor.
(a) Soweit der Antragsteller schriftliche Erklärungen von Zeugen zitiert, aus denen er ableiten will, dass der Antragsteller der „Erfinder der streitgegenständlichen Patente“ ist, macht er keine Aktenwidrigkeit geltend, sondern (erkennbar) eine unrichtige Tatsachenfeststellung (nämlich über den Ablauf der Grazer Besprechung) aufgrund unrichtiger Würdigung dieser Beweismittel. Insofern bestehen aber, wie bereits ausgeführt, keine Bedenken an der Beweiswürdigung der Nichtigkeitsabteilung. Gleiches gilt für die bereits gewürdigten Aussagen von Hasebe und Papajewski, die mit der unstrittig das Ergebnis dieser Besprechung darstellenden Skizze nicht vereinbar sind.
(b) Dass auch der Zeuge Muser davon gesprochen hat, die Skizze zeige einen „Zwischenspeicher“, trifft zwar zu. Darauf kommt es aber nicht an. Denn entscheidend für das Wesen der Erfindung ist jedenfalls (also ganz abgesehen vom weiteren Merkmal [vi]) die Kombination von Zwischenspeicher (Merkmal [iv]) und Wechselvorrichtung (Merkmal [v]).
2.3. Der Oberste Patent- und Markensenat übernimmt daher die Negativfeststellung der Nichtigkeitsabteilung, wonach nicht nachgewiesen ist, dass in der Grazer Besprechung von einem Verfahren und einer Vorrichtung die Rede war, die sowohl einen Zwischenspeicher als auch eine Wechselvorrichtung zur gleichzeitigen Entnahme von Werkzeugen enthielt. Auf dieser Grundlage versagt die Rechtsrüge .
(a) Erfinder ist derjenige, der den Erfindungsgedanken erkennt, dessen schöpferischer Tätigkeit die Erfindung entspringt ( Melullis in Benkard, Patentgesetz10 [2006] § 6 PatG Rz 33; ähnlich Kraßer, Patentrecht6 [2009] 338, und Heath in Münchener Gemeinschaftskommentar EPÜ Art 60 Rz 6). Unter einer – hier strittigen – technischen Erfindung ist dabei eine Lehre zum technischen Handeln zu verstehen, dh eine Anweisung, mit technischen Mitteln ein beabsichtigtes Ergebnis zur Lösung eines technischen Problems zu erzielen ( Bacher / Melullis in Benkard, Patentgesetz10 [2006] § 1 PatG Rz 43 mwN). Die Erfindung muss zwar für die Patentierung in sprachliche Form gebracht werden. Die sprachliche Einkleidung als solche ist unerheblich, maßgebend ist allein der sachliche Gehalt der offenbarten Lehre ( Bacher / Me-lullis in Benkard, Patentgesetz10 [2006] § 1 PatG Rz 45a mwN). Abstrakt gesehen hat der Antragsteller daher recht, wenn er vorbringt, dass es für die Beurteilung der Erfindereigenschaft nicht auf die Formulierung der Ansprüche ankomme, sondern auf den „Wesensgehalt“ des Patents oder der Anmeldung ( Melullis in Benkard, Patentgesetz10 § 8 PatG Rz 8).
(b) Dieser Wesensgehalt kann aber nur durch Auslegung des Patents oder der Anmeldung ermittelt werden. Im vorliegenden Fall liegt der Wesensgehalt sowohl bei den strittigen Ansprüchen des österreichischen Patents als auch bei jenen der europäischen Anmeldung – bei ersteren ausschließlich, bei letzteren zumindest auch – in der Kombination eines Zwischenspeichers mit einer Wechselvorrichtung zur gleichzeitigen Entnahme der Werkzeuge. Insofern ist dem Antragsteller aber der Beweis, selbst der Erfinder zu sein, nicht gelungen, weil als Ergebnis der Grazer Besprechung (allenfalls) der Einsatz eines Zwischenspeichers, nicht aber der einer Wechselvorrichtung festgestellt werden kann.
(c) Auf dieser Grundlage kommt es nicht darauf an, ob der Antragsteller auch das kennzeichnende Merkmal der europäischen Anmeldung ([vi] Vorrichtung zum Verschwenken der Werkzeuge) erfunden hat. Der insofern geltend gemachte Verfahrensmangel ist daher jedenfalls unerheblich. Gleiches gilt für die bloß theoretische Frage, ob es für die europäische Anmeldung allenfalls auf die ursprüngliche Fassung (also ohne Merkmal [vi]) ankommt. Das ist hier schon deshalb zu verneinen, weil diese Einschränkung schon zum Zeitpunkt der Antragstellung erfolgt war. Eine Grundlage für die Annahme, dass die Ansprüche im Zeitpunkt der Anmeldung des europäischen Patents oder gar in jenem der prioritätsbegründenden Anmeldung maßgebend wären, ist nicht erkennbar.
Wegen der im Zeitpunkt der Antragstellung bereits erfolgten Einschränkung würde auch eine analoge Anwendung von § 49 Abs 5 Satz 3 PatG 1970 (Einschränkung als unzulässiger Teilverzicht) dem Antragsteller nicht weiterhelfen. Diese Frage ist daher nicht weiter zu prüfen. Ebenso kann offen bleiben, wie sich in diesem Zusammenhang die zwingende Aussetzung des Patenterteilungsverfahrens nach Regel 14 der Ausführungsordnung zum EPÜ und das – § 49 Abs 5 Satz 3 PatG 1970 entsprechende – Verbot der Zurücknahme der Anmeldung nach Regel 15 dieser Ausführungsordnung auswirkten.
3. Aus diesen Gründen muss die Berufung des Antragstellers scheitern. Die Kostenentscheidung gründet sich auf § 122 Abs 1 und § 140 Abs 1 PatG 1970 iVm §§ 41, 50 ZPO.
Rückverweise
Keine Verweise gefunden