Das Oberlandesgericht Wien hat als Berufungsgericht durch den Senatspräsidenten Dr. Hinger als Vorsitzenden sowie die Richterin Mag. Janschitz und den fachkundigen Laienrichter Hofrat DI Dr. Seyringer in der Patentsache der Antragstellerinnen 1. W***** , und 2. S***** , beide vertreten durch die SONN Patentanwälte OG in Wien unter Mitwirkung der CMS Reich-Rohrwig Hainz Rechtsanwälte GmbH in Wien, und die Nebenintervenientin auf Seiten der Antragstellerinnen M***** , vertreten durch die WOLF THEISS Rechtsanwälte GmbH Co KG in Wien, gegen die Antragsgegnerin T***** , vertreten durch Puchberger Partner Patentanwälte in Wien, wegen Nichtigkeit des Patents E 308190 („Anlage für die sichere Durchführung von Transaktionen mittels mehrerer Authentifizierungscodes“), über die Berufungen der Erstantragstellerin und der Antragsgegnerin gegen die Entscheidung der Nichtigkeitsabteilung des Patentamts vom 25.8.2022, N 19/2019-8, sowie über den Kostenrekurs der Antragstellerinnen gegen die in der Entscheidung der Nichtigkeitsabteilung des Patentamts vom 25.8.2022, N 19/2019-8, enthaltene Kostenentscheidung, in nichtöffentlicher Sitzung zu Recht erkannt:
I. Der Berufung der Antragsgegnerin wird nicht Folge gegeben.
Die Antragsgegnerin ist schuldig, der Erstantragstellerin die mit EUR 3.093,12 (darin enthalten EUR 515,52 bestimmten Kosten des Berufungsverfahrens binnen 14 Tagen zu ersetzen.
Der Wert des Entscheidungsgegenstands übersteigt EUR 30.000.
Die ordentliche Revision ist nicht zulässig.
II. Der Berufung der Erstantragstellerin wird nicht Folge gegeben.
Die Erstantragstellerin ist schuldig, der Antragsgegnerin die mit EUR 2.577,60 bestimmten Kosten des Berufungsverfahrens binnen 14 Tagen zu ersetzen.
Der Wert des Entscheidungsgegenstands übersteigt EUR 30.000.
Die ordentliche Revision ist nicht zulässig.
III. Dem Kostenrekurs wird nicht Folge gegeben.
Die Antragstellerinnen sind zur ungeteilten Hand schuldig, der Antragsgegnerin die mit EUR 612,47 (hierin enthalten EUR 102,08 USt) bestimmten Kosten des Rekursverfahrens zu ersetzen.
Der Revisionsrekurs ist jedenfalls unzulässig.
Entscheidungsgründe
Das Streitpatent
Der Antrag richtet sich gegen den österreichischen Teil des europäischen Patents EP 1259046 B1 (in der Folge: „Streitpatent“), angemeldet am 24.4.2001, veröffentlicht am 14.11.2005, das folgende Ansprüche enthält:
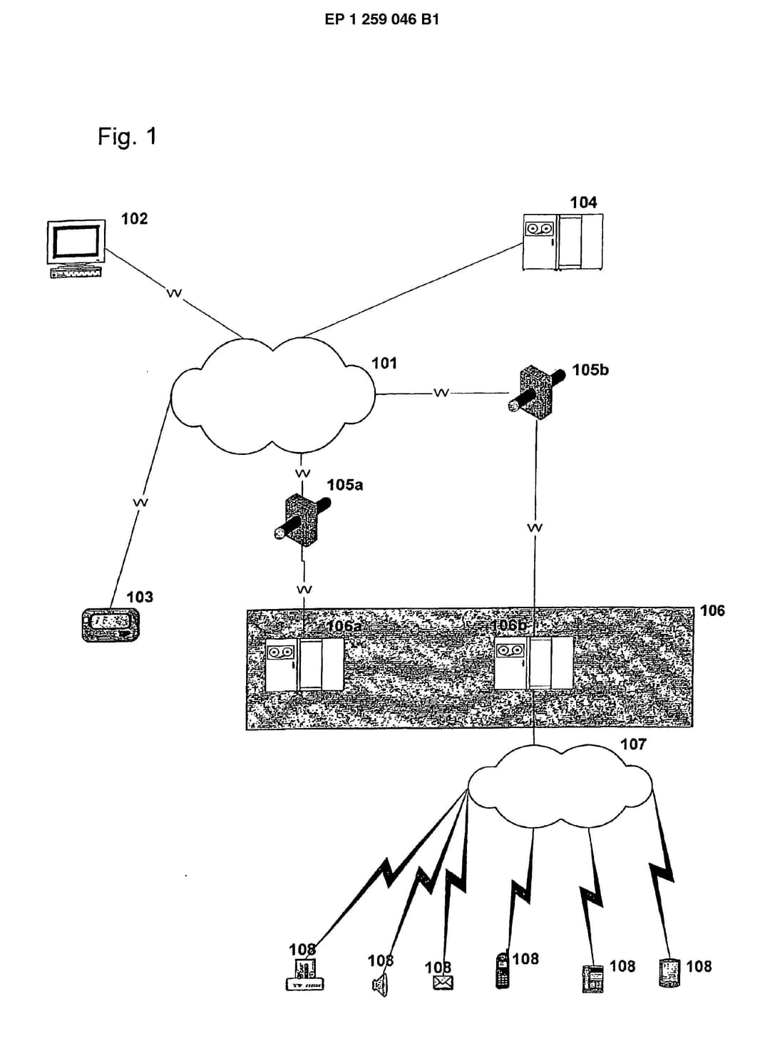
1. Anlage für die sichere Durchführung von Transaktionen zwischen informationsverarbeitenden Systemen mit einem Terminal (102), das zur Eingabe einer Benutzerkennung dient, mit einer Auswerteeinheit (106), die mit dem Terminal (102) über ein primäres Netz (101) verbunden ist, und im wesentlichen aus einer Speicher- und Prozessoreinheit besteht, welche zur Speicherung von Benutzerstammdaten und laufenden Transaktionsdaten dient, mit einem Codegenerator, der einen Sicherheitscode erzeugt, mit einer Sendeeinrichtung, die den Sicherheitscode über ein sekundäres Netz (107) an ein Empfangsgerät (108) sendet, und mit einer Eingabemöglichkeit für den Sicherheitscode am Terminal und einer Überprüfung des eingegebenen Sicherheitscodes auf Gültigkeit durch die Auswerteeinheit (106), dadurch gekennzeichnet , dass die Auswerteeinheit (106) einen zusätzlichen Codegenerator zur Erstellung eine Zusatzcodes aufweist und eine zusätzliche Sendeeinrichtung zur Übermittlung des Zusatzcodes über das primäre Netz (101) an das Terminal (102) und zur Ausgabe des Zusatzcodes aufweist, wobei das Terminal neben der Eingabemöglichkeit des Sicherheitscodes eine Ausgabe- und Eingabemöglichkeit für den Zusatzcode aufweist und die Auswerteeinheit (106) derart ausgestaltet ist, dass diese den eingegebenen Zusatzcode überprüft und bei Gültigkeit von eingegebenem Sicherheitscode und Zusatzcode die Transaktion autorisiert.
2 Anlage nach Anspruch 1, dadurch gekennzeichnet , dass die Auswerteeinheit (106) eine Einheit (106a) zur Entschlüsselung der vom Terminal (102) gesendeten Anmeldedaten und eine an diese Einheit (106a) angeschlossene Einheit (106b) zur Durchführung der Transaktion aufweist.
3. Anlage nach Anspruch 2, dadurch gekennzeichnet , dass die Auswerteeinheit (106) aus einer oder mehreren Einheit/en (106a) zur Vermittlung der Anmeldedaten und eine oder mehrere Einheit/en (106b) zur Durchführung der Transaktion besteht.
4. Anlage nach einem der Ansprüche 1 bis 3, dadurch gekennzeichnet , dass das Terminal (102) zusätzliche Eingabemöglichkeiten für weitere Identifizierungsmerkmale aufweist.
5. Anlage nach einem der Ansprüche 1 bis 4, dadurch gekennzeichnet , dass die Auswerteeinheit (106) einen weiteren Generator beinhaltet, der eine Eingabereihenfolge des Sicherheitscode, des Zusatzcode und gegebenenfalls von weiteren Identifizierungsmerkmalen für die Eingabe in das Terminal generiert und dass die Auswerteeinheit (106) eine Sendeeinrichtung zur Übermittlung der Eingabereihenfolge an das Terminal (102) aufweist.
Keines der Rechtsmittel ist berechtigt.
I. Zur Berufung der Antragsgegnerin
I.1.1. Nach § 22a PatG wird der Schutzbereich des Patents und der bekanntgemachten Anmeldung durch den Inhalt der Patentansprüche bestimmt. Die Beschreibung und die Zeichnungen sind jedoch zur Auslegung der Patentansprüche heranzuziehen.
I.1.2. Für Patente bestehen eigene Auslegungsregeln. Die Rechtsprechung, wonach Patentanmeldungen und insbesondere die Patentansprüche darin Willensklärungen sind, die nach den allgemeinen Grundsätzen über die Auslegung von Willenserklärungen auszulegen sind, geht auf die Rechtslage vor dem Inkrafttreten des § 22a PatG (BGBl 1984/234) zurück (RS0118278; RS0030757 [T10]). Bei einer Auslegung nach den in § 22a PatG iVm dem Protokoll über die Auslegung des Art 69 des Europäischen Patentübereinkommens festgelegten Grundsätzen ergeben sich aber keine wesentlichen Unterschiede zu einer Auslegung nach den §§ 914 ff ABGB (4 Ob 82/21v, 4 Ob 178/03k). Bei der Auslegung von Patentansprüchen sind die mit dem Patent verfolgten Ziele gegeneinander abzuwägen: ausreichender Schutz für den Patentinhaber und ausreichende Rechtssicherheit für Dritte. Für den ersten Gesichtspunkt ist die objektive Bedeutung der Erfindung, wie sie in den Patentansprüchen ihren Niederschlag gefunden hat, und nicht die subjektive Anstrengung des Erfinders maßgeblich; für den zweiten das, was die Fachperson bei objektiver Betrachtung den Patentansprüchen entnimmt (RS0118279). Der Schutzbereich des Patents muss für Außenstehende hinreichend sicher vorhersehbar sein (4 Ob l/22h).
Bereits bei der Ermittlung des Schutzumfangs eines Patents ist also nach der Rechtsprechung des OGH (auch) auf das Erkenntnisvermögen der einschlägigen Fachperson abzustellen. Das technische Verständnis der Fachperson ist ein objektivierendes, der beweismäßigen Feststellung zugängliches Element (vgl 4 Ob 178/03k, zur Deckungsgleichheit der Begriffe „Gegenstand der Erfindung“ und „Schutzumfang des Patents“ siehe RS0071537). Nur bei klarer und unzweideutiger Fassung der Patentansprüche kann sich das Auslegungsergebnis auch bereits unmittelbar aus dem Wortlaut der Patentansprüche ergeben (4 Ob 82/21v; 4 Ob l/22h).
I.2. Nach ständiger Rechtsprechung kann das Berufungsgericht den Inhalt einer in den Feststellungen der Vorinstanz – wenn auch ohne wörtliche Wiedergabe – enthaltenen Urkunde, deren Echtheit unstrittig ist, ohne weiteres berücksichtigen, ohne dass es einer Ergänzung des Beweisverfahrens bedarf (RS0121557).
I.3. Vorweg ist festzuhalten, dass die Antragsgegnerin die Rechtsmittelgründe in ihrer Berufung inhaltlich miteinander vermengt ausgeführt hat. Mehrere Berufungsgründe sind aber grundsätzlich nicht gemeinsam auszuführen. Es ist zwar ausreichend, wenn die Rechtsmittelausführungen mit hinreichender Deutlichkeit erkennen lassen, welcher Berufungsgrund ausgeführt werden soll, derjenige Teil der Ausführungen, der nicht mit hinreichender Deutlichkeit erkennen lässt, welcher Berufungsgrund aufgeführt werden soll, ist aber mangels gesetzmäßiger Ausführung des Rechtsmittels unbeachtet zu lassen. Allfällige diesbezügliche Unklarheiten in den Rechtsmittelausführungen gehen zu Lasten des Berufungswerbers (RS0041768; RS0041761;
6. Anlage nach Anspruch 5, dadurch gekennzeichnet , dass das Terminal (102) eine Eingabemöglichkeit für den Sicherheitscode, den Zusatzcode und gegebenenfalls weitere Identifizierungsmerkmale in der vom Generator generierten Reihenfolge durch den Benutzer aufweist .
Dabei gliedert sich der Gegenstand des unabhängigen Patentanspruchs in die Merkmale M1.A bis M1.i, die den Oberbegriff bilden:
M1.A Anlage für die sichere Durchführung von Transaktionen zwischen informationsverarbeitenden Systemen.
M1.B Die Anlage hat ein Terminal (102) das zur Eingabe einer Benutzerkennung dient.
M1.C Die Anlage hat eine Auswerteeinheit (106).
M1.D Die Auswerteeinheit ist mit dem Terminal (102) über ein primäres Netz (101) verbunden.
M1.E Die Auswerteeinheit besteht im Wesentlichen aus einer Speicher- und Prozessoreinheit, die zur Speicherung von Benutzerstammdaten und laufenden Transaktionsdaten dient.
M1.F Die Anlage hat einen Codegenerator, der einen Sicherheitscode erzeugt.
M1.G Die Anlage hat eine Sendeeinrichtung, die den Sicherheitscode über ein sekundäres Netz (107) an ein Empfangsgerät (108) sendet.
M1.H Die Anlage hat eine Eingabemöglichkeit für den Sicherheitscode am Terminal.
M1.i Die Anlage hat die Möglichkeit zur Überprüfung des eingegebenen Sicherheitscodes auf Gültigkeit durch die Auswerteeinheit (106).
Die Merkmale M1.J bis M1.N bestimmen den kennzeichnenden Teil des Patentanspruchs 1:
M1.J Die Auswerteeinheit (106) weist einen zusätzlichen Codegenerator zur Erstellung eines Zusatzcodes auf.
M1.K Die Auswerteeinheit (106) weist eine zusätzliche Sendeeinrichtung zur Übermittlung des Zusatzcodes über das primäre Netz (101) an das Terminal (102) und zur Ausgabe des Zusatzcodes auf.
M1.L Das Terminal (102) weist neben der Eingabemöglichkeit des Sicherheitscodes eine Ausgabe- und Eingabemöglichkeit für den Zusatzcode auf.
M1.M Die Auswerteeinheit (106) ist derart ausgestaltet, dass diese den eingegebenen Zusatzcode überprüft.
M1.N D ie Auswerteeinheit (106) autorisiert bei Gültigkeit von eingegebenen Sicherheitscode und Zusatzcode die Transaktion.
Die Patentansprüche 2 bis 6 sind zwingend auf Patentanspruch 1 rückbezogen und betreffen jeweils weitere vorteilhafte Ausgestaltungen der gemäß den Merkmalen des Patentanspruchs 1 gekennzeichneten Anlage.
Das Streitpatent enthält nachstehende grafische Darstellungen:


Zum relevanten Stand der Technik und zum Fachwissen einer Fachperson im Prioritätszeitpunkt gehören unter anderem: Patentschrift WO 01/17310 A1 (./J).
Der Adressat des Streitpatents ist ein/e Telematiker:in oder Nachrichtentechniker:in mit mehrjähriger Erfahrung auf dem Gebiet von Anlagen zur Durchführung von Transaktionen zwischen informationsverarbeitenden Systemen, wobei grundlegende Kenntnisse auf dem Gebiet der Informatik und der Informationssicherheit vorausgesetzt werden.
Der Antrag
Die Antragstellerinnen beantragen die Nichtigerklärung des Streitpatents und stützen sich im Wesentlichen auf das Fehlen der Neuheit und der erfinderischen Tätigkeit sowie der Ausführbarkeit/Offenbarung.
Die Verteidigung des Patents
Die Antragsgegnerin beantragt die Abweisung des Antrags und stellt gleichzeitig 4 Hilfsanträge (die Änderungen gegenüber dem Anspruch 1 sind jeweils unterstrichen).
Hilfsantrag 1 :
1. Anlage für die sichere Durchführung von Transaktionen zwischen informationsverarbeitenden Systemen mit einem Terminal (102), das zur Eingabe einer Benutzerkennung dient, mit einer Auswerteeinheit (106), die mit dem Terminal (102) über ein primäres Netz (101) verbunden ist, und im wesentlichen aus einer Speicher- und Prozessoreinheit besteht, welche zur Speicherung von Benutzerstammdaten und laufenden Transaktionsdaten dient, mit einem Codegenerator, der einen Sicherheitscode als Teil der laufenden Transaktionsdaten erzeugt, mit einer Sendeeinrichtung, die den Sicherheitscode über ein sekundäres Netz (107) an ein Empfangsgerät (108) sendet, und mit einer Eingabemöglichkeit für den Sicherheitscode am Terminal und einer Überprüfung des eingegebenen Sicherheitscodes auf Gültigkeit durch die Auswerteeinheit (106), dadurch gekennzeichnet , dass die Auswerteeinheit (106) einen zusätzlichen Codegenerator zur Erstellung eine Zusatzcodes als weiteren Teil der laufenden Transaktionsdaten aufweist und eine zusätzliche Sendeeinrichtung zur Übermittlung des Zusatzcodes über das primäre Netz (101) an das Terminal (102) und zur Ausgabe des Zusatzcodes aufweist, wobei das Terminal neben der Eingabemöglichkeit des Sicherheitscodes eine Ausgabe- und Eingabemöglichkeit für den Zusatzcode aufweist und die Auswerteeinheit (106) derart ausgestaltet ist, dass diese den eingegebenen Zusatzcode überprüft und bei Gültigkeit von eingegebenem Sicherheitscode und Zusatzcode die Transaktion autorisiert.
2. bis 6. unverändert .
Mit Hilfsantrag 1 werde der Anspruch 1 des Streitpatents insofern eingeschränkt, als der Sicherheitscode und der Zusatzcode als Teile der laufenden Transaktionsdaten erzeugt werden. Dadurch werde noch deutlicher gemacht, dass sowohl der Zusatzcode als auch der Sicherheitscode jedenfalls transaktionsbezogen seien, das heißt als Teil der Transaktionsdaten übermittelt würden. Offenbarungsstellen für diese Änderungen seien die Absätze [0006] und [0010] des Streitpatents. Es könne sich beim Sicherheitscode und beim Zusatzcode somit nicht um Codes handeln, die zum Aufbau, zur Aufrechterhaltung und zur Verwaltung der Benutzersitzung verwendet werden, sondern stets nur um Codes, die nach der Erstellung einer Benutzersitzung gemeinsam mit den Daten der Transaktion erstellt werden würden.
Hilfsantrag 2 :
1. Anlage für die sichere Durchführung von Transaktionen zwischen informationsverarbeitenden Systemen mit einem Terminal (102), das zur Eingabe einer Benutzerkennung dient, mit einer Auswerteeinheit (106), die mit dem Terminal (102) über ein primäres Netz (101) gesichert und verschlüsselt verbunden ist, und im wesentlichen aus einer Speicher- und Prozessoreinheit besteht, welche zur Speicherung von Benutzerstammdaten und laufenden Transaktionsdaten dient, mit einem Codegenerator, der einen Sicherheitscode erzeugt, mit einer Sendeeinrichtung, die den Sicherheitscode über ein sekundäres Netz (107) an ein Empfangsgerät (108) sendet, und mit einer Eingabemöglichkeit für den Sicherheitscode am Terminal und einer Überprüfung des eingegebenen Sicherheitscodes auf Gültigkeit durch die Auswerteeinheit (106), dadurch gekennzeichnet , dass die Auswerteeinheit (106) einen zusätzlichen Codegenerator zur Erstellung eine Zusatzcodes aufweist und eine zusätzliche Sendeeinrichtung zur Übermittlung des Zusatzcodes über das primäre Netz (101) an das Terminal (102) und zur Ausgabe des Zusatzcodes aufweist, wobei das Terminal neben der Eingabemöglichkeit des Sicherheitscodes eine Ausgabe- und Eingabemöglichkeit für den Zusatzcode aufweist und die Auswerteeinheit (106) derart ausgestaltet ist, dass diese den eingegebenen Zusatzcode überprüft und bei Gültigkeit von eingegebenem Sicherheitscode und Zusatzcode die Transaktion autorisiert.
2. bis 6. unverändert .
Mit Hilfsantrag 2 werde Anspruch 1 des Streitpatents weiter dadurch eingeschränkt, als die Auswerteeinheit mit dem Terminal über ein primäres Netz gesichert und verschlüsselt verbunden sei. Dadurch werde noch deutlicher gemacht, dass die streitpatentgemäße Anlage von einer gesicherten und verschlüsselten Verbindung über das primäre Netz ausgehe, sodass der Sicherheitscode und der Zusatzcode keine Codes sein könnten, die zur Aufrechterhaltung der gesicherten und verschlüsselten Verbindung erforderlich seien. Offenbarungsstellen für diese Änderungen seien die Absätze [0018] und [0021] des Streitpatents. Es handle sich beim Sicherheitscode und beim Zusatzcode somit nicht um Codes, die zum Aufbau, zur Aufrechterhaltung und zur Verwaltung der gesicherten und verschlüsselten Verbindung verwendet werden, sondern stets um Codes, die nach dem Aufbau einer Benutzersitzung erstellt würden.
Hilfsantrag 3 sei eine Kombination aus Hilfsantrag 1 und 2. Anspruch 1 des Streitpatents sei insoweit eingeschränkt worden, als der Sicherheitscode und der Zusatzcode als Teil der laufenden Transaktionsdaten erzeugt werden und die Auswerteeinheit mit dem Terminal über ein primäres Netz gesichert und verschlüsselt verbunden sei.
Hilfsantrag 4 :
1. Anlage für die sichere Durchführung von Transaktionen zwischen informationsverarbeitenden Systemen mit einem Terminal (102), nämlich einem virtuellen Terminal auf einem Personalcomputer , das zur Eingabe einer Benutzerkennung dient, mit einer Auswerteeinheit (106), die mit dem Terminal (102) über ein primäres Netz (101), nämlich das Internet , verbunden ist, und im wesentlichen aus einer Speicher- und Prozessoreinheit besteht, welche zur Speicherung von Benutzerstammdaten und laufenden Transaktionsdaten dient, mit einem Codegenerator, der einen Sicherheitscode erzeugt, mit einer Sendeeinrichtung, die den Sicherheitscode über ein sekundäres Netz (107), nämlich ein Funknetz , an ein Empfangsgerät (108), nämlich ein Mobiltelefon , sendet, und mit einer Eingabemöglichkeit für den Sicherheitscode am Terminal und einer Überprüfung des eingegebenen Sicherheitscodes auf Gültigkeit durch die Auswerteeinheit (106), dadurch gekennzeichnet, dass die Auswerteeinheit (106) einen zusätzlichen Codegenerator zur Erstellung eine Zusatzcodes aufweist und eine zusätzliche Sendeeinrichtung zur Übermittlung des Zusatzcodes über das primäre Netz (101) an das Terminal (102) und zur Ausgabe des Zusatzcodes aufweist, wobei das Terminal neben der Eingabemöglichkeit des Sicherheitscodes eine Ausgabe- und Eingabemöglichkeit für den Zusatzcode aufweist und die Auswerteeinheit (106) derart ausgestaltet ist, dass diese den eingegebenen Zusatzcode überprüft und bei Gültigkeit von eingegebenem Sicherheitscode und Zusatzcode die Transaktion autorisiert.
2. bis 6. unverändert .
Im Hilfsantrag 4 werde Anspruch 1 des Streitpatents insofern eingeschränkt, als es sich beim Terminal um einen „virtuellen Terminal auf einem Personalcomputer“ handle, beim Empfangsgerät um „ein Mobiltelefon“, beim primären Netz um „das Internet“ und beim sekundären Netz um „ein Funknetz“. Die eingefügten Merkmale ergäben sich unmittelbar und eindeutig aus der Beschreibung des Streitpatents, insbesondere aus den Absätzen [0005] bis [0006] und aus der Beschreibung des Ausführungsbeispiels in den Absätzen [0018] bis [0021].
Das Streitpatent sei neu und erfinderisch, seine Verfahrensansprüche seien ausführbar.
Die angefochtene Entscheidung
Die Nichtigkeitsabteilung des Patentamts (in der Folge kurz NA) gab dem Antrag teilweise statt und hielt das Patent im diesem Umfang aufrecht:
«1. Anlage für die sichere Durchführung von Transaktionen zwischen informationsverarbeitenden Systemen mit einem Terminal (102), das zur Eingabe einer Benutzerkennung dient, mit einer Auswerteeinheit (106), die mit dem Terminal (102) überein primäres Netz (101) verbunden ist, und im Wesentlichen aus einer Speicher- und Prozessoreinheit besteht, welche zur Speicherung von Benutzerstammdaten und laufenden Transaktionsdaten dient, mit einem Codegenerator, der einen Sicherheitscode erzeugt, mit einer Sendeeinrichtung, die den Sicherheitscode über ein sekundäres Netz (107) an ein Empfangsgerät (108) sendet, und mit einer Eingabemöglichkeit für den Sicherheitscode am Terminal und einer Überprüfung des eingegebenen Sicherheitscodes auf Gültigkeit durch die Auswerteeinheit (106), wobei die Auswerteeinheit (106) einen zusätzlichen Codegenerator zur Erstellung eines Zusatzcodes aufweist und eine zusätzliche Sendeeinrichtung zur Übermittlung des Zusatzcodes über das primäre Netz (101) an das Terminal (102) und zur Ausgabe des Zusatzcodes aufweist, wobei das Terminal neben der Eingabemöglichkeit des Sicherheitscodes eine Ausgabe- und Eingabemöglichkeit für den Zusatzcode aufweist und die Auswerteeinheit (106) derart ausgestaltet ist, dass diese den eingegebenen Zusatzcode überprüft und bei Gültigkeit von eingegebenen Sicherheitscode und Zusatzcode die Transaktion autorisiert, dadurch gekennzeichnet, dass die Auswerteeinheit (106) einen weiteren Generator beinhaltet, der eine Eingabereihenfolge des Sicherheitscode, des Zusatzcode und gegebenenfalls von weiteren Identifizierungsmerkmalen für die Eingabe in das Terminal generiert und dass die Auswerteeinheit (106) eine Sendeeinrichtung zur Übermittlung der Eingabereihenfolge an das Terminal (102) aufweist und dass das Terminal (102) eine Eingabemöglichkeit für den Sicherheitscode, den Zusatzcode und gegebenenfalls weitere Identifizierungsmerkmale in der vom Generator generierten Reihenfolge durch den Benutzer aufweist.
2. Anlage nach Anspruch 1 , dadurch gekennzeichnet, dass die Auswerteeinheit (106) eine Einheit (106a) zur Entschlüsselung der vom Terminal (102) gesendeten Anmeldedaten und eine an diese Einheit (106a) angeschlossene Einheit (106b) zur Durchführung der Transaktion aufweist.
3. Anlage nach Anspruch 2, dadurch gekennzeichnet, dass die Auswerteeinheit (106) aus einer oder mehreren Einheit/en (106a) zur Vermittlung der Anmeldedaten und eine oder mehrere Einheit/en (106b) zur Durchführung der Transaktion besteht.
4. Anlage nach einem der Ansprüche 1 bis 3, dadurch gekennzeichnet, dass das Terminal (102) zusätzliche Eingabemöglichkeiten für weitere ldentifizierungsmerkmale aufweist.»
Die Hilfsanträge der Antragsgegnerin wies die NA ab.
Die NA verpflichtete die Antragsgegnerin zur Zahlung von EUR 303 an Barauslagen an die Antragstellerinnen.
Die NA ließ sich bei ihrer Entscheidung davon leiten, dass die Entgegenhaltung ./J für den Anspruch 1 neuheitsschädlich sei und dass der Patentanspruch 1 gegenüber dem Stand der Technik, wie er sich aus einer Kombination der Beilagen ./i und ./S ergebe, nicht erfinderisch sei. Nur auf der Basis des Unteransprüche 5 und 6 („Eingabereihenfolge“) sei das Streitpatent rechtsbeständig.
Die Rechtsmittel
Dagegen richten sich die Berufungen
a. der Erstantragstellerin aus dem Berufungsgrund der Mangelhaftigkeit des Verfahrens und der unrichtigen rechtlichen Beurteilung. Sie beantragt, das Patent E 308190 zur Gänze für nichtig zu erklären.
Die Antragsgegnerin beantragt, der Berufung nicht Folge zu geben.
b. der Antragsgegnerin, die unrichtige Tatsachenfeststellung auf Grund unrichtiger Beweiswürdigung und unrichtige rechtliche Beurteilung geltend macht. Sie beantragt den Antrag auf Nichtigerklärung des Streitpatents abzuweisen und das Streitpatent im Umfang der erteilten Patentansprüche aufrechtzuerhalten; in eventu die angefochtene Entscheidung aufzuheben und derart abzuändern, dass das Streitpatent im Umfang eines Hilfsantrags, insbesondere Hilfsantrag 4, aufrechterhalten werde.
Die Erstantragstellerin beantragt, der Berufung nicht Folge zu geben; die Zweitantragstellerin erstattete keine Berufungsbeantwortung, ebenso wenig die Nebenintervenientin.
c. Die Antragstellerinnen erhoben noch einen Kostenrekurs , mit welchem sie den Zuspruch der gesamten Verfahrenskosten von EUR 8.054,40 begehren; in eventu begehren sie den Zuspruch von EUR 6.676,08, hilfsweise dazu den Zuspruch von EUR 5.757,19.
Die Antragsgegnerin beantragt, dem Kostenrekurs nicht Folge zu geben.
I.4. Zu den Tatsachenrügen:
Der Berufungsgrund der unrichtigen Tatsachenfeststellung aufgrund unrichtiger Beweiswürdigung dient dazu, die Tatsachenfeststellungen der erstinstanzlichen Behörde mit dem Argument zu bekämpfen, dass sie das Ergebnis einer unrichtigen Würdigung der aufgenommenen Beweise oder einer unrichtigen Anwendung von Erfahrungssätzen oder der Heranziehung unrichtiger Erfahrungssätze seien. Um die Beweisrüge „gesetzmäßig“ auszuführen, muss der Berufungswerber angeben, welche konkrete Feststellung er bekämpft, aufgrund welcher unrichtigen Beweiswürdigung sie getroffen wurde, welche Ersatzfeststellung er begehrt und aufgrund welcher Beweisergebnisse und Erwägungen diese Ersatzfeststellung zu treffen gewesen wäre ( Kodek , aaO § 471 Rz 15 mwN).
Für eine wirksame Bekämpfung der Beweiswürdigung und der von diesem getroffenen Tatsachenfeststellungen genügt es nicht, bloß auf einzelne für den Prozessstandpunkt des Berufungswerbers günstige Beweismittel zu verweisen und darzulegen, dass auf Basis der vorliegenden Beweisergebnisse auch andere Rückschlüsse als jene, die die erste Instanz gezogen hat, möglich gewesen wären. Vielmehr muss aufgezeigt werden, dass die getroffenen Feststellungen unrichtig sind oder wenigstens bedeutend überzeugendere Beweisergebnisse für andere Feststellungen vorliegen und das in erster Instanz entscheidende Organ diesen und nicht anderen Beweismitteln Glauben hätte schenken müssen. Erforderlich ist dabei eine kritische Auseinandersetzung mit der gesamten Beweislage.
I.4.1. Die Antragsgegnerin rügt die Feststellung der NA, dass mangels eines konkreten Ausführungsbeispiels im Streitpatent unklar sei, wie die technischen Merkmale des Streitpatents zur Lösung des Problems zusammenwirken könnten. Dazu führt die Antragsgegnerin ins Treffen, dass ein konkretes Ausführungsbeispiel in den Absätzen [0018] bis [0022] des Streitpatents detailliert erläutert sei. Hier vermengt die Antragsgegnerin die Ausführungen der Tatsachenrüge mit jenen der Rechtsrüge.
Den Ausführungen der Antragsgegnerin, soweit diese der Tatsachenebene zuzuordnen sind, ist entgegenzuhalten, dass sich im Streitpatent zwar ein konkretes Ausführungsbeispiel der Erfindung findet, es aber kein durchgespieltes Angriffsszenario (beispielsweise eine „man in the middle – Attacke“) gibt, wo ersichtlich wäre, wie das Angriffsszenario abgewehrt werde. Damit ist aber die Feststellung der NA, dass sich im Streitpatent kein „konkretes“ Ausführungsbeispiel findet, nicht zu beanstanden.
I.4.2. Die Patentinhaberin bekämpft die Feststellung der NA, dass die in Beilage ./J gezeigte „ Mobile Station (MS)“ ein streitpatentgemäßer Terminal und der in ./J gezeigte „ User PC, remote host“ ein streitpatentgemäßes Empfangsgerät sei.
Die Antragsgegnerin führt unter Bezugnahme auf die Absätze [0018] – [0023] des Streitpatents sowie das Bezugszeichen 102 in Figur 1 des Streitpatents aus, dass es sich beim streitpatentgemäßen Terminal um ein Software-Terminal auf einem PC und beim streitpatentgemäßen Empfangsgerät um ein Mobiltelefon handle.
Die Antragsgegnerin trägt weiters vor, dass die NA bei korrekter Auslegung der Anspruchsmerkmale zur Feststellung gelangt wäre, dass in Beilage ./J zwar ein Terminal (User PC/remote host) und ein Empfangsgerät (Mobile Station/MS) gezeigt werden, aber kein Zusatzcode an den Terminal übermittelt, dort aus- und eingegeben und an die Auswerteeinheit zurückgeschickt werde.
Auch hier vermengt die Antragsgegnerin Ausführungen zur Tatsachenrüge mit jenen zur Rechtsrüge. Um die Feststellungsrüge gesetzmäßig auszuführen, muss die angestrebte Ersatzfeststellung im Widerspruch zur bekämpften Feststellung stehen (RS0043150 [T9]). Dies ist hier aber nur im Zusammenhang mit der Auslegung der Anspruchsmerkmale „Terminal“ und „Empfangsgerät“ (und nur soweit diese der Tatsachenebene zuzuordnen sind) der Fall.
Die Antragsgegnerin bekämpft auch die mit der obigen bekämpften Feststellung im Zusammenhang stehende Feststellung der NA auf Seite 72 der angefochtenen Entscheidung, dass „der beanspruchte Gegenstand des Streitpatents doch sehr breit gefasst“ sei und „keinerlei Einschränkungen bezüglich des primären Netzes, des sekundären Netzes, des Terminals und des Empfangsgerätes“ enthalte. Weiters bekämpft die Antragsgegnerin auch noch die Festellung, dass sich „die erfindungswesentliche Lehre völlig unabhängig von bestimmten Netzen [...] realisieren lässt“.
Die Patentinhaberin begehrt – soweit erkennbar – die Feststellung, dass die in Beilage ./J gezeigte Mobile Station (MS) ein streitpatentgemäßes Empfangsgerät und der in ./J gezeigte User PC, remote host ein streitpatentgemäßer Terminal sei.
Die Feststellung der NA auf Seite 72 der angefochtenen Entscheidung ist aber nicht zu beanstanden. Im Streitpatent ist das erfindungswesentliche Prinzip an Hand eines einzigen Ausführungsbeispiels beschrieben, bei dem das primäre Netz das Internet, das sekundäre Netz ein Funknetz, das Terminal ein virtuelles Terminal auf HTML-Basis auf einem Personal Computer und das Empfangsgerät ein Mobiltelefon sind. Davon ausgehend ist der beanspruchte Gegenstand des Streitpatents sehr breit gefasst und enthält keine Einschränkungen im Hinblick auf das primäre und sekundäre Netz, das Terminal und das Empfangsgerät. Die Antragsgegnerin ist – soweit sie meint, die NA habe die Anspruchsmerkmale „Terminal“ und „Empfangsgerät“ nicht ausgelegt – auf die unbekämpften Feststellungen auf Seite 73 im 2. Absatz der angefochtenen Entscheidung zu verweisen, wonach das Terminal ein Teilnehmer im primären Netz und das Endgerät ein Teilnehmer im sekundären Netz sind.
Diese Überlegungen sind auch nicht zu beanstanden, weil in den Absätzen [0019] und [0020] des Streitpatents sowohl für das primäre als auch für das sekundäre Netz die identen Beispiele LAN, WAN, MAN, Internet, Extranet oder Funknetz angeführt werden. Daraus kann geschlossen werden, dass es keine spezifischen Anforderungsunterschiede zwischen dem primären und sekundären Netz gibt.
I.4.3. Die Antragsgegnerin rügt noch die Feststellung der NA, dass auch WAP-fähige Mobiltelefone ein Terminal im Sinne des Streitpatents sein könnten mit dem Argument, dass gängige Mobiltelefone auf dem Stand der Technik zum Prioritätszeitpunkt des Streitpatents im Jahr 2001 technisch nicht dazu eingerichtet gewesen seien, Anmeldebildschirme oder Eingabemasken zur Initiierung von Transaktionen des Homebanking oder Internetbanking anzuzeigen oder zu verarbeiten.
Dabei übersieht die Antragsgegnerin, dass die NA – ausgehend von der Beilage ./J Fig. 11 – festgestellt hat, dass WAP-fähige Mobiltelefone mit Tastatur und Bildschirm, welche für die Nutzung von USSD und SMS Diensten des Mobilfunknetzes eingerichtet gewesen sind und mittels WAP auch Internetdienste nutzen konnten, zum Prioritätszeitpunkt des Streitpatents bereits hinlänglich bekannt gewesen. Mit diesem Beweisergebnis setzt sich die Antragsgegnerin nicht auseinander. Die Tatsachenrüge ist daher hier nicht gesetzmäßig ausgeführt.
I.4.4. Soweit die Antragsgegnerin die Ausführungen der NA rügt, wonach die erfindungswesentliche Problemstellung bereits in Beilage ./J ersichtlich sei, bekämpft sie keine Tatsachenfeststellung, sondern die rechtliche Beurteilung.
I.4.5. Die Antragsgegnerin bekämpft noch die auf Seite 72, 4. Absatz, ersichtliche Feststellung „... wobei am Server die jeweilige Gültigkeit des eingegebenen Sicherheitscode und des eingegebenen Zusatzcodes überprüft wird und die sicher durchzuführende Transaktion nur bei Gültigkeit beider Codes autorisiert wird“ und begehrt stattdessen die Ersatzfeststellung, dass in der Lehre der Beilage ./J gar keine Transaktion autorisiert werde, sondern der Benutzer erst für den Zugang zum e-commerce Dienst authentifiziert werde. Bei richtiger Würdigung der Beilage ./J hätte die NA feststellen müssen, dass sich die streitpatentgemäße Anlage zumindest dadurch von der in Beilage ./J beschriebenen Anlage unterscheide, dass erstere zur Autorisierung von Transaktionen, letztere jedoch zur Authentifizierung von Benutzern eingerichtet sei.
Die Antragstellerin vermengt hier Ausführungen zur Rechtsrüge mit jenen zur Tatsachenrüge. Inwiefern das Streitpatent im Vergleich mit ./J neu und erfinderisch ist, ist eine Rechtsfrage. Wie oben bereits dargelegt, muss der Berufungswerber unter anderem angeben, welche konkrete Feststellung er bekämpft und welche Ersatzfeststellung er begehrt. Hier ist nicht mit hinreichender Deutlichkeit zu erkennen, welche Ersatzfeststellung die Antragsgegnerin begehrt.
Soweit die Patentinhaberin noch ausführt, dass die Lehre in Beilage ./J gar keine Transaktion autorisiere, sondern der Benutzer erst den Zugang zum e-commerce-Dienst authentifiziere, ist ihr entgegenzuhalten, dass die NA von der Antragsgegnerin unbekämpft festgestellt hat, dass eine Anlage für die sichere Durchführung von Transaktionen gemäß Beilage ./J, bei der die Auswerteeinheit der Anlage so eingerichtet ist, um den Sicherheitscode über ein sekundäres Netz an einen Computer als Empfangsgerät zu senden, um den Zusatzcode über ein primäres Netz an ein Mobiltelefon als Terminal zu senden und um den am Terminal eingegebenen Sicherheitscode und Zusatzcode auf Gültigkeit zu überprüfen, um eine Transaktion zu autorisieren, auch durch das Streitpatent beansprucht wird. Zusammenfassend ging die NA davon aus, dass das erfindungswesentliche Prinzip, das dem Streitpatent zu Grunde liegt, bereits im Stand der Technik gemäß Beilage ./J zur selben Problemstellung (eine Transaktion zur Durchführung zu autorisieren) angewandt worden sei, wobei das primäre Netz ein Funknetz, das sekundäre Netz das Internet, das Terminal ein Mobiltelefon und das Empfangsgerät ein Computer sei.
I.4.6. Die Antragstellerin rügt, dass die NA in der angefochtenen Entscheidung auf Seite 65 (Ziffer B.ii) festgestellt habe, dass der im Streitpatent verwendete Begriff der „Überprüfung des Zusatzcodes“ (Merkmal M1.M) weit auszulegen sei: „ Jeder der beiden eingegebenen Codes muss im Sinne eines Autorisierungscodes zumindest eine Eigenschaft aufweisen, die ihn als gültig oder als ungültig qualifiziert.“ Daraus schließe die NA fehlerhaft, dass die kryptographische Operation, welche in Beilage ./J auf die zurückgesendete signed response SRES angewandt werde, eine „Überprüfung“ im Sinne des Streitpatents sei, sodass Merkmal M1.M in Beilage ./J verwirklicht sei.
Auch hier vermengt die Antragsgegnerin die Ausführungen zur Rechtsrüge mit jenen zur Tatsachenrüge. Nur soweit die Ausführungen in der angefochtenen Entscheidung auf das Erkenntnisvermögen der einschlägigen Fachperson abstellt, liegt eine Feststellung vor, die auch von der Berufungswerberin bekämpfbar ist. Ausgehend von den Berufungsausführungen ist gerade noch erkennbar, dass die Antragsgegnerin im Gegensatz dazu festgestellt haben will, dass der Zusatzcode ohne weitere Bearbeitung (sozusagen 1:1) in der Auswerteeinheit 106 anlangt und überprüft wird.
Die NA geht aber zutreffend davon aus, dass die Überprüfung auf Gültigkeit durch eine Fachperson auf unterschiedliche Verfahren wie zum Beispiel das Challenge-Response-Verfahren vorgenommen werden kann. Das Berufungsgericht teilt die Meinung der NA, wenn sie zu Merkmal M1.M ausführt, dass die Fachperson mit der Aufgabe der Gültigkeitsprüfung nicht überfordert ist. Jeder der beiden eingegebenen Codes muss im Sinne eines Authentifizierungscodes zumindest eine Eigenschaft aufweisen, die ihn als gültig oder ungültig qualifiziert, und der jeweils eingegebene Code ist in dieser Hinsicht entsprechend zu prüfen. Die NA stellte zudem weiters fest, dass zusätzlich zu der im Streitpatent enthaltenen Lehre keine weitere Erklärung erforderlich ist zur Überprüfung des eingegebenen Sicherheitscodes und des eingegebenen Zusatzcodes durch die Auswerteeinheit.
I.4.7. Die Antragsgegnerin bekämpft weiters die auf Seite 75 im ersten Absatz ersichtliche Feststellung:
„M1.J die Auswerteeinheit weist einen zusätzlichen Codegenerator zur Erstellung eines Zusatzcodes auf, (Seite 14, Zeile 31: „The authentication server generates a RAND“, Seite 16, Zeilen 21 und 22: „... the authentication server obtains a RAND and SRES pair from the AuC in the PLMN“)“
Die Antragsgegnerin begehrt die Feststellung, dass das Tupel umfassend die Zufallszahl RAND und die kryptographisch verschlüsselte Zufallszahl SRES (Signed Response) nicht im authentication server erstellt werde.
Hier steht die Ersatzfeststellung nicht im Widerspruch zur bekämpften Feststellung, sodass die Tatsachenrüge nicht gesetzmäßig ausgeführt ist. Die NA hat die zitierten Textstellen in Beilage ./J Seite 16 Zeilen 21 bis 22 richtig wiedergegeben. Diese Textstellen stehen nicht im Widerspruch zur Ersatzfeststellung.
I.4.8. Soweit die Antragsgegnerin die Ausführungen der NA auf Seite 85 Abs 6 der angefochtenen Entscheidung rügt, ist festzuhalten, dass es sich dabei nicht um eine Feststellung, sondern um einen Teil der rechtlichen Beurteilung handelt. Weiters rügt die Antragsgegnerin noch unter Punkt f) der Berufung (Seite 30, 3. Absatz, und Seite 31, 3. Absatz) die unrichtige Anwendung des Aufgabe-Lösungs-Ansatzes als Tatsachenrügen. Die richtige Anwendung des Aufgabe-Lösungs-Ansatzes ist aber im vorliegenden Fall eine Rechtsfrage.
Die Antragsgegnerin bekämpft auch in Punkt 6.2. der Berufung die rechtliche Beurteilung der NA, dass sich der Anspruch 1 in der gemäß Hilfsantrag 4 eingeschränkten Fassung in naheliegender Weise aus einer Kombination der Beilagen ./i und ./S ergeben würde, falsch als unrichtige Tatsachenfeststellung. Auch bei den Ausführungen auf Seite 89, 1. Absatz, handelt es sich um eine rechtliche Beurteilung und nicht um Tatsachenfeststellungen (vgl Seite 34 2. Absatz der Berufung). Gleiches gilt für die in der angefochtenen Entscheidung missverständlich auf Seite 90 als Feststellung bezeichneten, der rechtlichen Beurteilung zuzuordnenden Ausführungen (vgl Punkt 6.1. der Berufung auf den Seiten 41, 42 und 43).
I.5. Zur Rechtsrüge:
I.5.1. Ein Patent ist (mit Wirkung für einen Vertragsstaat) für nichtig zu erklären, wenn der Anspruch nicht patentierbar war (Art 138 Abs 1 lit a EPÜ; § 48 Abs 1 Z 1 PatG; 4 Ob 228/18k, Glatirameracetat ), insbesondere weil er nicht neu war, nicht auf einer erfinderischen Tätigkeit beruhte oder nicht gewerblich anwendbar war (Art 52 Abs 1 EPÜ; § 1 Abs 1 PatG).
Neu ist, was nicht zum Stand der Technik gehört (Art 54 Abs 1 EPÜ; § 3 Abs 1 Satz 1 PatG). Den Stand der Technik bildet alles, was der Öffentlichkeit vor dem Prioritätstag der Anmeldung durch schriftliche oder mündliche Beschreibung, durch Benützung oder in sonstiger Weise zugänglich gemacht worden ist (Art 54 Abs 2 EPÜ; § 3 Abs 1 Satz 2 PatG). Bei der Neuheitsprüfung gilt als Stand der Technik auch der Inhalt von prioritätsälteren europäischen Patentanmeldungen, die erst am Prioritätstag der jüngeren Anmeldung oder danach veröffentlicht wurden (Art 54 Abs 3 EPÜ; § 3 Abs 2 Z 4 PatG).
Nach der ständigen Rechtsprechung der Beschwerdekammern des EPA fehlt es an der Neuheit nur im Falle einer „expliziten oder impliziten, unmittelbaren und eindeutigen Offenbarung im Stand der Technik“, welche die Fachperson „zwangsläufig zu Gegenständen führt, die in den Geltungsbereich der Ansprüche fallen“. „Implizit“ ist eine Offenbarung, die jede Fachperson „objektiv als sich aus dem expliziten Inhalt zwangsläufig ergebend ansieht“ (zum Beispiel T 1126/17 vom 12.1.2022 mwN). Zum Offenbarungsgehalt des Stands der Technik gehören demnach auch Merkmale, die die Fachperson „miterfasst“ (zum Beispiel T 1062/20 vom 30.11.2021). Es muss aber für die Fachperson „sofort erkennbar“ sein, dass „nichts anderes als das angebliche implizite Merkmal Teil des offenbarten Gegenstands war“ (zum Beispiel T 95/97 vom 18.3.1999; T 51/10 vom 24.3.2015).
Eine erfinderische Tätigkeit liegt vor, wenn sich die Neuerung für die Fachperson nicht in naheliegender Weise aus dem Stand der Technik ergibt (Art 56 Satz 1 EPÜ; § 1 Abs 1 PatG). Die erfinderische Tätigkeit fehlt aber nicht schon dann, wenn die Fachperson aufgrund des Stands der Technik zur Erfindung gelangen hätte können, sondern erst dann, wenn sie die Erfindung aufgrund eines hinreichenden Anlasses in Erwartung einer Verbesserung oder eines Vorteils auch tatsächlich vorgeschlagen hätte („could-would-approach“).
Diese Prüfung kann insbesondere nach dem Aufgabe-Lösungs-Ansatz erfolgen, der sich in drei Phasen gliedert: a) Ermittlung des „nächstliegenden Stands der Technik“, b) Bestimmung der zu lösenden „objektiven technischen Aufgabe“ und c) Prüfung der Frage, ob die beanspruchte Erfindung angesichts des nächstliegenden Stands der Technik und der objektiven technischen Aufgabe für die Fachperson naheliegend gewesen wäre (stRsp, etwa 4 Ob 17/15a, Gleitlager; 4 Ob 80/18w, Wischkopf ; 4 Ob 228/18k, Glatirameracetat ). Die objektive technische Aufgabe besteht allgemein darin, durch eine Änderung oder Anpassung des nächstliegenden Stands der Technik die technischen Effekte oder Wirkungen zu erzielen, welche die Erfindung von ihm unterscheiden ( Wildhack / Groß / Müller-Huber in Stadler/Koller, PatG Nach § 3 (1) Rz 52, 59).
Ob der Gegenstand eines Patents neu und erfinderisch ist, ist grundsätzlich eine Rechtsfrage (RS0123155 [T3] zur erfinderischen Tätigkeit). Die Beurteilung hängt aber auch von der Tatfrage ab, welches Fachwissen die Fachperson auf dem betreffenden Gebiet hat (RS0071399 zur erfinderischen Tätigkeit).
I.5.2. Die Antragsgegnerin wendet sich gegen die Einschätzung der NA, dass ./J neuheitsschädlich sei.
Dazu ist auszuführen:
Die Auslegung des Begriffs „Terminal“ im Streitpatent ergibt unter Beiziehung der Beschreibung und von Fig. 2, dass am Terminal auch die Eingabe der Benutzerkennung erfolgt. In Absatz [0022] findet sich die Passage: „ Der Benutzer wird aufgefordert, seine Benutzerkennung ... in das Terminal einzugeben“ und ist in Fig. 2 Bezugsziffer 202 ersichtlich. Wie aus aus Beilage ./J Fig. 8 hingegen hervorgeht, erfolgt die Benutzerkennung am „User_PC“ mit „Request_Identity“ und „Response_Identity“, welche der Zuordnung durch die NA mit „User_PC“ als „“Empfangsgerät“ nicht entspricht. Die von der NA vorgenommene Entsprechung „User_PC“ als „Empfangsgerät“ bzw „MS“ als „Terminal“ ist damit nicht zutreffend und die Neuheit des Streitpatents gegenüber der Vorveröffentlichung ./J gegeben.
Ein weiteres Argument, dass die Vorveröffentlichung ./J nicht neuheitschädlich ist, liegt darin, dass sich das Streitpatent auf eine Autorisierung bezieht und die Vorveröffentlichung ./J auf eine Authentifizierung. Diese Unterscheidung deutet eben auf eine gegebene Neuheit hin, wobei in der Vorveröffentlichung ./J Seite 9, Zeilen 9-12, richtigerweise auch festgehalten ist, dass die Verfahren im Prinzip gleich sind: „ A user identity authentication operation verifies that service is provided only to a limited and controllable set of users, whereas the authorization operation verifies that a limited and controllable set of resources are provided to the proper users. In principle, getting access to a network is similar to getting access to any particular application server ...”
I.5.3. Ausgehend von der Vorveröffentlichung ./J erachtet das Berufungsgericht jedoch das Streitpatent aus nachstehenden Erwägungen als nicht erfinderisch:
Eine Durchschnittsfachkraft würde in ./J ein bekanntes Challange-Response-Verfahren zur Überprüfung einer Eingabe, welches bereits ein ausgereiftes Verfahren ist, sehen. Einfachere Überprüfungsverfahren – wie eine simple (Rück-)Übertragung der Nachricht mit einem SOLL/IST-Vergleich – sollten daher einer Durchschnittsfachkraft bekannt sein. Zusammenfassend kann gesagt werden, dass der Austausch eines Verfahrens durch ein anderes bekanntes Verfahren erfolgt.
Im Handeln einer Durchschnittsfachkraft liegt es auch, Vereinfachungen, wie beispielsweise ein Zusammenfassen von einzelnen Komponenten zu einer einzigen, unter anderem zum besseren Verstehen eines Ablaufdiagramms, durchzuführen. Ausgehend vom Ablauf in Fig. 8 des Dokuments ./J führt diese simple Vereinfachung (Zusammenfassung der Module zu einer Auswerteeinheit) zu folgendem Ablaufdiagramm:

Im Streitpatent gibt die Patentinhaberin an, dass das Empfangsgerät unter anderem auch ein FAX-Gerät oder ein Sprachausgabegerät sein könnte. Ein Sprachausgabegerät weist jedoch keinen Rückkanal zur Übermittlung der Antwort (4) auf, um diese gemäß der Vorveröffentlichung ./J zu verwenden. In diesem Zusammenhang ist darauf hinzuweisen, dass das Streitpatent sich nur mit einer Vorrichtung beschäftigt und keine Verfahrensansprüche enthält.
Die Antragsgegnerin stellt in ON 10 (vgl Seite 9 im dritten Absatz) zum Sprachausgabegerät (108) selbst klar:
„[...] Im Streitpatent vorgesehene Empfangsgeräte sind in Fig. 1 mit dem Bezugszeichen 108 dargestellt, u.a. ein Sprachausgabegerät (Lautsprecher). Ein Sprachausgabegerät, welches allein eine Ausgabe bewirken kann, aber nicht zum Senden geeignet ist, kann [...]“
Die Durchschnittsfachkraft kennt nun dieses vereinfacht dargestellte Ablaufdiagramm und hat im Empfangsgerät nur eine Empfangs- aber keine Sendemöglichkeit (Rückkanal) zur Verfügung. Für eine Durchschnittsfachkraft wäre es naheliegend, die beiden Akteure für die drei Schritte (2 bis 4) zu vertauschen, da kein Rückkanal zur Verfügung steht. Der Tausch würde zu folgendem Diagramm führen, welches dem Ablaufdiagramm des Streitpatents entspricht:

Es handelt sich um eine einfache triviale Maßnahme, welche der Intention des Streitpatents entspricht.
Die erfinderische Tätigkeit beim Anspruch 1 ist nicht gegeben.
I.5.4. Zu den Hilfsanträgen:
Vorauszuschicken ist, dass das Berufungsgericht die bekämpfte Begründung der angefochtenen Entscheidung im Zusammenhang mit den Hilfsanträgen für zutreffend hält, sodass zunächst darauf verwiesen werden kann (§ 526 Abs 3 iVm § 500a ZPO).
Wie schon die NA zum 1. Hilfsantrag zutreffend ausführte, wird durch diesen Hilfsantrag Anspruch 1 des Streitpatents insofern eingeschränkt, als der Sicherheitscode und der Zusatzcode als Teil der laufenden Transaktionsdaten erzeugt werden. Dadurch soll deutlicher gemacht werden, dass sowohl der Zusatzcode als auch der Sicherheitscode jedenfalls transaktionsbezogen sind. Bereits bei der Beurteilung des Streitpatents mit unverändertem Schutzbegehren wurde davon ausgegangen, dass sowohl der Sicherheitscode als auch der Zusatzcode als transaktionsspezifische und sicherheitsrelevante Autorisierungscodes auszulegen sind.
Da sich durch diese Einschränkung auch keine weiteren zusätzlichen technische Wirkungen ergeben, kann ein gemäß dem 1. Hilfsantrag eingeschränkter Patentanspruch 1 die Rechtsbeständigkeit des Streitpatents nicht begründen.
Durch den 2. Hilfsantrag wird Anspruch 1 des Streitpatents insofern weiter eingeschränkt, als die Auswerteinheit mit dem Terminal über ein primäres Netz gesichert und verschlüsselt verbunden ist. Der Begriff „gesichert und verschlüsselt verbunden“ ist – wie schon die NA ausführt – dahingehend auszulegen, dass das Terminal und die Auswerteinheit durch eine Ende-zu-Ende-Verbindung durch das primäre Netz verbunden sind, wobei die Kommunikation auf dieser Verbindung zwischen dem Terminal und der Auswerteinheit gegen unerwünschtes Abhören durch Dritte mittels einer Verschlüsselungsmethode gesichert ist.
In Beilage ./J (Seite 10, Zeilen 14 bis 27) ist bereits die Verwendung einer verschlüsselten Ende-zu-Ende-Verbindung zwischen Terminal und Auswerteinheit als sicherheitsfördernde Maßnahme angesprochen, sodass sich durch diese Einschränkung nichts Erfinderisches gewinnen lässt.
Folglich ist festzustellen, dass auch der 2. Hilfsantrag die Rechtsbeständigkeit des Streitpatents nicht begründen kann. Der 3. Hilfsantrag ist nur eine Kombination der Einschränkungen gemäß dem 1. und dem 2. Hilfsantrag. Da keine zusätzliche technische Wirkung in der Kombination der einschränkenden Maßnahmen des 1. und des 2. Hilfsantrages ersichtlich ist, mangelt es auch dem eingeschränkten Patentanspruch 1 gemäß 3. Hilfsantrag an Rechtsbeständigkeit.
Zu Hilfsantrag 4. ist auszuführen, dass darin der Anspruch 1 des Streitpatents insofern eingeschränkt wird, als es sich beim Terminal um einen „virtuellen Terminal auf einem Personalcomputer“ handelt, beim Empfangsgerät um „ein Mobiltelefon“, beim primären Netz um „das Internet“ und beim sekundären Netz um „ein Funknetz“.
Der Begriff „virtuelles Terminal auf einem Personalcomputer“ im eingeschränkten Patentanspruch 1 ist allgemein als Personalcomputer mit einem virtuellen Terminal auf HTML Basis auszulegen, wobei unter diesem Begriff beispielsweise ein Personalcomputer mit einem Internet Browser zu verstehen ist.
Im Streitpatent finden sich in den Absätzen [0019] und [0020] sowohl für das primäre als auch für das sekundäre Netz die identen Beispiele LAN, WAN, MAN, Internet, Extranet oder Funknetz. Daraus kann geschlossen werden, dass es keine spezifischen Anforderungsunterschiede zwischen dem primären und dem sekundären Netz gibt. Ergänzend ist auszuführen, dass gemäß Beilage ./J das Terminal auch als ein WAP-fähiges Mobiltelefon mit einem WAP Browser ausgeführt sein kann (Seite 22, Zeile 13: „MS containing a WAP browser“).
Ferner kann das „access network“, über welches der „user_PC“ angeschlossen ist, auch ein Funknetz sein, das als drahtloses Zugangsnetz zum Internet dient (Beilage ./J, Seite 8, Zeilen 6 bis 9).
Auch Hilfsantrag 4 kann die Rechtsbeständigkeit des Streitpatents damit nicht begründen.
I.5.5. Die Berufung der Antragsgegnerin bleibt somit erfolglos.
Mit Blick auf die Berufungsanträge ist zu prüfen, welche Folgen sich daraus für das Streitpatent ergeben. Die Antragsgegnerin hat beantragt, (1) das Streitpatent im vollen Umfang aufrecht zu erhalten; in eventu hat sie beantragt, (2) das Streitpatent im Umfang eines der vorgebrachten Hilfsanträge, „insbesondere des Hilfsantrags 4“ aufrecht zu erhalten (aus der gewählten Formulierung „aufzuheben und derart abzuändern, dass ...“ lässt sich nicht ableiten, dass isoliert betrachtet die reine Aufhebung der angefochtenen Entscheidung beantragt wird). Obwohl das unveränderte Fortbestehen der angefochtenen Entscheidung nun mit keinem der Berufungsanträge vereinbar ist, die Antragsgegnerin dieses unveränderte Fortbestehen somit nicht beantragt hat, hat das nicht zur Folge, dass die Erfolglosigkeit der Berufung zur Löschung des Patents in jener Form führen würde, wie es nun dem Spruch der Entscheidung der NA entspricht. Schließlich hat die Antragsgegnerin nicht den weiteren Eventualantrag gestellt, das Streitpatent zu löschen, wenn ihre Berufungsanträge (1) und (2) erfolglos sind. Dennoch das Patent zu löschen, würde das Verschlechterungsverbot verletzen.
Dass der Berufung der Antragsgegnerin nicht Folge gegeben wird, bewirkt somit (unvorgreiflich des allfälligen Erfolgs der Berufung der Antragstellerin), dass die Entscheidung der NA unverändert bestehen bleibt.
I.6. Die Kostenentscheidung für dieses Berufungsverfahren beruht auf §§ 122 Abs 1, 141 Abs 2 PatG iVm den §§ 41, 50 ZPO. Antragstellerin steht der Ersatz der Kosten der Berufungsbeantwortung zu.ntragstellntragstell.
I.7. Der Ausspruch über den Wert des Entscheidungsgegenstands beruht auf § 500 Abs 2 Z 1 ZPO und ergibt sich aus der Bedeutung von Patentansprüchen im Wirtschaftsleben.
I.8. Die ordentliche Revision war nicht zuzulassen, weil keine Rechtsfrage von der in § 502 Abs 1 ZPO geforderten Qualität zu lösen war.
II. Zur Berufung der Erstantragstellerin
Soweit in der Folge vom „Gericht“ die Rede ist, treffen die Überlegungen auch auf die NA zu.
II.1. Die Erstantragstellerin (in der Folge auch „Antragstellerin“) rügt in der Rechtsrüge und als wesentlichen Verfahrensmangel, dass die NA das Streitpatent im Umfang der erteilten Patentansprüche 1, 5 und 6 aufrecht erhalten hat. Damit habe die NA gegen § 405 ZPO verstoßen. Dem Patentinhaber stehe nur die Möglichkeit zu, Hilfsanträge in eingeschränkter Fassung zu stellen, nur darüber habe die NA zu entscheiden. Die Erstantragstellerin habe von den Gründen der NA für die Aufrechterhaltung des abhängigen Anspruchs 6 erstmals durch die angefochtene Entscheidung erfahren. Im Berufungsverfahren stehe neuem Vorbringen aber das Neuerungsverbot entgegen, womit ihr rechtliches Gehör verletzt worden sei.
Dazu ist auszuführen:
II.2.1. Der Nichtigkeitsgrund des § 477 Abs 1 Z 4 ZPO schützt den Anspruch einer Partei auf rechtliches Gehör; dieser stellt aber nicht schlechthin alle Verletzungen des rechtlichen Gehörs unter Nichtigkeitssanktion. Er schützt den Anspruch auf rechtliches Gehör nur in der besonderen Erscheinungsform der gesetzwidrigen Verhinderung der Möglichkeit, vor Gericht zu verhandeln ( Pimmer aaO § 477 ZPO Rz 43; Kodek in Rechberger / Klicka 5 § 477 ZPO Rz 20). Dass die Antragstellerin gesetzwidrig gehindert worden sei zu verhandeln, behauptet sie in ihrer Berufung nicht, und es ergibt sich im übrigen auch nicht aus dem erstinstanzlichen Akt.
Zutreffend führt der Antragstellerin zwar aus, dass die NA – würde man die Rechtsprechungspraxis des europäischen Patentamts heranziehen – gehalten gewesen wäre, die Beständigkeit des Streitpatents nur im Rahmen der Anträge zu prüfen, die die Patentinhaberin zur Verteidigung gestellt hat. In diesem Fall wäre nur zu prüfen gewesen, ob das Streitpatent in der eingetragenen Fassung oder in der Fassung einer der Hilfsanträge rechtsbeständig ist. Ohne einen ausdrücklich darauf gerichteten Antrag der Antragsgegnerin wäre es der NA nicht freigestanden, aus eigenem eine Fassung des Streitpatents herzustellen, die sich zwar aus Unteransprüchen ergibt, die aber keinem Antrag der Antragsgegnerin entspricht.
Dass die NA beim Vorliegen von Hilfsanträgen die Rechtsbeständigkeit (nur) auf deren Grundlage zu prüfen hat, also an die Anträge der das Patent verteidigenden Inhaberin gebunden ist, hat das OLG Wien zuletzt in 33 R 18/22t, Pendelscharnier, festgehalten (zust Beetz, ÖBl 2023/26, 85). Das OLG Wien hielt in dieser – nach der mündlichen Verhandlung im hier vorliegenden Verfahren ergangenen – Entscheidung vom 10.11.2022 fest, dass zur Sicherstellung einer harmonisierten Auslegung der patentrechtlichen Schutzanforderungen auch auf die Rechtsprechung des EPA zurückgegriffen werde (4 Ob 119/20h [2.], 4 Ob 167/20t). Eine europäisch einheitliche Beurteilung trage dem Ziel einer harmonisierten Schutzrechtsausübung Rechnung. Dem österreichischen Patentgesetz fehle zwar eine dem Art 138 Abs 3 letzter Satz EPÜ vergleichbare Norm, doch erfordere eine harmonisierte Auslegung, die Prüfung auf die Hilfsanträge zu beschränken, die der Patentinhaber vorlege, wenn das Streitpatent in der erteilten Form nicht aufrechterhalten werden könne.
II.2.2. Die gewählte Vorgangsweise hat somit letztlich das rechtliche Gehör verletzt, aber nicht jenes der Antragstellerin, sondern jenes der Antragsgegnerin. Letztere hat dies aber in ihrem Rechtsmittel nicht geltend gemacht. Durch die Verletzung des rechtlichen Gehörs der Antragsgegnerin ist die Antragstellerin nicht beschwert, weshalb sie dies auch in der Berufung nicht geltend machen kann.
Auf die Frage, ob das Verfahren dadurch zu Lasten der Antragstellerin mangelhaft geblieben ist, wird sogleich einzugehen sein.
II.2.3. Die Antragstellerin trägt vor, die NA habe ein Aliud zugesprochen. Von einem Aliud spricht man, wenn der Kläger (Antragsteller) etwas begehrt und etwas anderes zugesprochen bekommt. Wenn das Zugesprochene über das Begehrte hinausgeht, spricht man von einem Plus. Wenn das Zugesprochene nicht eine Teilmenge des Begehrten ist, sondern sich vom Begehrten unterscheidet, liegt ein Aliud vor. Wenn das Zugesprochene nur hinter dem Begehrten zurückbleibt, liegt ein Minus vor. Der Zuspruch eines Minus verletzt § 405 ZPO nicht.
Die Frage, ob ein Aliud oder ein Minus anzunehmen ist, ergibt sich somit aus dem Vergleich zwischen dem gestellten Begehren und dem unter Berücksichtigung der rechtserzeugenden Tatsachen für berechtigt erachteten Anspruch (RS0041023). Abzustellen ist auf das Begehren und den übrigen Inhalt des Antrags (vgl RS0041078; RS0037485 [T12]).
Im hier zu entscheidenden Fall liegt ein Minus vor. Die Antragstellerin hat die gänzliche Löschung des Streitpatents beantragt. Mit diesem Antrag war sie erfolglos, allerdings wurde das Streitpatent in einem eingeschränkten Umfang aufrechterhalten. Dass der Schutzbereich des Streitpatents in der von der NA gewählten Fassung jenen der ursprünglichen Fassung überschreiten würde, trägt die Antragstellerin in der Berufung nicht vor. Dass Unteransprüche ein erteiltes Patent statt es einzuschränken erweitern, ist auch nicht zu vermuten.
II.2.4. Die Verletzung der richterlichen Anleitungspflicht kann eine Mangelhaftigkeit des Verfahrens begründen (RS0037095). Das Gericht darf die Parteien in seiner Entscheidung nicht mit einer Rechtsauffassung überraschen, die sie nicht beachtet haben und auf die sie das Gericht nicht aufmerksam gemacht hat (RS0037300). Das Verbot von Überraschungsentscheidungen bedeutet aber nicht, dass das Gericht seine Rechtsansicht vor der Entscheidung kundtun muss; anderes gilt, wenn rechtserhebliche Tatsachen nicht vorgebracht wurden (RS0122749).
Anzumerken ist, dass die Antragstellerin schon im Löschungsantrag vorgetragen hat, dass die Unteransprüche 2 bis 6 zur Rechtsbeständigkeit des Streitpatents nichts beitragen. In der mündlichen Verhandlung vor der NA wurden die Unteransprüche 5 und 6 auch erörtert (s Seite 13 des Protokolls). Ob die Antragstellerin damit rechnen hätte müssen, dass die NA die Rechtsbeständigkeit des Streitpatents auch mit Rücksicht auf die Unteransprüche prüft, oder ob sie dadurch überrascht wurde, kann jedoch hier aus folgenden Gründen offen bleiben:
Der Anfechtungsgrund der „Überraschungsentscheidung“ ist nämlich nur gegeben, wenn der Verstoß gegen ein Verfahrensgesetz auch abstrakt geeignet war, eine erschöpfende Erörterung und gründliche Beurteilung der Streitsache zu hindern (RS0043049). Der Rechtsmittelwerber hat diese Eignung darzutun und vorzutragen, welches zusätzliche oder andere Vorbringen er erstattet hätte, wenn er durch die geplante Vorgangsweise nicht überrascht worden wäre, sondern wenn er sie hätte erwarten müssen oder können (vgl RS0037300 [T48], RS0037095 [T4, T5]). Daran hindert ihn auch das im Berufungsverfahren geltende Neuerungsverbot nicht.
Diesen Vorgaben entspricht die Verfahrensrüge der Antragstellerin nicht, weil sie nicht vorträgt, welches Vorbringen sie erstattet hätte, hätte die NA ihre Rechtsansicht erörtert. Eine Mangelhaftigkeit liegt daher nicht vor.
Hiebei kann sich die Antragstellerin auch nicht darauf berufen, der Mangel bestehe schon allein darin, dass die NA ein nicht von der Antragsgegnerin beantragtes Minus bestehen hat lassen. Denn bei der Frage, ob der Verfahrensmangel relevant war, ist nicht nur zu prüfen, wie sich die Antragstellerin, sondern auch, wie sich die Antragsgegnerin hätte verhalten können, wenn die Absicht angekündigt worden wäre, das Patent in jener Form aufrechtzuerhalten, die die NA letztlich gewählt hat. In diesem Fall wäre darauf Bedacht zu nehmen, dass die Antragsgegnerin diese Absicht der NA mit einem (weiteren) Hilfsantrag hätte absichern können; in diesem Fall wäre der Antragstellerin Zeit und Gelegenheit zu geben gewesen, ihr Vorbringen dem anzupassen. Wäre das der Antragsteller nicht ermöglicht worden, läge ein die Antragstellerin belastender Verfahrensmangel vor, dessen Relevanz sie aber in der Berufung darzutun hätte: Auch bei diesem gedachten Verlauf wäre sie gehalten gewesen, in der Berufung den Inhalt des Vorbringens darzutun (an dem sie gehindert worden ist), um die Relevanz dieses Vorbringens zu belegen.
Diesem Erfordernis genügt die Berufung der Antragstellerin nicht; vielmehr wendet sich die Antragstellerin inhaltlich nicht gegen die Entscheidung der NA, sondern führt nur ins Treffen, die Prüfung der NA hätte sich auf die Hilfsanträge beschränken müssen. Die Mängelrüge ist damit nicht gesetzmäßig ausgeführt.
Die Berufung der Antragstellerin bleibt erfolglos.
II.3. Die Kostenentscheidung für das Berufungsverfahren beruht auf §§ 122 Abs 1, 141 Abs 2 PatG iVm den §§ 41, 50 ZPO. Umsatzsteuer wurde nicht verzeichnet.
II.4. Der Ausspruch über den Wert des Entscheidungsgegenstands beruht auf § 500 Abs 2 Z 1 ZPO und ergibt sich aus der Bedeutung von Patentansprüchen im Wirtschaftsleben.
II.5. Die ordentliche Revision war nicht zuzulassen, weil keine Rechtsfrage von der in § 502 Abs 1 ZPO geforderten Qualität zu lösen war. Sowohl zur Frage, wie ein Aliud von einem Minus abzugrenzen ist, als auch zur Frage, welcher Berufungsvortrag zur Belegung der Relevanz eines Verfahrensmangels nötig ist, hat sich das Berufungsgericht an der etablierten Judikatur orientiert.
III. Zum Kostenrekurs der Antragstellerinnen
III.1. Die Antragstellerinnen bringen vor, dass das Aufrechterhalten der Merkmalkombination wirtschaftlich und technisch vollkommen bedeutungslos sei. Dies komme dadurch zum Ausdruck, dass Anspruch 6 von der Antragsgegnerin nicht eigenständig im Verfahren verteidigt worden sei. Die Antragstellerinnen seien daher mit weniger als 10 % unterlegen. Teile man den Antrag auf vollständige Nichtigerklärung des Streitpatents in die auf Seite 4 und 5 des Rekurses ersichtlichen Haupt- und Eventualbegehren auf, so obsiegten die Antragstellerinnen mit 9/10, zumindest jedoch mit 5/6.
III.2. Dringt ein Antragsteller nur mit einem Teil seines Begehrens durch, wendet die Rechtsprechung die Prinzipien des § 43 Abs 1 Satz 1 ZPO an. Handelt es sich um Ansprüche, die nicht in Geld bestehen und deren Verhältnis sich nicht eindeutig rechnerisch bemessen lässt, hat das Gericht das Verhältnis des erfolgreichen und des abgewiesenen Begehrens nach freiem Ermessen zu bestimmen (RS0035831). Dabei kommt dem Gericht ein erheblicher Beurteilungsspielraum zu. Im Zuge dieser Beurteilung sind vor allem die unterschiedliche rechtliche und wirtschaftliche Bedeutung der jeweiligen Teilbegehren von Bedeutung, aber auch der jeweilige Verfahrensaufwand (RS0035831; Weiser , PatG³ § 122 mwN; Stadler / Gehring , PatG § 122 Rz 19). Die Rechtsprechung tendiert dazu, auch bei nicht auf Geld lautenden Begehren für die Ermittlung des Prozesserfolges – und damit der anteilsmäßigen Kostenersatzpflicht – das Verhältnis der formellen Streitwerte zueinander heranzuziehen, was aber jedenfalls dann nicht möglich ist, wenn ein einheitlich bewertetes Begehren nur zum Teil erfolgreich ist; hier geht die Judikatur oft „mangels anderer Anhaltspunkte“ von einer Gleichwertigkeit von Obsiegen und Unterliegen aus ( M. Bydlinski in Fasching / Konecny 3 § 43 ZPO Rz 2).
III.3 . Im vorliegenden Fall beantragten die Antragstellerinnen das Streitpatent zur Gänze für nichtig zu erklären. Dass die Antragsgegnerin diesem Antrag (erfolglos) Hilfsanträge entgegenhielt, um die Nichtigerklärung des Streitpatents zu verhindern, bleibt im vorliegenden Fall für die Frage des Ausmaßes des Obsiegens der Antragstellerinnen mit ihrem Antrag ohne Bedeutung.
Die Antragstellerinnen unterlagen mit ihrem Antrag teilweise, weil die NA das Streitpatent im oben ersichtlichen Umfang aufrecht erhalten hat. Dass dem eingeschränkten Streitpatent keine wirtschaftliche Bedeutung zukommt, wird von den Antragstellerin zwar behauptet, sie legen dies im Rekurs aber nicht näher dar. Das die NA den ihr eingeräumten Ermessensspielraum überschritten hätte, konnten die Antragstellerinnen nicht nachvollziehbar darlegen.
Dem Rekurs war daher der Erfolg zu versagen.
III.4. Die Entscheidung über die Kosten des Rekursverfahrens beruht auf den §§ 41 und 50 ZPO sowie 11 RATG. Die Kostenrekursbeantwortung ist nach TP 3A RATG zu honorieren, nicht nach TP 3B; insoweit waren die verzeichneten Kosten zu korrigieren.
Der Ausspruch über die Unzulässigkeit des Revisionsrekurses beruht auf § 528 Abs 2 Z 3 ZPO.
Rückverweise
Keine Verweise gefunden