Das Oberlandesgericht Wien hat als Berufungsgericht durch den Senatspräsidenten Dr. Hinger als Vorsitzenden sowie den Richter Dr. Schober und den Patentanwalt DI Dr. Poth in der Patentsache der Antragstellerin S***** , vertreten durch die Haffner und Keschmann Patentanwälte GmbH in Wien, gegen die Antragsgegnerin A***** , vertreten durch die Patentanwälte Pinter und Weiss OG in Wien, wegen Nichtigkeit des Patents AT 515252 „Pendelscharnier“ über die Berufung der Antragstellerin gegen die Entscheidung der Nichtigkeitsabteilung des Patentamts vom 21.9.2021, N 13/2020 4, in nichtöffentlicher Sitzung den
Beschluss
gefasst:
Die im Berufungsverfahren eingebrachten Schriftsätze werden, soweit sie über die Berufung und die Berufungsbeantwortung hinausgehen, zurückgewiesen (Schriftsatz der Antragstellerin vom 30.3.2022 „Erwiderung auf die Berufungsbeantwortung“; Schriftsatz der Antragsgegnerin vom 3.5.2022).
Der Berufung wird Folge gegeben, die angefochtene Entscheidung wird aufgehoben und der Nichtigkeitsabteilung wird eine neuerliche Entscheidung nach Verfahrensergänzung aufgetragen.
Die Kosten des Berufungsverfahrens sind weitere Verfahrenskosten.
B egründung
1. Der Antrag richtet sich gegen das Patent AT 515252 B1 , angemeldet am 17.12.2014, veröffentlicht am 15.1.2018, „ Pendelscharnier “ (in der Folge: „Streitpatent“), das folgende Ansprüche enthält:
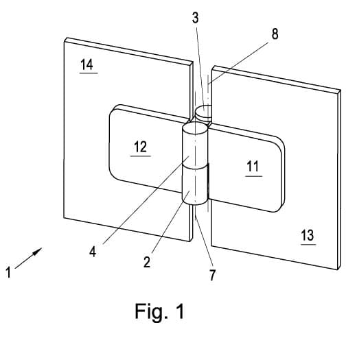
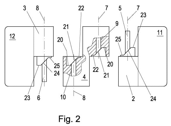
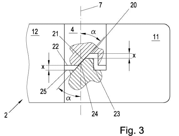
1. Scharnier (1) mit einem inneren Scharnierteil (2) und einem damit verbundenen inneren Befestigungsteil (11), mit einem äußeren Scharnierteil (3) und einem damit verbundenen äußeren Befestigungsteil (12), mit einem die beiden Scharnierteile (2, 3) verbindenden Mittelteil (4), wobei der innere Scharnierteil (2) und der Mittelteil (4) zur Ausbildung einer inneren Drehachse (7) durch einen inneren Scharnierbolzen (5) miteinander drehbar verbunden sind und der äußere Scharnierteil (3) und der Mittelteil (4) zur Ausbildung einer äußeren Drehachse (8) durch einen äußeren Scharnierbolzen (6) miteinander drehbar verbunden sind, dadurch gekennzeichnet, dass zumindest einer der beiden Scharnierteile (2, 3) zur Ausbildung von zwei axial versetzten Stirnflächen (23, 25) im Bereich der Drehachse 7, 8 axial abgestuft ist, wobei die zwei axial versetzten Stirnflächen (23, 25) durch eine Gleitfläche (24) miteinander verbunden sind und die Gleitfläche (24) gegenüber der jeweiligen Drehachse (7,8) in einem Winkel (α) geneigt ist, dass der Mittelteil (4) zur Ausbildung von zumindest zwei Gegenstirnflächen (20, 22) im Bereich der Drehachse 7, 8 axial abgestuft ist, wobei die zwei axial versetzten Gegenstirnflächen (20, 22) durch eine Gegengleitfläche (21) miteinander verbunden sind und die Gegengleitfläche (21) gegengleich zur Gleitfläche (24) ausgerichtet ist, und dass die Gleitfläche (24) und die Gegengleitfläche (21) zusammenwirkend aneinander liegend und aneinander abgleitend angeordnet sind und dass zwischen den zwei Stirnflächen (23, 25) und den zwei Gegenstirnflächen (20, 22) in einer Nullstellung des Scharniers (1) ein Spalt (X) vorgesehen ist.



2. Scharnier (1) nach Anspruch 1, dadurch gekennzeichnet, dass die zwei axial versetzten Stirnflächen (23, 25) zumindest eines Scharnierteils (2, 3) durch zumindest eine weitere Gleitfläche (124) miteinander verbunden sind und die weitere Gleitfläche (124) gegenüber der jeweiligen Drehachse (7, 8) mit entgegengesetzter Orientierung wie die Gleitfläche (24) geneigt ist, dass am Mittelteil (4) eine gegengleiche weitere Gegengleitfläche (121) vorgesehen ist und dass bei einer Relativbewegung zwischen zumindest einem Scharnierteil (2,3) und dem Mittelteil (4) entweder eine Stirnfläche (23) zumindest eines Scharnierteils (2,3) und eine Gegenstirnfläche (22) des Mittelteils (4) oder die Gleitfläche (24) und die Gegengleitfläche (21) und weiters die weitere Gleitfläche (124) und die weitere Gegengleitfläche (121) zusammenwirkend aneinander liegend und aneinander abgleitend angeordnet sind.
3. Scharnier (1) nach einem der Ansprüche 1 oder 2, dadurch gekennzeichnet, dass die Stirnfläche (23) zumindest eines Scharnierteils (2, 3) eine Ausformung (74) und eine Gegenstirnfläche (22) des Mittelteils (4) eine Gegenausformung (71) aufweist und die Ausformung (74) und die Gegenausformung (71) bei einer Verdrehung um die jeweilige Drehachse (7, 8) um einen bestimmten Winkel, lösbar ineinander rasten.
4. Scharnier (1) nach einem der Ansprüche 1 bis 3, dadurch gekennzeichnet, dass an zumindest einem Scharnierteil (2, 3) eine von der Gleitfläche (24) beabstandete Verbindungsfläche zwischen den beiden Stirnflächen (23) und (25) als Anschlag (84) und am Mittelteil (4) eine gegengleiche, von der Gegengleitfläche (21) beabstandete Verbindungsfläche zwischen den beiden Gegenstirnflächen (20) und (22) als Gegenanschlag (81) ausgeführt ist.
5. Scharnier (1) nach einem der Ansprüche 1 bis 4, dadurch gekennzeichnet, dass der innere Scharnierteil (2) und der äußere Scharnierteil (3) gemäß der vorangegangenen Ansprüche ausgeführt ist.
6. Scharnier (1) nach einem der Ansprüche 1 bis 5, dadurch gekennzeichnet, dass zumindest einer der beiden Scharnierteile (2,3) und/oder der Mittelteil (4) eine, zur jeweiligen Drehachse (7, 8) koaxiale Bohrung (36) aufweist, in welche ein Einsatzteil (54) mit den Stirnflächen (23, 25) und der Gleitfläche (24) und/oder der weiteren Gleitfläche (124) und/oder der Ausformung (74) und/oder dem Anschlag (84) oder ein Gegeneinsatzteil (51) mit den Gegenstirnflächen (20, 22) und der Gegengleitfläche (21) und/oder der weiteren Gegengleitfläche (121) und/oder der Gegenausformung (71) und/oder dem Gegenanschlag (81) eingesetzt ist.
7. Scharnier (1) nach Anspruch 6, dadurch gekennzeichnet, dass der Einsatzteil (54) und/oder der Gegeneinsatzteil (51) zumindest eine radiale Umfangsfläche (26) mit einer sich in Richtung der jeweiligen Drehachse (7, 8) axial erstreckenden Erhebung (250) und/oder einer radialen Abflachung (251) aufweist und die koaxiale Bohrung (36) zur Bildung einer Verdrehsicherung entsprechend gegengleich ausgeführt ist.
8. Scharnier (1) nach einem der Ansprüche 6 und 7, dadurch gekennzeichnet, dass der Einsatzteil (54) und/oder der Gegeneinsatzteil (51) zumindest eine radiale Umfangsfläche (26) mit zumindest einer radial abstehenden Erhebung (27) aufweist.
9. Scharnier (1) nach einem der Ansprüche 6 bis 8, dadurch gekennzeichnet, dass der Einsatzteil (54) oder der Gegeneinsatzteil (51) entlang der jeweiligen Drehachse (7, 8) in der Bohrung (36) verschiebbar angeordnet ist.
10. Verwendung des Scharniers (1) nach einem der Ansprüche 1 bis 9, bei einer beidseitig schwenkbaren Türe, wobei der innere Befestigungsteil (11) des inneren Scharnierteils (2) mit einem ersten Element (13), und der äußere Befestigungsteil (12) des äußeren Scharnierteils (3) mit einem zweiten Element (14) verbunden ist.
1.1. Anspruch 1 enthält somit folgende Merkmale (in der Fassung der angefochtenen Entscheidung; in der Folge wird auf diese Auflistung Bezug genommen):
M1 Scharnier (1) mit einem inneren Scharnierteil (2) und einem damit verbundenen inneren Befestigungsteil (11),
M2 mit einem äußeren Scharnierteil (3) und einem damit verbundenen äußeren Befestigungsteil (12),
M3 mit einem die beiden Scharnierteile (2, 3) verbindenden Mittelteil (4),
M4 wobei der innere Scharnierteil (2) und der Mittelteil (4) zur Ausbildung einer inneren Drehachse (7) durch einen inneren Scharnierbolzen (5) miteinander drehbar verbunden sind und
M5 der äußere Scharnierteil (3) und der Mittelteil (4) zur Ausbildung einer äußeren Drehachse (8) durch einen äußeren Scharnierbolzen (6) miteinander drehbar verbunden sind, dadurch gekennzeichnet,
M6 dass zumindest einer der beiden Scharnierteile (2,3) zur Ausbildung von zwei axial versetzten Stirnflächen (23, 25) im Bereich der Drehachse 7, 8 axial abgestuft ist,
M7 wobei die zwei axial versetzten Stirnflächen (23, 25) durch eine Gleitfläche (24) miteinander verbunden sind und
M8 die Gleitfläche (24) gegenüber der jeweiligen Drehachse (7,8) in einem Winkel (a) geneigt ist,
M9 dass der Mittelteil (4) zur Ausbildung von zumindest zwei Gegenstirnflächen (20, 22) im Bereich der Drehachse 7, 8 axial abgestuft ist,
M10 wobei die zwei axial versetzten Gegenstirnflächen (20, 22) durch eine Gegengleitfläche (21) miteinander verbunden sind und
M11 die Gegengleitfläche (21) gegengleich zur Gleitfläche (24) ausgerichtet ist, und
M12 dass die Gleitfläche (24) und die Gegengleitfläche (21) zusammenwirkend aneinander liegend und aneinander abgleitend angeordnet sind und
M13 dass zwischen den zwei Stirnflächen (23, 25) und den zwei Gegenstirnflächen (20, 22) in einer Nullstellung des Scharniers (1) ein Spalt (X) vorgesehen ist.
1.2. Die Antragstellerin trägt vor, das Patent ergebe sich für die Fachperson in nahe liegender Weise aus dem Stand der Technik, ihm liege also keine erfinderische Tätigkeit zugrunde (§ 1 Abs 1, § 48 Abs 1 Z 1 PatG), und der Gegenstand des Patents sei nicht ausreichend offenbart und er gehe über den Inhalt der Anmeldung in ihre ursprünglich eingereichten, den Anmeldetag begründenden Fassung (das ist AT 515252 A2) hinaus („Überschreitung der Offenbarung“, § 48 Abs 1 Z 3 PatG).
Zur Überschreitung der Offenbarung trägt die Antragstellerin vor, der in M13 genannte Spalt zwischen den Stirnflächen finde sich in der Patentanmeldung nur auf Seite 12, Zeilen 32 bis 33, im Zusammenhang mit der Beschreibung der Figur 3. Der Spalt werde dort gemeinsam mit einer Vielzahl von weiteren technischen Merkmalen offenbart, die aber nicht in den Anspruch 1 aufgenommen worden seien. Das Weglassen dieser weiteren Merkmale sowie die alleinige Aufnahme des Spalts in den Patentanspruch sei somit von der ursprünglichen Offenbarung nicht gedeckt.
Anspruch 1 des erteilten Patents enthalte auf Grund der im Prüfungsverfahren vorgenommenen Änderungen daher Angaben, die die Fachperson der ursprünglichen Anmeldung nicht unmittelbar und eindeutig als eine mögliche Ausgestaltung der Erfindung entnehmen könne.
1.3. Die Antragstellerin macht etliche Entgegenhaltungen zur Dokumentation des Stands der Technik geltend; in der Verhandlung vor der Nichtigkeitsabteilung (NA) am 29.6.2021 stellen die Streitteile fest, dass die Entgegenhaltung D1 der nächstliegende Stand der Technik sei. Dabei handelt es sich um das chinesische Patent CN 2476629 Y , dessen deutsche Übersetzung vorliegt.
Bedeutsam ist auch die Entgegenhaltung D2, US 3,398,487 A , „Swinging Door Construction“.
Dieses Dokument betreffe ein in beide Richtungen öffenbares und selbstschließendes Türband (Scharnier), das ein Öffnen der Tür nach beiden Seiten ermögliche und das Eigengewicht des Türflügels nutze, um den Türflügel aus beiden Richtungen selbsttätig zu schließen. Diese Erfindung verwirkliche alle Merkmale des Streitpatents, ausgenommen die Merkmale M6, M9 und M13.
D1 beschreibe ein Scharnier, bei dem sich bei einer Drehbewegung auf Grund der geneigten Gleitflächen und Gegengleitflächen eine Hebe- und Senkbewegung ergebe. Die axial versetzten Stirnflächen des Streitpatents erlaubten es, den Türflügel in einer Offenstellung zu halten, bei der keine Rückstellkraft entstehe. Diese Rückstellkraft entstehe nämlich nur, wenn die schrägen Gleitflächen miteinander in Kontakt stünden. Erst wenn die Tür wieder zurückgedreht werde, würden die Gleitflächen und die Gegengleitflächen wieder miteinander in Kontakt treten und eine automatische Rückstellung in die Nullstellung bewirken. Laut der Patentschrift sei der Spalt zwischen den Stirnflächen in der Nullstellung notwendig, damit die Scharnierteile nicht auseinanderklappten. Der Spalt stelle sicher, dass die Kraftkomponenten, die die rückstellende Wirkung hätten, trotz des Erreichens der Nullstellung wirken würden. Der Spalt sei somit notwendig, weil das Scharnier sonst nicht funktionieren würde (so die Patentschrift).
Das Streitpatent definiere aber die „Nullstellung“ nicht, weshalb dieses Merkmal unklar sei. Die Nullstellung sei somit nur eine beliebige Stellung, die (an mindestens einem der Scharnierteile) einen Spalt aufweise.
Ausgehend von D1 bestehe also die technische Aufgabe darin, das Scharnier so zu verbessern, dass in einer Offenstellung der Tür keine Rückstellkräfte wirkten und die Tür in dieser Stellung verharren könne.
D2 betreffe eine Konstruktion für Schwenktüren, deren Aufgabe es sei, eine Tür in der Offenstellung zu halten. Die Kombination von D2 mit D1 liege daher nahe. D2 zeige zwei Schwingelemente, die jeweils zwei horizontale Flächen aufwiesen, die jeweils durch schräge Flächen miteinander verbunden seien. Werde die Tür ausreichend weit geöffnet, verharre die Tür in der offenen Position, weil die schrägen Flächen keinen Kontakt mehr zueinander hätten. Erst wenn die Tür wieder zurückgedreht werde, entstehe ein Kontakt zwischen den schrägen Flächen und die Türe stelle sich zurück.
D2 zeige somit die Unterscheidungsmerkmale zwischen dem Anspruch 1 des Streitpatents und der D1. Die Fachperson würde D1 und D2 kombinieren und die in D2 offenbarten axial versetzten Stirnflächen bei einem Scharnier laut D1 vorsehen. Die Fachperson käme somit zum Gegenstand des Anspruchs 1, ohne erfinderisch tätig zu werden.
Überdies zeige D2 (Figur 2) in der Schließstellung einen Spalt. Ohne einen solchen Spalt würden die axial versetzten Stirnflächen in der Schließstellung direkt aufeinander liegen. Dies bedeute, dass die axialen Abmessungen der beiden aneinander abgleitenden Teile exakt aufeinander abgestimmt sein müssten, damit die Tür nicht – wegen allfälliger Fertigungstoleranzen – bereits vor dem Erreichen der Schließstellung in der jeweiligen Position verharre. Die Fachperson entnähme somit auch der D2 eine zusätzliche Veranlassung, einen Spalt entsprechend M13 vorzusehen.
2. Die Antragsgegnerin trat dem Löschungsantrag entgegen und brachte vor, die Offenbarung der Anmeldung sei durch das erteilte Patent nicht überschritten, denn schon in der Anmeldung sei ausgeführt worden, dass es nachteilig sei, wenn die miteinander korrespondierenden Stirnflächen in der Nullstellung miteinander in Kontakt wären. Dies könne beispielsweise durch einen Spalt zwischen den Stirnflächen verhindert werden. Dass dieses Merkmal in den Anspruch 1 aufgenommen worden sei, überschreite die in der Anmeldung enthaltene Offenbarung somit nicht.
2.1. Für den Fall, dass die NA eine Überschreitung der Offenbarung sähe, stellte die Antragsgegnerin einen ersten Hilfsantrag , mit dem der Anspruch 1 am Ende so formuliert werden soll:
1. [… aneinander abgleitend angeordnet sind und dass] in einer Nullstellung bei abgesenktem Zustand des Scharniers (1) die Stirnflächen (23, 25) mit den Gegenstirnflächen (20, 22) nicht in Kontakt treten.
Zum erfinderischen Schritt trägt der Antragsgegnerin vor, dass die Stirnflächen und die Gegenstirnflächen laut Anspruch 1 zwei voneinander unabhängige Wirkungen hätten: In der Offenstellung lägen die Stirnflächen und die Gegenstirnflächen unmittelbar aufeinander und würden die automatische Rückstellung der Tür in die Nullstellung verhindern. In der Nullstellung hingegen würden die Stirnflächen und die Gegenstirnflächen gemeinsam mit dem dazwischen bestehenden Spalt den Zusammenhalt des Scharniers sicherstellen. Es ließen sich somit zwei objektive Teilaufgaben formulieren, nämlich (a) in der Offenstellung die automatische Rückstellung der Tür zu verhindern und (b) in der Nullstellung den Zusammenhalt des Scharniers sicherzustellen. Dabei sei der Spalt nicht zwingend erforderlich, und das Scharnier würde auch ohne Spalt funktionieren, wenn auch nachteilig, weil es leicht auseinanderklappen könnte, bis die Gleitflächen und die Gegengleitflächen wieder miteinander in Kontakt gerieten. Das Scharnier könnte in der Nullstellung „klappern“, es würde aber funktionieren.
Die Definition der Nullstellung sei nicht unklar. Die Fachperson würde darunter jene Lage des Scharniers verstehen, in der das Scharnier abgesenkt ist und in die das Scharnier auf Grund der wirkenden Kräfte nach dem Abgleiten der schrägen Gleitflächen an den schrägen Gegengleitflächen zurückkehre.
D2 beschreibe kein Pendelscharnier, sondern ein einfaches Scharnier. Das Scharnier sei so ausgeführt, dass die Tür in einer Offenstellung verharre. Zu diesem Zweck sei in D2 an jedem Scharnierteil eine horizontale Fläche vorgesehen, die jeweils an eine schräge Gleitfläche anschließe. Am Übergang zwischen den schrägen Flächen und den horizontalen Flächen sei jeweils eine Erhebung vorgesehen. Beim Öffnen würden die schrägen Flächen aneinander abgleiten und die Tür heben. Würde die Tür so weit gedreht, dass die Erhebungen übereinander fahren, würde die Tür durch die Erhebungen offengehalten. Die Fachperson entnähme der D2 daher den Hinweis, zum Offenhalten der Tür am Ende der schrägen Fläche Erhebungen vorzusehen. Die horizontalen Flächen hätten dabei für das Offenhalten keine Funktion. Die Fachperson würde daher auf Grund von D2 in Erwägung ziehen, zum Offenhalten der Tür jeweils die genannten Erhebungen vorzusehen. Allein die horizontalen Flächen würde die Fachperson aber nicht als wesentlich ansehen und auch nicht übernehmen.
Wenn man der Fachperson unterstellen würde, am Ende der Hubbewegung auch die horizontalen Flächen in Betracht zu ziehen, würde sie aus der D2 nur den Hinweis erhalten, an jedem Scharnierteil nur eine Stirnfläche vorzusehen, nämlich jene, die für das Offenhalten benötigt werde.
Als technische Aufgabe sieht die Antragsgegnerin somit zum einen, dass die Tür in einer bestimmten Stellung offengehalten wird, ohne automatisch in die Nullstellung zu geraten; zum anderen, dass das Pendelscharnier in der Nullstellung den Zusammenhalt behält.
Die Fachperson würde der D2 keinen Hinweis zur Lösung der Teilaufgabe (a) entnehmen. Da die D2 kein Pendelscharnier beschreibe, könne dort das Problem gar nicht auftreten, das durch die Teilaufgabe (b) gelöst werden solle.
2.2. Für den Fall, dass die NA der Meinung sei, die Nullstellung laut Anspruch 1 könnte beliebig angenommen werden und Anspruch 1 sei durch die Dokumente D1 und D2 nahegelegt, stellte die Antragsgegnerin einen zweiten Hilfsantrag , mit dem dem Anspruch 1 am Ende folgende Wendung angefügt wird:
1 [… ein Spalt (X) vorgesehen ist], wobei die Nullstellung jene Stellung des Scharniers ist, in welcher es bei einer durchgehenden Drehbewegung um den gesamten Schwenkbereich des Scharniers zu einem Wechsel der Drehachse kommt, um welche die Drehbewegung erfolgt.
2.3. Für den Fall, dass gleichzeitig auch dem Einwand der Offenbarungsüberschreitung stattgegeben werden sollte, stellte die Antragsgegnerin einen dritten Hilfsantrag in Form einer Kombination des ersten und des zweiten Hilfsantrags:
1. [… gegengleich zur Gleitfläche (24) ausgerichtet ist], und dass an einer Nullstellung bei abgesenktem Zustand des Scharniers (1) die Stirnflächen (23, 25) mit dem Gegenstirnflächen (20, 22) nicht in Kontakt treten, wobei die Nullstellung jene Stellung des Scharniers (1) ist, in welcher es bei einer durchgehenden Drehbewegung um den gesamten Schwenkbereich des Scharniers (1) zu einem Wechsel der Drehachse (7, 8) kommt, um welche die Drehbewegung erfolgt.
2.4. Die Antragsgegnerin stellte einen weiteren (vierten) Hilfsantrag , mit dem der Anspruch 1 in der erteilten Fassung um folgende Wendung ergänzt wird (wörtliche Wiedergabe):
1. [… ein Spalt (X) vorgesehen ist], und dass in der Nullstellung der Mittelteil (4) mit dem äußeren Scharnierteil (3) oder dem äußeren Befestigungsteil (12) in Kontakt ist und der Mittelteil (4) mit dem inneren Scharnierteil (2) oder dem inneren Befestigungsteil (11) in Kontakt ist oder am zumindest einen der beiden Scharnierteilen (2, 3) die zwei axial versetzten Stirnflächen (23, 25) jeweils durch eine von der Gleitflächen (24) beabstandete, einen Anschlag (84) ausbildende Verbindungslächen miteinander verbunden sind und am Mittelteil (4) die zwei axial versetzten Gegenstirnflächen (20, 22) jeweils durch von der Gegengleitfläche (21) beabstandete, einen Gegenanschlag (81) ausbildende Verbindungflächen miteinander verbunden sind und in der Nullstellung der Anschläge (84) und Gegenanschläge (81) in Kontakt sind.
2.5. Die Antragsgegnerin stellte einen weiteren (fünften) Hilfsantrag , der dem vierten Hilfsantrag folgende Wendung anfügt:
1. [… Anschläge (84) und Gegenanschläge (81) in Kontakt sind], wobei ein Winkel zwischen Stirnflächen (23, 25) und dem Anschlag (84) so gewählt ist, dass in der Nullstellung eine weitere Drehbewegung um die jeweilige Drehachse (7, 8) gehemmt ist, und dass es in der Nullstellung bei einer durchgehenden Drehbewegung um den gesamten Schwenkbereich des Scharniers (1) zu einem Wechsel der Drehachse (7,8) kommt, um welche die Drehbewegung erfolgt.
2.6. Zur erfinderischen Tätigkeit trug die Antragsgegnerin auch vor, dass das Scharnier auch ohne den Spalt laut M13 funktioniere, wenn auch nachteilig. Es treffe daher nicht zu, dass der Spalt ein zwingend erforderliches Merkmal des Scharniers sei, ohne den das Scharnier sonst nicht funktionieren würde.
3. Die Nichtigkeitsabteilung wies den Antrag ab. Sie sah die Offenbarung nicht als überschritten an, verneinte in Bezug auf die Offenhaltung der Tür in einem bestimmten Zustand den erfinderischen Schritt, bejahte ihn allerdings insofern, als die Fachperson keine hinreichende Veranlassung hätte, das durch die D1 offenbarte Scharnier auch im unteren Bereich mit axial abgestuften Stirnflächen zu versehen. Obwohl sich beide Parteien einig seien, dass auch die D2 (Figur 2) einen Spalt zeige, sehe die Fachperson keinen Anhaltspunkt dafür, dieses Unterscheidungsmerkmal auch bei einer Kombination von D1 mit D2 zu verwirklichen.
Die Hilfsanträge zu behandeln sah die NA bei diesem Verfahrensergebnis keinen Anlass.
4. Dagegen richtet sich die Berufung der Antragstellerin, die unrichtige Tatsachenfeststellung auf Grund unrichtiger Beweiswürdigung sowie unrichtige rechtliche Beurteilung geltend macht. Sie beantragt, die Entscheidung aufzuheben und das Streitpatent für nichtig zu erklären. Die Antragsgegnerin beantragt, der Berufung nicht Folge zu geben.
Die Berufung ist im Sinne des Aufhebungsantrags berechtigt.
5. Ob die ursprüngliche Offenbarung durch das erteilte Patent überschritten wird, ist eine Rechtsfrage, sodass das Berufungsgericht die dazu erhobene Tatsachenrüge gemeinsam mit der Rechtsrüge behandelt, die zur Frage der Offenbarung vorgetragen wurde.
Dazu hat das Berufungsgericht erwogen:
Auf Seite 12/33 der ursprünglichen Offenbarung AT 515252 A2 wird in den Zeilen 12 bis 19 ausgeführt:
«Beispielsweise kann in der zuvor beschriebenen Nullstellung die Stirnfläche 23 mit der Gegenstirnfläche 20 und die Stirnfläche 25 mit der Gegenstirnfläche 22 in Kontakt stehen. Dadurch wird die Gewichtskraft Tg des zweiten Elements 14 über die Stirnflächen 23, 25 und die Gegenstirnflächen 20, 22 übertragen. Die zuvor erwähnten Normalkräfte F21 und F24 bzw. die Reaktionskräfte FR21x und FR24x wirken daher nicht. Auf den Scharnierteil 2, 3 wirken somit keine Kräfte mit rückstellender Wirkung. Dadurch verharrt der Scharnierteil 2, 3 in der Nullstellung, ausgenommen es werden von außen entsprechende Kräfte eingebracht, da beispielsweise das zweite Element 14 bewegt wird.»
Diese Ausführungsform wird im nächsten Absatz als nachteilig dargestellt. Dabei wird ausgeführt:
«Um den Verlust des Zusammenhalts zu vermeiden, ist dafür zu sorgen, dass in der Nullstellung trotz abgesenkten Zustand des Scharniers 1, die oben genannten Stirnflächen 23, 25 mit den Gegenstirnfläche 20, 22 nicht in Kontakt treten.»
Diese Bedingung ist allgemein für alle erfindungsgemäßen Ausführungen geoffenbart, wobei „nicht in Kontakt treten“ gleichbedeutend ist mit „die Gewichtskraft Tg des zweiten Elements 14 wird nicht über die Stirnflächen 23, 25 und die Gegenstirnflächen 20, 22 übertragen“.
Auf Seite 12/33 ab Zeile 25 wird ausgeführt:
«Dies kann beispielsweise dadurch erreicht werden, dass es zwischen Mittelteil 4, dem inneren Befestigungsteil 11 des inneren Scharnierteils 2 und dem äußeren Befestigungsteil 12 des äußeren Scharnierteils 3, im Zuge des Zurückdrehens, zum Kontakt kommt, bevor die Stirnflächen 23 mit der Gegenstirnfläche 20 und die Stirnflächen 25 mit der Gegenstirnfläche 22 in Kontakt treten.»
Zu dieser Ausführung wird weiters ausgeführt:
«Dabei ist vorgesehen, dass zwischen den Stirnflächen 23, 25 und den Gegenstirnflächen 20, 22 in diesem Zustand der erreichten Nullstellung ein Spalt X verbleibt.»
Auf Seite 14/33 Zeilen 24 bis 27 und Seite 15/33 Zeilen 8 bis 12 ist ausgeführt:
«Um den Zusammenhalt der Scharnierteile 2 und 3 und des Mittelteils 4 in einer oben genannten Nullstellung zu gewährleisten, kann entgegen der bereits beschriebenen Variante des Anschlages zwischen Mittelteil 4 und den Scharnierteilen 2, 3, eine weitere Ausgestaltung vorgesehen sein.»
«Ganz analog zur bereits zuvor beschriebenen Variante des Kontaktieres des Mittelteils 4 und eines Scharnierteils 2, 3 in der Nullstellung, sorgt das Eigengewicht des zweiten Elements 14 bei dieser Variante solange für eine Drehbewegung um die jeweilige Drehachse 7, 8, bis der Anschlag 84 und der am Mittelteil 4 ausgebildete Gegenanschlag 81 miteinander in Kontakt treten.»
Für die Fachperson ergibt sich aus der Gesamtheit der ursprünglichen Offenbarung, insbesondere unter Heranziehung der oben zitierten Passagen, dass bei allen Ausführungsformen zwischen den Stirnflächen 23, 25 und den Gegenstirnflächen 20, 22 in der Nullstellung ein Spalt X verbleibt.
Bei den Ausführungsformen ist nur unterschiedlich, welche Flächen in der Nullstellung in Kontakt sind. Gemeinsam ist, dass der Spalt X vorhanden ist.
Somit hat die Nichtigkeitsabteilung zutreffend festgestellt, dass keine Überschreitung der Offenbarung und insbesondere keine unzulässige – weil den Schutzbereich der Offenbarung erweiternde – Zwischenverallgemeinerung stattgefunden hat (vgl dazu Pentheroudakis, Zulässigkeit von Änderungen der Patentansprüche nach Art 123 (2) EPÜ im Hinblick auf die Problematik der sog „Zwischenverallgemeinerung“ – intermediate generalisation, GRUR Int 2008, 699; Blumer in Singer/Stauder/Luginbühl, EPÜ 8 Art 123 Rz 85 ff).
6. Die Antragstellerin trägt vor, die Entscheidung der NA stehe mit sich selbst im Widerspruch, weil zur Frage der Offenbarungsüberschreitung damit argumentiert worden sei, der Fachperson sei die Notwendigkeit eines Spalts bekannt, während diesem Spalt bei der Beurteilung der erfinderischen Tätigkeit die entscheidende Relevanz zuerkannt werde.
Tatsächlich sagt aber die Überlegung, dass das Vorhandensein des Spalts in der Beschreibung bereits offenbart ist und somit seine Existenz ohne Erweiterung des Schutzbereichs in den Anspruch 1 aufgenommen werden kann, nichts darüber aus, ob das Merkmal „Spalt“ auf einer erfinderischen Tätigkeit beruht. Der vorgetragene Widerspruch in der Entscheidung der NA besteht daher nicht.
7. Zum Argument, das Streitpatent sei nicht ausreichend offenbart, trägt die Antragstellerin in der Berufung vor, dass sich für die Fachperson keine Hinweise ergäben, wie ein solches Pendelscharnier konkret ausgebildet werden könne, obwohl allgemein offenbart sei, dass es auch mit nur einer patentgemäßen Drehachse ausgebildet werden könne.
Dem ist zu erwidern, dass Pendelscharniere unstreitig aus dem Stand der Technik bekannt sind. Gemäß dem Streitpatent muss zumindest eine Drehachse patentgemäß ausgebildet werden. Es ist nicht erkennbar, weshalb für eine Fachperson eine unzureichende Offenbarung gegeben sein sollte.
Dass die Erfindung im Streitpatent hinreichend offenbart ist, ergibt sich auch daraus, dass die Antragstellerin ein Muster nacharbeiten und zur mündlichen Verhandlung mitbringen konnte.
Zur Frage der erfinderischen Tätigkeit trägt auch die Antragsgegnerin in der Berufungsbeantwortung nichts gegen die Überlegung der NA vor, dass die Lösung der Aufgabe „Verharren in einer offenen Position“ nicht auf einer erfinderischen Tätigkeit beruht.
Der Berufungsvortrag beschränkt sich auf die Rolle des Spalts und die Diskussion, ob sich dieses Merkmal für die Fachperson in nahe liegender Weise aus dem Stand der Technik ergibt.
8. Die NA hat zutreffend die objektive technische Aufgabe in zwei voneinander unabhängige Teilaufgaben mit unterschiedlichen Wirkungen geteilt.
Zu der von der NA erwähnten Wirkung, wonach in der Nullstellung zwischen Stirnfläche und Gegenstirnfläche ein Spalt besteht, wodurch aufgrund des Kontaktes der Gleitflächen der Zusammenhalt des Scharniers sichergestellt wird, ist der Antragstellerin zuzustimmen, dass diese Wirkung nicht erzielt wird.
Von der Antragstellerin wurde in Zusammenhang mit dem zur mündlichen Verhandlung mitgebrachten Muster zutreffend darauf hingewiesen, dass bei einem Scharnier, bei dem eine der beiden Drehachsen gemäß dem Kennzeichen des Anspruchs 1 und die andere Drehachse ohne Schräge ausgebildet ist, ein Auseinanderklappen nicht verhindert wird.
Es ist zu prüfen, ob dieses Muster unter den Schutzbereich des Anspruchs 1 fällt. Wenn dies zutrifft, wäre der Antragstellerin zuzustimmen, dass die von der NA angeführte Wirkung nicht über den gesamten Schutzbereich erzielt wird und die Formulierung der Teilaufgabe b), wie sie oben erwähnt ist (Zusammenhalt oder Verhinderung des Auseinanderklaffens), unzulässig ist.
Die Antragsgegnerin führt zum Gegenstand des Steitpatents aus, dass es ein Scharnier mit zwei Drehachsen betreffe, einer inneren Drehachse und einer äußeren Drehachse, also ein sogenanntes Pendelscharnier, wie sich aus dem Oberbegriff von Anspruch 1 ergibt. Ein Pendelscharnier habe das Problem des Auseinanderklappens in der Nullstellung, wenn keine entsprechenden Gegenmaßnahmen getroffen würden.
Es ist festzuhalten, dass Scharniere, bei denen ein Auseinanderklappen möglich ist, unter den Oberbegriff des Anspruchs 1 fallen.
Es ist für die Fachperson offensichtlich, dass die von der Antragsgegnerin angeführten Gegenmaßnahmen beide Drehachsen betreffen müssen, um ein Auseinanderklappen verhindern zu können. Da der Anspruch 1 jedoch nur die Weiterbildung zumindest eines der beiden Scharnierteile betrifft, kann durch die Merkmale des Anspruchs 1 alleine ein Auseinanderklappen nicht wirksam verhindert werden. Die erfindungsgemäße Ausgestaltung kann daher – anstelle des Zusammenhalts des gesamten Scharniers – lediglich den Zusammenhalt für zumindest eines der beiden Scharnierteile garantieren. Die erfindungsgemäße Wirkung kann somit nicht der Zusammenhalt des Scharniers in der Nullstellung sein.
Somit hat die Teilaufgabe b) zu lauten:
„Wie ist das Scharnier gemäß dem Stand der Technik zu modifizieren, sodass zumindest eines der Scharnierteile im abgesenkten Zustand durch rückstellende Kräfte in eine definierte Lage gebracht wird?“
9. Die Antragstellerin trägt in der Berufung dazu vor, dass die Existenz des Spalts nur dadurch bedingt ist, dass auch die „zweite“ Stirnfläche 25 und die „zweite“ Gegenstirnfläche 20 vorhanden sind. Eine allfällige Wirkung dieser Flächen müsse erst bestimmt werden. Ohne diese beiden Flächen (Stirnfläche und Gegenstirnfläche) wäre auch ein Spalt zwischen diesen Flächen nicht denkbar, denn gäbe es diese beiden Flächen nicht, könnten sie auch nicht in einen unerwünschten Kontakt zueinander geraten. Dieselbe Wirkung, die dem Spalt zugebilligt werden solle, könne auch dadurch erzielt werden, dass man diese beiden Flächen ganz weglasse. Die Variante „zweite Stirnfläche plus zweite Gegenstirnfläche plus Spalt“ sei somit nur eine schlechtere, weil komplexere Alternative zu einem Scharnier ohne diese Merkmalskombination. Diese Kombination erziele also keinen vorteilhaften technischen Effekt.
Dazu hat das Berufungsgericht erwogen:
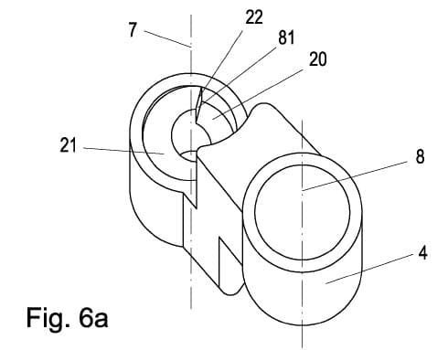
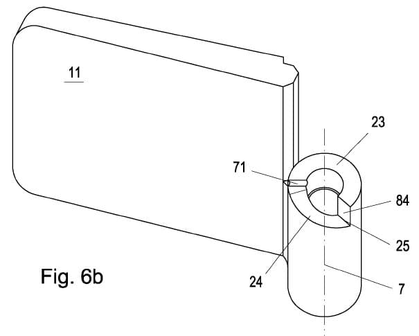
Aufgrund der Ausführung zu den Figuren 6a und 6b auf Seite 12/33 Zeilen 2 bis 5 von AT 515252 A2 sind auch auf ein Minimum reduzierte Stirnflächen als erfindungsgemäß anzusehen.


Die von ihr geltend gemachte Variante fällt somit unter den Anspruch. Der Einwand der verschlechterten Ausführung greift daher nicht.
Auf Seite 3 der Berufungsbeantwortung führt die Antragsgegnerin dazu aus:
«[Die Antragstellerin] nimmt hinsichtlich der Figur 6 nur auf die Seite 15/33 der ursprünglichen Offenbarung [...] Bezug. Dabei wird aber ignoriert, dass die Figur 6 auf Seite 11/33, Zeile 33, bis Seite 12/33, Zeile 11, allgemein beschrieben wird.
Die Figur 6 zeigt damit eine Ausführungsform, bei der die Stirnfläche 25 und Gegenstirnfläche 22 auf ein Minimum reduziert sind – aber nach wie vor Flächen sind („… Gegenstirnfläche 22 auf ein Minimum reduziert ...“), auch wenn dies in der schematischen Figur 6 aufgrund der eingeschränkten Darstellbarkeit nicht erkennbar ist. Somit ist es natürlich möglich, dass auch in einer Ausführung nach Figur 6 in der Nullstellung ein Spalt zwischen der reduzierten Stirnfläche 25 und Gegenstirnfläche 22 verbleibt.
Die [von der Antragstellerin] vorgebrachte Interpretation der Figur 6 würde nur dann stimmen, wenn die Stirnfläche 25 und Gegenstirnfläche 22 exakte Kanten wären, was aber schon aus Fertigungsgründen nicht realisierbar wäre.
Die Ausgestaltung des Scharniers mit den Anschlägen 81, 84, wie in Figur 6 und 7 dargestellt, dient einer möglichen Realisierung des Scharniers, um den Zusammenhalt der Scharnierteile 2 und 3 und des Mittelteils 4 in einer Nullstellung zu gewährleisten (Seite 14/33, Zeile 25 27), was erfindungsgemäß in direktem Zusammenhang mit dem Spalt zwischen der Stirnfläche 25 und Gegenstirnfläche 22 in der Nullstellung steht (Seite 12/22, Zeile 12 – Seite 13/33, Zeile 2). Das Ziel der Anschläge 81, 84 ist es demnach, in einer möglichen Ausführungsform der Erfindung den Spalt in der Nullstellung sicherzustellen.»
Da die Ausführung der Figur 6 derjenigen der Entgegenhaltung D1 entspricht, muss die Antragsgegnerin ihre Argumentation auch zur D1 gelten lassen.
Unter Berücksichtigung der Argumentation der Antragsgegnerin ergibt sich daher für die D1 die Situation, dass die Scharnierteile im abgesenkten Zustand aufgrund von Fertigungstoleranzen nicht zwingend in eine definierte Lage gebracht werden. Durch Fertigungstoleranzen, aus deren Auftreten die Antragsgegnerin jedenfalls die Existenz von Stirnfläche(n) und Gegenstirnfläche(n) ableitet, werden die Kanten als Abrundungen mit einer Krümmung ausgebildet. Je nachdem, ob durch die Fertigungstoleranzen bei der Stirnfläche oder bei der Gegenstirnfläche eine größere Krümmung vorhanden ist, ergibt sich entweder die Ausbildung eines Spalts und eine eindeutige Lage (Nullstellung), nämlich wenn die „obere“ Fläche fertigungsbedingt größer dimensioniert ist; oder eine Kontaktierung der Stirnfläche mit der Gegenstirnfläche ohne eindeutige Lage (Nullstellung), nämlich wenn die „untere“ Stirnfläche größer dimensioniert ist.
Eine Fachperson hat daher zu untersuchen, weshalb es zu diesen zwei unterschiedlichen Fällen kommt. Dabei liegt es für die Fachperson nahe, die Toleranzen bei einem Scharnier der Entgegenhaltung D1 dahingehend zu verändern, dass eine definierte Lage im abgesenkten Zustand dadurch sichergestellt ist, dass in der Nullstellung ein Spalt zwischen der (reduzierten) Stirnfläche und der Gegenstirnfläche bleibt.
Die Fachperson kommt auch durch eine Kombination von D1 mit D2 zum Gegenstand des Anspruchs 1.
Dem Vorbringen, dass die Fachperson die D2 nicht heranziehen würde, weil sie das „Auseinanderklappen“ des dort beschriebenen Scharniers verhindern wolle, greift nicht, weil die objektive technische Aufgabe nicht das „Auseinanderklappen“ betrifft.
Die NA stellte auf Seite 29 der Entscheidung zutreffend fest, dass Figur 2 von D2 einen Spalt zeigt. Für die Fachperson ist daraus ersichtlich, dass durch die Schrägen und den Spalt eine definierte Lage im abgesenkten Zustand sichergestellt wird.
Folglich enthält die Fachperson zur hier behandelten Teilaufgabe aus der Offenbarung der D2 alle notwendigen Informationen, um diese Teilaufgabe auch zu lösen. Da die D1 und die D2 auf dem gleichen technischen Gebiet liegen wie das Streitpatent und weil keine konstruktiven Hindernisse gegen solch eine Zusammenschau sprechen, ist der Fachperson diese Kombination nahegelegt. Sie könnte diesen Schritt nicht nur setzen, sie würde es auch tun („could-would-approach“).
10. Da das Berufungsgericht den erfinderischen Schritt für Anspruch 1 verneint, hat die Abweisung des Antrags vorerst keinen Bestand.
11. Zum weiteren Verfahren ist festzuhalten, dass zur Sicherstellung einer harmonisierten Auslegung der patentrechtlichen Schutzanforderungen nach den nationalen Rechtsvorschriften im Lichte des EPÜ auch auf die Rechtsprechung des EPA zurückggegriffen wird (4 Ob 119/20h [2.], 4 Ob 167/20t). Eine europäisch einheitliche Beurteilung der materiellen Bestimmungen des PatG im Lichte des EPÜ trägt daher dem Ziel einer harmonisierten Schutzrechtsausübung Rechnung.
Im vorliegenden Fall hat die Antragsgegnerin zur Verteidigung ihres Schutzrechts Hilfsanträge gestellt, der NA somit alternative Formulierungen vorgelegt, die sie an die Stelle des erteilten Patents setzen möchte, falls die NA den Argumenten der Antragstellerin folgen sollte und von der Nichtigkeit des erteilten Patents ausginge. Wiewohl dem österreichischen Patentgesetz eine Norm fehlt, die dem Art 138 Abs 3 letzter Satz EPÜ vergleichbar wäre, erfordert eine harmonisierte Auslegung, in diesem Fall die Prüfung auf die Hilfsanträge zu beschränken, wenn – wie hier – das Streitpatent in der erteilten Form nicht aufrechterhalten werden kann (so auch OLG Wien 133 R 7/18d).
Im weiteren Verfahren wird die NA diese Hilfsanträge zu prüfen haben. Die Erledigung durch das Berufungsgericht scheidet aus, weil die Parteien in diesem Fall durch die nun erklärte Rechtsmeinung des Berufungsgerichts zum Anspruch 1 des erteilten Patents und die gleichzeitige Erledigung der Hilfsanträge ohne weitere Äußerungsmöglichkeit überrascht würden.
Die mit Blick auf die Hilfsanträge erstatteten Schriftsätze im Berufungsverfahren, die über die Berufung und die Berufungsbeantwortung hinausgehen, waren als unzulässig zurückzuweisen.
12. Der Kostenvorbehalt beruht auf § 52 ZPO iVm § 122 PatG.
Rückverweise
Keine Verweise gefunden