Das Oberlandesgericht Wien hat als Berufungsgericht durch den Senatspräsidenten Dr. Hinger als Vorsitzenden und die Richterin Mag. Janschitz sowie den fachkundigen Laienrichter Patentanwalt DI Barger in der Patentrechtssache der Antragstellerin ***** , vertreten durch die Häupl Ellmeyer KG, Patentanwaltskanzlei in Wien, gegen den Antragsgegner ***** , vertreten durch Patentanwalt DI Mag. Michael Babeluk in Wien, wegen Nichtigerklärung des Patents AT 510051 über die Berufungen der Antragstellerin und des Antragsgegners gegen die Entscheidung der Nichtigkeitsabteilung des Patentamts vom 21.11.2018, N 15/2017 5, in nichtöffentlicher Sitzung zu Recht erkannt:
1. Der Berufung der Antragstellerin wird Folge gegeben.
Die angefochtene Entscheidung der Nichtigkeitsabteilung des Patentamts wird dahingehend abgeändert, dass sie lautet:
«Das österreichische Patent Nr 510051 wird für nichtig erklärt.
Der Antragsgegner ist schuldig, der Antragstellerin die mit EUR 5.097,76 (darin enthalten EUR 732,96 USt und EUR 700 Barauslagen) bestimmten Kosten des Verfahrens binnen 14 Tagen zu ersetzen.»
Der Antragsgegner ist schuldig, der Antragstellerin binnen 14 Tagen die mit EUR 2.579,16 (darin EUR 304,86 USt und EUR 750 Barauslagen) bestimmten Kosten des Berufungsverfahrens zu ersetzen.
2. Der Berufung des Antragsgegners wird nicht Folge gegeben.
Der Antragsgegner ist schuldig, der Antragstellerin binnen 14 Tagen die mit EUR 914,58 (darin enthalten EUR 152,43 USt) bestimmten Kosten der Berufungsbeantwortung zu ersetzen.
4. Der Wert des Entscheidungsgegenstands übersteigt EUR 30.000.
Die ordentliche Revision ist nicht zulässig.
Entscheidungsgründe
Der Antragsgegner ist Inhaber des am 11.10.2011 erteilten Patentes AT 510051 mit der Bezeichnung „Einspritzwerkzeug“ (angegriffenes Patent).
Die angemeldeten und erteilten Patentansprüche lauten:
1. Einspritzwerkzeug für die Herstellung von Bauteilen im Spritzgussverfahren, mit mehreren Kavitäten (5) zur Formung jeweils eines Produkts, mit einer Einspritzdüse (6) zum Einspritzen von Kunststoffen für jede Kavität (5), wobei eine Einspritzdüse (6) einen Einspritzkanal aufweist, der durch eine Düsennadel (14) verschließbar ist, um den Einspritzvorgang zu steuern, und wobei eine Betätigungseinrichtung vorgesehen ist, die dazu ausgebildet ist, die Düsennadel (14) zwischen einer ersten Endstellung und einer zweiten Endstellung in Axialrichtung zu bewegen, wobei ein verstellbarer Anschlag (18) vorgesehen ist, der die erste Endstellung festlegt, dadurch gekennzeichnet, dass der verstellbare Anschlag (18) als Schraube ausgebildet ist, die koaxial zur Düsennadel (14) ausgebildet ist und durch einen Elektromotor (13) verstellbar ist.
2. Einspritzwerkzeug nach Anspruch 1, dadurch gekennzeichnet, dass der Elektromotor (13) als Schrittmotor ausgebildet ist.
3. Einspritzwerkzeug nach Anspruch 1 oder 2, dadurch gekennzeichnet, dass die Betätigungseinrichtung pneumatisch ausgeführt ist.
4. Einspritzwerkzeug nach Anspruch 1 bis 3, dadurch gekennzeichnet, dass es als Kaltkanalwerkzeug ausgebildet ist.
5. Einspritzwerkzeug nach Anspruch 1 bis 4, dadurch gekennzeichnet, dass eine Steuerungseinrichtung vorgesehen ist, die den Elektromotor (13) jeder Einspritzdüse (6) unabhängig zu steuern.
6. Einspritzwerkzeug nach Anspruch 1 bis 5, dadurch gekennzeichnet, dass die erste Endstellung bis zu einer Schließstellung für die Einspritzdüse (6) verstellbar ist.
7. Verfahren zur Herstellung von Produkten im Spritzgussverfahren, bei dem Kunststoff gleichzeitig in mehrere Kavitäten (5) eines Einspritzwerkzeugs eingespritzt wird, wobei der Kunststoff in jede Kavität (5) über eine Einspritzdüse (6) eingebracht wird, die durch eine Düsennadel (14) verschließbar ist, um das Einspritzende festzulegen, und wobei die Einspritzmenge und -geschwindigkeit durch eine Verstellung einer ersten Endstellung der Düsennadel (14) festgelegt wird, dadurch gekennzeichnet, dass die erste Endstellung individuell für jede Einspritzdüse (6) elektromotorisch verstellt wird.
8. Verfahren nach Anspruch 7, dadurch gekennzeichnet, dass die Verstellung der ersten Endstellungen der Düsennadeln (14) unmittelbar vor dem Einspritzvorgang durchgeführt wird.
Patentanspruch 1 des angegriffenen Patents ist ein Einspritzwerkzeug für die Herstellung von Bauteilen im Spritzgussverfahren mit folgenden Merkmalen:
a) [Es gibt] mehrere Kavitäten zur Formung jeweils eines Produkts.
Die Berufung der Antragstellerin ist berechtigt, jene des Antragsgegners ist hingegen nicht berechtigt.
1. Der Antragsgegner bringt in seiner Berufungsbeantwortung vor, die Berufung sei nicht gesetzmäßig, weil die Bezeichnung des Berufungsgerichtes fehle. Sie sei darüber hinaus unbegründet, weil in ihr die Berufungsgründe nicht angeführt seien.
Die Bezeichnung des Berufungsgerichtes ist ein formales Erfordernis, das im vorliegenden Fall nicht die geschäftsordnungsgemäße Behandlung der Berufungsschrift hindert, war doch die NA in der Lage, die Berufung dem zuständigen Berufungsgericht vorzulegen ( Kodek in Rechberger/Klicka 5 § 467 Rz 2). Was die fehlende Bezeichnung der Rechtsmittelgründe angeht, ist die Rsp dazu immer großzügig; maßgebend ist nur, ob die Rechtsmittelausführungen die Rechtsmittelgründe deutlich erkennen lassen ( Kodek aaO § 471 Rz 7). Die Berufungsausführungen lassen hinreichend deutlich erkennen, dass die Antragstellerin die Berufungsgründe der falschen Tatsachenfeststellung aufgrund unrichtiger Beweiswürdigung und der unrichtigen rechtlichen Beurteilung geltend macht.
Zur Berufung der Antragstellerin:
2.1. Ein Patent ist für nichtig zu erklären, wenn der Anspruch nicht patentierbar war. Eine Erfindung gilt nach § 1 Abs 1 PatG als auf einer erfinderischen Tätigkeit beruhend, wenn sie sich für den Fachmann nicht in naheliegender Weise aus dem Stand der Technik ergibt. Dies ist nicht schon dann der Fall, wenn der Fachmann aufgrund des Standes der Technik zu ihr hätte gelangen können, sondern erst dann, wenn er sie aufgrund eines hinreichenden Anlasses in Erwartung einer Verbesserung oder eines Vorteils auch tatsächlich vorgeschlagen hätte (RIS-Justiz RS0071157; 4 Ob 17/15a, Gleitlager mwN). Dieser (vom Europäischen Patentamt als „could-would-approach“ bezeichnete) Ansatz kann insbesondere anhand des Aufgabe-Lösungs-Ansatzes geprüft werden, der sich in folgende drei Phasen gliedert: 1. Ermittlung des nächstliegenden Standes der Technik; 2. Bestimmung der zu lösenden objektiven technischen Aufgabe; 3. Prüfung der Frage, ob die beanspruchte Erfindung angesichts des nächstliegenden Standes der Technik und der objektiven technischen Aufgabe für den Fachmann naheliegend gewesen wäre (4 Ob 17/15a, Gleitlager ; 4 Ob 80/18w, Wischkopf ).
2.2. Ob eine Erfindung nach diesen Grundsätzen auf einer erfinderischen Tätigkeit beruht, ist grundsätzlich eine Rechtsfrage (RIS-Justiz RS0123155 [T3 und T4]). Sie ist aber in erster Linie von Tatfragen abhängig, nämlich insoweit, als es auf das Fachwissen ankommt, über das der Durchschnittsfachmann auf dem betreffenden Gebiet verfügt (RIS-Justiz RS0071399).
3.1. Die NA stellte zum nächstliegenden Stand der Technik fest, dass die in D1 und D2 vorveröffentlichen Patente der nächste Stand der Technik sind.
b) Eine Einspritzdüse [fungiert] zum Einspritzen von Kunststoffen in jede Kavität.
c) Eine Einspritzdüse weist einen Einspritzkanal auf, der durch eine Düsennadel verschließbar ist, um einen Einspritzvorgang zu steuern.
d) Eine Betätigungsvorrichtung ist dazu ausgebildet, die Düsennadel zwischen einer ersten Endstellung und einer zweiten Endstellung zu bewegen [Anm des Berufungsgerichts: Die „erste Endstellung“ bewirkt, dass die Düse „ganz offen“ ist, die „zweite Endstellung“ der Nadel verschließt sie; vgl Abs 0003 der Patentschrift].
e) Ein verstellbarer Anschlag legt die erste Endstellung fest.
f) Der verstellbare Anschlag ist als Schraube ausgebildet.
g) Die Schraube ist koaxial zur Düsennadel.
h) Die Schraube ist durch einen Elektromotor verstellbar.
Im Verfahren vor der NA blieb unstrittig, dass die Merkmale a) bis e) des Patentanspruchs 1 durch D1 bekannt gewesen seien.
Die Antragstellerin beantragte die Nichtigerklärung des angegriffenen Patents, weil sein Gegenstand von den Vorveröffentlichungen
D1: JP 2001170977 A
D2: EP 1013395 A1
D3: EP 1961549 A1
vorweggenommen sei oder nicht auf einer erfinderischen Tätigkeit beruhe. Es sei das angegriffene Patent nicht so deutlich und vollständig offenbart, dass es ein Fachmann ausführen könne.
D1 offenbare ein Einspritzwerkzeug für die Herstellung von Bauteilen im Spritzgussverfahren mit mehreren Kavitäten zur Formung jeweils eines Produkts, mit einer Einspritzdüse zum Einspritzen von Kunststoffen für jede Kavität. Eine Einspritzdüse weise einen Einspritzkanal auf, der durch eine Düsennadel verschließbar sei, um den Einspritzvorgang zu steuern. Es sei eine Betätigungseinrichtung vorgesehen, die dazu ausgebildet sei, die Düsennadel zwischen einer ersten Endstellung und einer zweiten Endstellung in Axialrichtung zu bewegen, wobei ein verstellbarer Anschlag vorgesehen sei, der die erste Endstellung festlege. Der verstellbare Anschlag sei als Schraube ausgebildet.
Der Gegenstand des Patentanspruchs 1 des angegriffenen Patents unterscheide sich von der Lehre von D1 dadurch, dass der verstellbare Anschlag koaxial zur Düsennadel ausgebildet und durch einen Elektromotor verstellbar sei. In D1 diene ein haxagonaler Schlüssel zur Einstellung des Gleitelements. Das Gleitelement sei als Schraube ausgebildet, weil es im Innengewinde bewegt werden könne. Das Gleitelement diene zur Einstellung des Anschlages.
In Figur 5 von D2 sei ersichtlich, dass der verstellbare Anschlag koaxial zur Nadel ausgebildet sei. Auch könne das kerbverzahnte Ende, in das ein Zahnrad eingreife, als äquivalent zu einer Schraube angesehen werden, weil ein kerbverzahntes Ende wie eine Schraube ein Gewinde aufweise und daher die gleiche Wirkung gegeben sei.
Die objektiv zugrunde liegende Aufgabe bestehe darin, die Einspritzmenge und die Einspritzgeschwindigkeit einstellen zu können, ohne den Produktionsvorgang zu unterbrechen.
Die zusätzlichen Merkmale „dass der verstellbare Anschlag koaxial zur Düsennadel ausgebildet ist und durch einen Elektromotor verstellbar ist“ seien aus D2 bekannt.
Die abhängigen Ansprüche 2 bis 6 seien allesamt nicht erfinderisch. Die Anwendung eines Schrittmotors bei Einspritzwerkzeugen sei nämlich notorisch und betreffe fachübliche Maßnahmen und sei bereits in D3 erwähnt (Anspruch 2). Die pneumatische Ausführung der Betätigungseinrichtung sei notorisch und betreffe fachübliche Maßnahmen und sei beispielsweise auch in D2 und in D3 (Anspruch 3) enthalten. Die Ausbildung als Kaltkanalwerkzeug sei notorisch und betreffe fachübliche Maßnahmen und sei in D1 erwähnt (Anspruch 4). Das Vorsehen einer Steuerungsvorrichtung zum Steuern des Elektromotors unabhängig zu jeder Einspritzdüse sei notorisch und betreffe fachübliche Maßnahmen und sei in D1 und in D2 erwähnt (Anspruch 5). Die Verstellung der ersten Endstellung bis zu einer Schließstellung für die Einspritzdüse betreffe fachübliche Maßnahmen und sei in D2 erwähnt (Anspruch 6).
Anspruch 1 sei nicht erfinderisch, daher beruhe das Verfahren des Anspruchs 7 ebenfalls nicht auf einer erfinderischen Tätigkeit. Darüber hinaus seien alle Merkmale des Anspruchs 7 in D3 erwähnt. Das Verstellen der ersten Endstellungen der Düsennadeln unmittelbar vor dem Einspritzvorgang sei notorisch und betreffe fachübliche Maßnahmen (Anspruch 8).
Die Einschränkung im Eventualantrag vom 14.2.2018 führe nur dazu, dass das Einspritzwerkzeug als Kaltkanalwerkzeug ausgebildet sei. Ein Fachmann auf dem Gebiet der Einspritzwerkzeuge sei nicht auf das Gebiet der Heißkanal- oder Kaltkanalwerkzeuge beschränkt. Um zu einer Lösung zu gelangen, suche er nicht nur bei Kaltkanalwerkzeugen sondern bei allen Einspritzwerkzeugen. Lösungen für Heißkanalwerkzeuge seien ohne großes Zutun auf Kaltkanalwerkzeuge umlegbar. Das sei keine erfinderische Tätigkeit, sondern für den Fachmann selbstverständlich. In WO00/35655 (./E) sei ersichtlich, dass zur Herstellung von Kunststoffen kein Unterschied zwischen Heiß- und Kaltkanalwerkzeuge gemacht werde.
Die Antragsgegnerin beantragte die Abweisung des Antrags und brachte vor, dass der Patentanspruch 1 des angegriffenen Patents neu und erfinderisch sei; damit seien auch die abhängigen Patentansprüche 2 bis 6 neu und erfinderisch. In D1 sei der verstellbare Anschlag als Keil ausgebildet, es sei keine zur Achse der Düsennadel koaxiale Schraube vorgesehen und es gebe keinen Motor zur Verstellung.
Es sei die Aufgabe der Erfindung, eine einfach und kostengünstige Vorrichtung zur präzisen Einstellung der Einspritzmenge zu bieten, die insbesondere eine Einstellung der Einspritzmenge ermögliche, ohne den Produktionsvorgang zu unterbrechen. Die Lösung dieser Aufgabe erfolge durch die Kombination der Merkmale f) bis h) mit den Merkmalen des Oberbegriffes.
Das Verstellen über einen keilförmigen Adapter, der seitlich über ein Gewinde verstellt werde, sei nicht geeignet in Einspritzvorrichtungen mit einer Vielzahl von Kavitäten eingesetzt zu werden. Beim vorliegenden Patent könne jede einzelne Kavität nach jedem einzelnen Schuss neu kalibriert werden.
D2 betreffe Einspritzvorrichtung mit mehreren Einspritzdüsen, die in eine einzelne große Kavität einspritzen. Hier liege der Unterschied zum angegriffenen Patent darin, dass damit eine Mehrzahl von Kavitäten individuell mit Material befüllt werden könne. Es lägen aber auch konstruktive Unterschiede vor. Die Düsennadel in D2 könne wahlweise in eine geschlossene oder geöffnete und eine teilweise geöffnete Mittelstellung gebracht werden. Dafür seien zwei Kolben notwendig, der erste zur Betätigung der Düsennadel (16) und ein zweiter um den Anschlag (34) hin und her zu bewegen. Die Feineinstellung der Mittelstellung könne durch einen Anschlagarm (38) erfolgen. Für den Fachmann liege keinerlei Veranlassung vor, konstruktive Einzelheiten des Dokuments D2 zur Verbesserung des Einspritzwerkzeuges D1 heranzuziehen. Keine der Vorveröffentlichungen lege nahe oder zeige eine Maschine mit mehreren Kavitäten und damit mehreren Einspritzdüsen wie in Anspruch 7 beschrieben. Der unabhängige Anspruch 7 und der mit ihm abhängige Anspruch 8 seien daher rechtsbeständig.
Mit Schriftsatz vom 14.2.2018 beantragte der Antragsgegner in eventu, das angegriffene Patent mit den folgenden Patentansprüche aufrecht zu erhalten:
1. Als Kaltkanalwerkzeug ausgebildetes Einspritzwerkzeug für die Herstellung von Bauteilen im Spritzgussverfahren, mit mehreren Kavitäten (5) zur Formung jeweils eines Produkts, mit einer Einspritzdüse (6) zum Einspritzen von Kunststoffen für jede Kavität (5), wobei eine Einspritzdüse (6) einen Einspritzkanal aufweist, der durch eine Düsennadel (14) verschließbar ist, um den Einspritzvorgang zu steuern, und wobei eine Betätigungseinrichtung vorgesehen ist, die dazu ausgebildet ist, die Düsennadel (14) zwischen einer ersten Endstellung und einer zweiten Endstellung in Axialrichtung zu bewegen, wobei ein verstellbarer Anschlag (18) vorgesehen ist, der die erste Endstellung festlegt, dadurch gekennzeichnet, dass der verstellbare Anschlag (18) als Schraube ausgebildet ist, die koaxial zur Düsennadel (14) ausgebildet ist und durch einen Elektromotor (13) verstellbar ist.
2. Einspritzwerkzeug nach Anspruch 1, dadurch gekennzeichnet, dass der Elektromotor (13) als Schrittmotor ausgebildet ist.
3. Einspritzwerkzeug nach Anspruch 1 oder 2, dadurch gekennzeichnet, dass die Betätigungseinrichtung pneumatisch ausgeführt ist.
4. Einspritzwerkzeug nach einem der Ansprüche 1 bis 3, dadurch gekennzeichnet, dass eine Steuerungseinrichtung vorgesehen ist, die den Elektromotor (13) jeder Einspritzdüse (6) unabhängig zu steuern.
5. Einspritzwerkzeug nach einem der Ansprüche 1 bis 4, dadurch gekennzeichnet, dass die erste Endstellung bis zu einer Schließstellung für die Einspritzdüse (6) verstellbar ist.
6. Verfahren zur Herstellung von Produkten im Spritzgussverfahren, bei dem Kunststoff gleichzeitig in mehrere Kavitäten (5) eines gemäß den Patentansprüchen 1 bis 5 ausgebildeten Einspritzwerkzeugs eingespritzt wird, wobei der Kunststoff in jede Kavität (5) über eine Einspritzdüse (6) eingebracht wird, die durch eine Düsennadel (14) verschließbar ist, um das Einspritzende festzulegen, und wobei die Einspritzmenge und -geschwindigkeit durch eine Verstellung einer ersten Endstellung der Düsennadel (14) festgelegt wird, dadurch gekennzeichnet, dass die erste Endstellung individuell für jede Einspritzdüse (6) elektromotorisch verstellt wird.
7. Verfahren nach Anspruch 7, dadurch gekennzeichnet, dass die Verstellung der ersten Endstellungen der Düsennadeln (14) unmittelbar vor dem Einspritzvorgang durchgeführt wird.
Mit der angefochtenen Entscheidung gab die Nichtigkeitsabteilung des Patentamts (NA) dem Antrag teilweise statt, indem sie das angegriffene Patent im Umfang der erteilten Ansprüche 7 und 8 für nichtig erklärte, den Antrag in Bezug auf die Ansprüche 1 bis 6 jedoch abwies. In rechtlicher Hinsicht führte die NA aus, dass der Gegenstand der Ansprüche 1 bis 6 erfinderisch sei. Demgegenüber sei der Gegenstand der Ansprüche 7 und 8 nicht erfinderisch. Die Ansprüche 6 und 7 des Eventualantrages seien naheliegend und daher nicht erfinderisch.
Dagegen richtet sich die Berufung der Antragstellerin mit dem Antrag, die Entscheidung der NA im antragsabweisenden Umfang aufzuheben und das angegriffene Patent im beantragten Umfang (Ansprüche 1 bis 6) für nichtig zu erklären.
Gegen die antragsstattgebende Entscheidung der NA richtet sich weiters die Berufung des Antragsgegners wegen unrichtiger rechtlicher Beurteilung mit den Antrag, die Patentansprüche 7 und 8 gemäß dem Eventualantrag vom 14.2.2018 mit den angepassten Rückbezügen aufrecht zu erhalten; hilfweise wird beantragt, die angefochtetene Entscheidung aufzuheben und die Sache zur neuerlichen Entscheidung an die NA zurückzuverweisen.
Die Streitteile beantragen jeweils, der Berufung der anderen Partei nicht Folge zu geben.
3.2. Figur 5 der Urkunde D2, die das Berufungsgericht ohne Weiteres der rechtlichen Beurteilung zugrunde legen kann (vgl RIS-Justiz RS0121557), zeigt:

Aus der Beschreibung der Patentschrift D2 (deutsche Übersetzung der Patentschrift DE 69909255 T2 vom 27.5.2004) ergibt sich:
«[…]
[0008] Es ist ein weiteres Ziel der vorliegenden Erfindung, ein Verfahren oder eine Vorrichtung der vorstehenden Art zu schaffen, die es ermöglichen, einen einzigen Schmelzenzufuhrkanal während des Formhohlraum-Füllvorganges zu verändern.
[…]
[0016] Die vorliegende Erfindung schafft vorteilhaft eine billige, leicht einstellbare, vorbestimmte Zwischenstellung des Ventilschaftes, so dass der Harzfluß, weicher den Formhohlraum füllt, in einem Spritzgießverfahren während des Füllschrittes geändert werden kann.
[0022] Fig. 5 [zeigt] eine alternative Ausführung einer Heißkanal-Einspritzdüse der vorliegenden Erfindung, deren Ventilschaft sich in der vollständig geschlossenen Stellung befindet;
[…]
[0038] Fig. 5 zeigt ähnlich wie Fig. 2 eine Heißkanaldüse 12, deren Ventilschaft 16 sich in der vollständig geschlossenen Stellung befindet. Ein doppeltwirkender Luftkolben 20 ist im Einsatz, um den Ventilschaft zwischen der Offenstellung und der Schließstellung zu bewegen, wobei Fig. 5 die vollständig geschlossene Stellung zeigt. Luft wird durch einen Luftkanal 24 zugeführt, um den Ventilschaft 16 vorzuschieben und somit den Ventilkörper 14 zu schließen, und durch einen Luftkanal 28 zugeführt, um den Ventilschaft zurückzuziehen, wie bei dem Ausführungsbeispiel nach den Fig. 2 4.
[0039] Fig. 5 wendet auch einen Anschlagarm 38 mit einem bewegbaren Anschlagmittel 34 an dem dem oberen Ende 22 des Ventilschaftes 16 zugekehrten Ende an, wie in den Fig. 2 4. Der Anschlagarm 38 hat jedoch ein geteiltes oberes Ende 40, welches mit einem Getriebe 42 in Eingriff steht, das durch eine Schnecke 44 angetrieben ist. Der Anschlagarm 38 ist auch in einen Kolben 46 eingeschraubt , der an einer Drehung durch einen Zapfen 48 od. dgl. gehindert wird. Durch Drehen der Schnecke 44 mittels eines Motors (nicht gezeigt) auf bekannte Weise wird der Anschlagarm und somit der Kolben 46 und der Anschlag 34 bewegt, wodurch die Zwischenposition eingestellt wird.
[...]
[0041] Der Vorteil dieses Vorgehens besteht darin, dass sobald die Zwischenanschlagposition mittels der Schneckengetriebeanordnung eingestellt ist, dieser Mechanismus für den Betrieb während der Formung nicht benötigt wird. Die Stellungen des Ventilschaftes werden alle mittels der beiden Luftkolben herbeigeführt.
[Hervorhebung nicht im Original.]
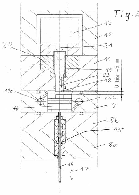
3.3. Figur 2 des angegriffenen Patents zeigt:

Aus der Beschreibung des angegriffenen Patents ergibt sich:
[…] [0017] In Fig. 2 ist eine Verstellvorrichtung für den Anschlag der Düsennadel 14 im Detail dargestellt. Die Düsennadel 14 dient in bekannter Weise zum Verschließen einer Düsenöffnung, um Beginn und Ende des Einspritzvorganges genau definiert zu ermöglichen. Dichtungen 15 dienen dazu, ein Aufsteigen des Materials beim Spritzgießvorgang über die Platten 8a, 8b hinaus zu verhindern. Ein Kolben 16 dient zur Betätigung der Düsennadel 14. Dazu wird über Kanäle 10a, 10b Druckluft zugeführt, um die Düsennadel 14 in Richtung des Doppelpfeils 17 zu bewegen. An der Oberseite des Kolbens 16 ist ein verstellbarer Anschlag 18 vorgesehen, der an einer Schraubspindel 19 befestigt ist, die in einem Einsatz 20 der Platte 11 gehalten ist. Ein Wellenstummel 21 des Motors 13 greift in die Schraubspindel 19 ein und verdreht diese so, dass sich der Anschlag 18 in Axialrichtung (Doppelpfeil 22) bewegt.
[0018] Auf diese Weise ist es möglich, eine Feineinstellung des Materialflusses für jede einzelne Kavität während des Produktionsprozesses durchzuführen. […]
3.4.1. Die Antragstellerin bekämpft unter Verweis der Figur 5 bis 8 der D2 die Schlussfolgerungen der NA, wonach die Verdrehung der Schraube allein noch keine Einstellungsänderung bewirke. Die Schraube (38) bilde nämlich einen verstellbaren Anschlag (34) für die Düsennadel (16). Deshalb bewirke eine Verdrehung der Schraube (38) eine Einstellungsänderung des Anschlags (34), weil die Schraube (38) und der Anschlag (34) einstückig ausgeführt seien.
3.4.2. Die NA ging davon aus, dass D2 ebenfalls eine koaxial zur Düsennadel ausgebildete Schraube (38) zeigt, die einen verstellbaren Anschlag (34) für die Düsennadel ausbildet. Im Unterschied zum angegriffenen Patent bewirke die Verdrehung dieser Schraube noch keinerlei Einstellungsänderung des Anschlags. Eine Verdrehung der Schraube ändere nur die Position derselben im Kolben (46). Zur Einstellung des Anschlags sei noch die pneumatische Betätigung des Kolbens erforderlich.
3.4.3. Ausgehend von der Darstellung Figur 5 geht das Berufungsgericht davon aus, dass die Düsennadel mit einem doppelt wirkenden Kolben versehen ist, wobei die Oberseite des Kolbens zugleich die nadelseitige Anschlagfläche darstellt. Coaxial dazu ist ein weiterer, drehfest im Gehäuse aber axial verschieblicher, Kolben angeordnet, durch den eine Schraube geschraubt ist, die coaxial zur Düsennadel verläuft, und die an ihrem obersten Randbereich eine Längsriffelung aufweist. In diese Riffelung greift ein Schneckenrad ein, wodurch die Schraube bezüglich des drehfesten zweiten Kolbens ein- oder ausgeschraubt werden kann. Das Drehen der Schraube bewirkt das Verstellen des Anschlages.
3.5. Der Antragsteller bezweifelt die Richtigkeit der Beurteilung der Erfindungseigenschaft des Streitpatents durch die NA. Es seien alle Merkmale des Anspruchs 1 aus der Zusammenschau der Vorveröffentlichungen D1 und D2 bekannt. Die Vorrichtung des angegriffenen Patents sei eine vereinfachte Ausführungsform der Kombination aus D1 und Figur 5 aus D2. Der Fachperson könne daher leicht die Vorrichtung der Figur 5 aus D2 im Sinne des angegriffenen Patents abwandeln. Im Sinne des could-would- Ansatzes würde ein Fachmann eine Vereinfachung immer durchführen.
3.6. Aus der Patentschrift D1 ist ein Einspritzwerkzeug für die Herstellung von Bauteilen im Spritzgussverfahren, mit mehreren Kavitäten zur Formung jeweils eines Produkts, mit einer Einspritzdüse zum Einspritzen von Kunststoffen für jede Kavität bekannt. Die Herstellung mehrerer Kavitäten ist aber auch aus der Patentschrift D2 naheliegend. Die Fachperson muss dabei nur die aus der Patentschrift D2 bekannte Vorrichtung vervielfältigen.
3.7. Aus der Beschreibung in Punkt [0041] der Patentschrift D2 (deutsche Übersetzung) ergibt sich, dass mit den beiden Luftkolben während des Spritzvorgangs der Durchfluss reguliert wird. Die Stellung der Schraube bleibt dabei unverändert. Sucht die Fachperson nun nach einer Lösung für ein Einspritzwerkzeug, das während des Spritzvorgangs den Durchfluss – wie es das angegriffene Patent vorsieht – nicht reguliert, ist es naheliegend, den Kolben 46 im Gehäuse zu fixieren, und die Fachperson gelangt direkt zum Einsatz 20 des angegriffenen Patents. Der Fachperson kann grundsätzlich zugemutet werden aus dem Stand der Technik bekannte Anregungen aufzugreifen. Die Fachperson ist zudem bestrebt, raumsparend und kostengünstig durch Verwendung weniger Teile zu bauen, bekannte Vorrichtungen zu vereinfachen oder Störendes zu beseitigen ( Busse / Keukenschrijver , Patentgesetz 8 § 4 Rz 136).
Zusammenfassend ist daher festzuhalten, dass der Patentanspruch 1 des angegriffenen Patents nicht auf einer erfinderischen Tätigkeit beruht.
3.8. Nach allgemein anerkannter Terminologie ist ein patentrechtlicher Unteranspruch stets rückbezogen auf seinen übergeordneten (Haupt-)Anspruch. Der Gegenstand eines Unteranspruchs umfasst deshalb nicht nur die wörtlich im Unteranspruch angeführten Merkmale, sondern zusätzlich auch alle Merkmale des übergeordneten (Haupt-)Anspruchs. Die auf Patentanspruch 1 rückbezogenen Unteransprüche 2 bis 6 des angegriffenen Patents teilen ihr Schicksal mit Patentanspruch 1, weil die zusätzlich ersichtlichen Merkmale nicht zu einer anderen Beurteilung führen können.
3.9. Zum Eventualbegehren vom 14.2.2018 :
Das Herausfallen des rückbezogenen Anspruchs 4 des angegriffenen Patents und die Einschränkung in Patentanspruch 1 auf Kaltkanalwerkzeuge und der Verweis, dass D2 Heißkanalwerkzeuge betreffe, ändert nichts daran, dass das angegriffene Patent – wie oben dargelegt – nicht das Ergebnis einer erfinderischen Tätigkeit ist. Der Begriff Kaltkanalwerkzeug bezieht sich auf Werkzeuge, in denen der Anguss abgekühlt wird. Sie erfüllen aber dieselbe Funktion wie Heißkanalsysteme bei der Verarbeitung von Thermoplasten. Bei der Beurteilung, ob die Merkmale f) bis h) des angegriffenen Patents aus einer erfinderischen Tätigkeit hervorgehen, kommt es auf diese Unterscheidung nicht an.
Zur Berufung des Antragsgegners:
4. Zu den Patentansprüchen 7 und 8 :
4.1. Der Antragsgegner begehrt mit seiner Berufung einerseits, dem Eventualbegehren vom 14.2.2018 und andererseits dem mit der Berufung neu formulierten Begehren stattzugeben. Das mit der Berufung neu vorgelegte Eventualbegehren unterscheide sich durch die Nummerierung der Patentansprüche von der Version vom 14.2.2018, es gingen nunmehr sechs an Stelle von fünf Vorrichtungsansprüche voran.
Durch die Rückbeziehung sei eine Beschränkung dieser Patentansprüche eingeführt worden, die bei der Beurteilung der Neuheit und erfinderischen Tätigkeit zu berücksichtigen sei. Da die Patentansprüche 1 bis 6 neu seien, seien auch die Patentansprüche 7 und 8 neu und erfinderisch.
4.2. Ohne weiter auf die Zulässigkeit der Änderung der Patentansprüche 7 und 8 im Berufungsverfahren eingehen zu müssen, wird im Hinblick auf die Neuheit und die erfinderische Tätigkeit der Patentansprüche 1 bis 6 und der Patentansprüche 1 bis 5 des Eventualbegehrens vom 14.2.2018 auf die Ausführungen zur Berufung der Antragstellerin verwiesen und zusammenfassend festgehalten, dass den Patentansprüchen 1 bis 6 und 1 bis 5 des Eventualbegehrens keine erfinderische Tätigkeit innewohnt.
4.3. Den Ausführungen der NA ist beizupflichten (§ 500a ZPO), wonach im Absatz [0019] der englischen Fassung der D2 ausdrücklich angeführt wird, dass jeder Anschlag (38) mit seinem eigenen servo-elektrischen Linearmotor (32) ausgestattet ist, so dass eine individuelle Steuerung verwendet werden kann, um die gewünschte exakte Position der teilweise geschlossenen Düsennadel (16) festzulegen. Dies ist nicht nur möglich, es ist auch ausdrücklich Ziel der Erfindung gemäß D2, wie aus Absatz [0008] dieser Veröffentlichung hervorgeht. Ein technisch relevanter Unterschied zwischen der individuellen Einstellung einer Einspritzdüse von mehreren vorhandenen Düsen für mehrere Kavitäten und der individuellen Einstellung einer Einspritzdüse von mehreren vorhandenen Düsen für eine (große) Kavität ist nicht gegeben. Aus Absatz [0020] von Dokument D2 ist auch die Betriebsweise ersichtlich, wonach der Linearmotor dazu verwendet werden kann, den Öffnungshub der Düsennadel (16) so einzustellen, dass die anfängliche Einspritzmenge geändert werden kann (zusätzlich zur Einspritzmenge verursacht durch die Zwischenstellung der Düsennadel, eingestellt während des Einspritzvorgangs). Auch das Verfahren des vom unabhängigen Anspruch 7 abhängigen Anspruchs 8, wonach die jeweilige erste Endstellung der Düsennadeln unmittelbar vor dem Einspritzvorgang verstellt wird, wird somit in D2 offenbart.
5. Die Kostenentscheidung stützt sich auf §§ 122 Abs 1 und 141 PatG iVm §§ 41 Abs 1 und 50 ZPO. Der der Antragstellerin zuzusprechende Betrag für das Verfahren vor der NA war um die von ihr für die Barauslagen verzeichnete Umsatzsteuer zu kürzen.
6. Der Ausspruch über den Wert des Entscheidungsgegenstands beruht auf § 500 Abs 2 Z 1 ZPO und ergibt sich aus der Bedeutung des Patentschutzes im Wirtschaftsleben.
7. Die ordentliche Revision war gemäß § 502 Abs 1 ZPO nicht zuzulassen, weil keine Rechtsfrage zu lösen war, der zur Wahrung der Rechtseinheit, Rechtssicherheit oder Rechtsentwicklung erhebliche Bedeutung zukäme.
Rückverweise
Keine Verweise gefunden