Das Oberlandesgericht Wien hat als Rekursgericht durch den Senatspräsidenten Dr. Hinger als Vorsitzenden und den Richter Dr. Schober sowie die Patentanwältin DI Bachinger-Fuchs in der Rechtssache der klagenden Partei *****, vertreten durch WOLF THEISS Rechtsanwälte GmbH Co KG in Wien sowie Sonn Partner Patentanwälte in Wien, gegen die beklagte Partei *****, vertreten durch Schwarz Schönherr Rechtsanwälte KG in Wien sowie DI Dr. Andreas Weiser, Patentanwalt in Wien, wegen zuletzt Rechnungslegung (EUR 30.000) und Zahlung (EUR 50.000), über den Rekurs der klagenden Partei gegen den Beschluss des Handelsgerichts Wien vom 19.2.2018, 19 Cg 7/15y-51, in nicht öffentlicher Sitzung den
Beschluss
gefasst:
Die von der beklagten Partei mit der Rekursbeantwortung und mit der Urkundenvorlage vom 11.6.2018 vorgelegten Urkunden sowie die Stellungnahme der klagenden Partei vom 13.6.2018 werden zurückgewiesen.
Dem Rekurs wird nicht Folge gegeben.
Die klagende Partei ist schuldig, der beklagten Partei binnen 14 Tagen an Kosten des Rekursverfahrens EUR 3.854,88 (darin EUR 321,24 USt) zu ersetzen.
Der Wert des Entscheidungsgegenstands übersteigt EUR 30.000.
Der Revisionsrekurs ist jedenfalls unzulässig.
Begründung
Die Klägerin ist Inhaberin des europäischen Patents EP 2 319 556 (österreichisches Patent AT E 608 214 ) mit dem Titel „ Needle tip guard for hypodermic needles ” (deutsch: „ Nadelspitzenschutz für Subkutaninjektionen ”). Das Patent wurde am 27.2.1997 unter der Inanspruchnahme der Prioritäten der Patente US 60/012,343P vom 27.2.1996 (= P1), US 60/025,273P vom 19.9.1996 (= P2) und US 60/031,399P vom 19.11.1996 (= P3) angemeldet; erteilt wurde das Klagspatent am 24.4.2013. Gegenstand des Patents sind allgemein Schutzvorrichtungen für die Nadelspitzen von Subkutannadeln.
Die Ansprüche lauten:
1 Nadelschutzanordnung umfassend:
a) einen Katheteransatz (13);
b) einen Nadelansatz (9, 12, 112) mit einer daran fixierten Nadel (10) mit einem spitzen distalen Ende (11);
c) einen Nadelschutz (22, 22a, 220), der verschiebbar auf der Nadel (10) angebracht ist;
d) wobei der Nadelschutz (22, 22a, 220) einen beweglichen Nadelfänger (41) umfasst, der in Richtung auf die Nadel (10) vorgespannt ist;
e) wobei sich der Nadelfänger (41) des Nadelschutzes (22, 22a, 220) über das spitze distale Ende (11) der Nadel (10) vorwärts bewegt und dadurch das spitze distale Ende (11) abgedeckt, wenn der Nadelschutz (22, 22a, 220) nach vorne in die Nähe des spitzen distalen Endes (11) der Nadel (10) gedrückt wird;
f) Begrenzungsmittel zum Begrenzen der Vorwärtsbewegung des Nadelschutzes (22, 22a, 220) längs der Nadel (10);
g) wobei die Nadelschutzanordnung ferner einen Kopplungsmechanismus umfasst, der eine mechanische Trennung der Nadelschutzanordnung vom Katheteransatz (13) verhindert, bis das spitze distale Ende (11) sicher von dem Nadelfänger (41) abgedeckt ist, wobei der Kopplungsmechanismus einen Arm (45) mit einem proximalen Ende und einem distalen Ende umfasst, wobei das proximale Ende des Arms an dem beweglichen Nadelfänger (41) angebracht ist, wobei das distale Ende des Arms (45) einen Vorsprung (42) aufweist, der lösbar mit dem Katheteransatz (13) gehalten wird,
dadurch gekennzeichnet, dass der Vorsprung (42) des distalen Endes des Arms (45) lösbar in einer Ausnehmung (32) des Katheteransatzes (13) gehalten wird;
h) und wobei das Begrenzungsmittel eine Anhängevorrichtung (24) umfasst.
2 Nadelschutzanordnung nach Anspruch 1, wobei sich der Arm (45) nach innen bewegt, wenn sich der Nadelfänger (41) zum Abdecken des spitzen distalen Endes (11) nach innen bewegt, wobei die Bewegung des Arms (45) nach innen dazu führt, dass der distale Vorsprung (42) des Arms (45) vom Katheteransatz (13) gelöst wird, wodurch eine Trennung des Nadelschutzes (22, 22a, 220) und des Katheteransatzes (13) ermöglicht wird.
3 Nadelschutzanordnung nach einem der vorhergehenden Ansprüche, wobei der Nadelschutz (22, 22a, 220) vom Anwender manuell längs dem Schaft der Nadel (10) nach vorne gedrückt wird.
4 Nadelschutzanordnung nach einem der vorhergehenden Ansprüche, wobei der Nadelfänger (41) durch eine inhärent gebildete Vorspannung des Nadelfängers (41) nach innen und vor das spitze distale Ende (11) gedrückt wird.
5 Nadelschutzanordnung nach einem der vorhergehenden Ansprüche, die ferner ein elastisches Teil (19) umfasst, dass den Nadelfänger (41) in Richtung auf die Nadel (10) drückt.
6 Nadelschutzanordnung nach Anspruch 5, wobei der Nadelfänger (41) einen Einführungsabschnitt (33) zur Positionierung des elastischen Teils (19) auf dem Nadelschutz (22, 22a, 220) in Kerben (60, 61) umfasst.
7 Nadelschutzanordnung nach Anspruch 5 oder 6, wobei das elastische Teil (19) in einer ringförmigen Art und Weise einem Abschnitt des Nadelschutzes (22, 22a, 220) umgebend angeordnet ist.
8 Nadelschutzanordnung nach einem der vorhergehenden Ansprüche, wobei der Nadelfänger (41) schwenkbar an den Nadelschutz (22, 22a, 220) angebracht ist.
9 Nadelschutzanordnung nach Anspruch 8, wobei der Nadelfänger (41) durch einen Gelenkabschnitt (40) schwenkbar an den Nadelschutz (22, 22a, 220) angebracht ist.
10 Nadelschutzanordnung nach einem der vorhergehenden Ansprüche, wobei der Nadelfänger (41) mit dem Rest des Nadelschutzes (22, 22a, 220) integral ist.
11 Nadelschutzanordnung nach einem der vorhergehenden Ansprüche, wobei der Nadelfänger (41) einen Arm umfasst, der sich parallel zur Nadel (10) erstreckt.
12 Nadelschutzanordnung nach Anspruch 11, wobei der Arm an seinem proximalen Ende schwenkbar an den Nadelschutz (22, 22a, 220) angebracht ist.
Das Merkmal g) des Anspruchs 1 untergliedert sich in folgende Untermerkmale:
g1 wobei die Nadelschutzanordnung ferner einen Kopplungsmechanismus umfasst, der eine mechanische Trennung der Nadelschutzanordnung vom Katheteransatz (13) verhindert, bis das spitze distale Ende (11) sicher von dem Nadelfänger (41) abgedeckt ist,
g2 wobei der Kopplungsmechanismus einen Arm (45) mit einem proximalen Ende und einem distalen Ende umfasst,
g3 wobei das distale Ende des Arms (45) einen Vorsprung (42) aufweist, der lösbar mit dem Katheteransatz (13) gehalten wird,
g4 dadurch gekennzeichnet, dass der Vorsprung (42) des distalen Endes des Arms (45) lösbar in einer Ausnehmung (32) des Katheteransatzes (13) gehalten wird.
Die Beklagte erhob gegen die Erteilung des Klagspatents beim Europäischen Patentamt (EPA) mit der Behauptung der fehlenden Rechtsbeständigkeit Einspruch, den die Einspruchsabteilung des EPA mit Entscheidung vom 9.12.2014 abwies; sie hielt das Klagspatent in der erteilten Fassung aufrecht. Inhaltlich wurde darin angeführt, dass die Prioritätsdokumente P 1 und P 2 nicht ident mit der beanspruchten Erfindung seien. In Bezug auf das Prioritätsdokument P 3 sei eine enge Auslegung des Begriffs „dieselbe Erfindung” heranzuziehen. Die Patentschrift P 3 beziehe sich auf eine „innere Ausnehmung” („inner recess”). Diese Definition ziehe sich durch das ganze Dokument, ohne dass eine allgemeinere Beschreibung der Ausnehmung angesprochen werde. Damit beziehe sich P 3 nicht auf die in Punkt g) des Anspruchs 1 des Klagspatents beschriebene Ausführung, in der nur von einer „Ausnehmung” („recess”) die Rede sei.
Die Klägerin behauptet ein patentverletzendes Anbieten, Inverkehrbringen, den Gebrauch und die Einfuhr sowie den Besitz der Nadelschutzvorrichtungen durch die Beklagte und begehrt Unterlassung, Rechnungslegung, Beseitigung und Zahlung. Zur Sicherung des Unterlassungs- und Beseitigungsanspruchs beantragte sie auch die Erlassung einer einstweiligen Verfügung. Das Klagspatent sei rechtsbeständig, was auch die Entscheidung des EPA im Einspruchsverfahren zeige. Auch sei das Landgericht Düsseldorf in einem parallelen Verletzungsverfahren in Deutschland mit Urteil vom 16.12.2014 von der Rechtsbeständigkeit des Klagspatents ausgegangen. Der Eingriffsgegenstand der Beklagten weise Übereinstimmungen in den Merkmalen a), b), c), d), e), f), g) und h) des Anspruchs 1 des Klagspatents auf und verletze es daher.
Die Beklagte bestritt die Klage- und Sicherungsbegehren und wandte ein, sie habe das Patent nicht verletzt. Im Übrigen ergebe sich nach dem Aufgabe Lösungs Ansatz bei Betrachtung des vorveröffentlichten Standes der Technik, dass das Klagspatent nicht rechtsbeständig sei. Zudem mangle es aufgrund des US Patents 5,215,525 auch an der Neuheit. In Bezug auf den begehrten Rückruf ihrer Erzeugnisse brachte sie vor, dass in einem Provisorialverfahren kein unumkehrbarer Zustand geschaffen werden dürfe.
Das Erstgericht wies die Sicherungsbegehren ab. Dem dagegen erhobenen Rekurs der Beklagten gab das Rekursgericht Folge ( 34 R 73/15b ) und erließ die einstweilige Verfügung.
Der OGH bestätigte letztlich zu 4 Ob 141/16p die einstweilige Verfügung des Rekursgerichts in Bezug auf die Unterlassung (Punkt 1.), stellte jedoch in Bezug auf das Beseitigungsbegehren (Punkt 2.) den abweisenden Beschluss des Erstgerichts wieder her, ohne auf die Frage der Rechtsbeständigkeit des Klagspatents inhaltlich einzugehen (siehe dazu näher die Begründung zu Punkt 3.2).
Da zwischenzeitig mit 27.2.2017 das Klagspatent EP 2 319 556 (AT E 608 214) abgelaufen ist, schränkte die Klägerin die Klagebegehren letztlich auf Rechnungslegung und Schadenersatz ein.
Mit dem angefochtenen Beschluss unterbrach das Erstgericht das Verfahren bis zur Rechtskraft der Entscheidung über die Rechtsbeständigkeit des am 27.2.2017 abgelaufenen Streitpatents EP 2 319 556 in dem zu N 7/16 des österreichischen Patentamts anhängigen Verfahrens gemäß § 156 Abs 3 PatG. Es legte der Entscheidung folgenden Sachverhalt zugrunde:
«In ihrer Entscheidung vom 12.9.2014 hat die Einspruchsabteilung des EPA festgestellt, dass die Prioritäten vom 27.2.1996 und 12.9.1996 nicht die beanspruchte Erfindung betreffen und für die Priorität der Anmeldetag massgeblich sei.
In der Beschreibung ist ausgeführt:
Der Koppelungsmechanismus weist einen Arm mit einem proximalen Ende und einem distalen Ende auf. Das proximalen Ende ist an dem beweglichen Nadelfänger angebracht. Das distale Ende des Arms weist einen Vorsprung auf, der innerhalb einer Ausnehmung eines Katheransatzes lösbar gehalten ist. Aus diesem Grunde bewegt sich der Arm mit nach innen, wenn sich der Nadelfänger nach innen bewegt, um die Nadelspitze abzudecken. Die Bewegung des Arms nach innen bewirkt, dass die distale Projektion des Arms von der Ausnehmung des Katheransatzes freigegeben wird, was eine Trennung zwischen der Nadelschutzvorrichtung und dem Katheransatz ermöglicht. (The needle guard assembly includes a coupling mechanism that prevents a mechanical separation from the catheter until the needle tip is safely contained within the needle trap. The distal end of the arm includes a projection that is releasably retained within a recess of a catheter hub. Hence, as the needle trap moves inwardto entrap the needle tip, the arm also moves inward. The inward movement of the arm causes the arm´s distal projection to be released from the catheter hub recessm thereby permitting a seperation between the needle guard assembly and the catheter hub.)
Im Streitpatent wird auf Seite 22, erster Absatz, Seite 34, erster Absatz, Seite 53, erster Absatz, Seite 54, dritter Absatz, Seite 59, dritter Absatz und Seite 61, dritter Absatz übereinstimmend ausgeführt, dass der Katheteransatz 13 einen inneren Kanal oder Schlitz oder eine innere Vertiefung oder Hinterschneidung 32 hat, um mittels des beweglichen Arms 45 lösbar gehalten zu werden. (Said catheter hub 13 having an inner channel, recess, slot or undercut 32 for being releasably held by said movable arm 45 ([123], [126], [128], [183], [188], [206], [214], [215].)
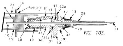
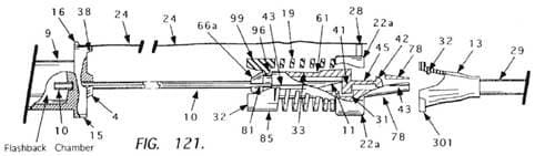
Von den im Klagspatent angeführten Möglichkeiten zur Erzielung einer bestimmten technischen Wirkung, nämlich das lösbare Halten des Katheteransatzes durch den Arm, werden in der Beschreibung lediglich der „Kanal 32” in Verbindung mit den Fig 103 bis 105 und die „Hinterschneidung” in Verbindung mit Fig 121 näher definiert.



Der Kanal 32 kann dabei gemäß Seite 53, erster Absatz, eine ringförmige oder segmentierte Konfiguration aufweisen (Said channel 32 can compromise an annular, or segmented configuration [183]), während die Hinterschneidung 32 ringförmig oder segmentiert sein kann (Said undercut 32 can be annular or segmented [221]), wie dies aus Seite 63, erster Absatz, hervorgeht.
Die Ausführungsform des Koppelungsmechanismus gemäß den Fig 103 bis 105 zeigt einen Katheteransatz 13 mit einer inneren mit 32 bezeichneten Ringnut, also einen umlaufenden, ringförmigen Kanal. Mit Ausnahme der Hinterschneidung 32 in den Fig 120 und 121 zeigen alle in den Zeichnungen dargestellten Ausführungsbeispiele Katheteransätze 13 mit einer inneren Ringnut, die mit der als Kanal 32 bezeichneten Ringnut übereinstimmt und daher offensichtlich einen Kanal im Sinne der Beschreibung bildet. Eine Ausnehmung, die als einzige der offenbarten Möglichkeiten in den Patentanspruch 1 aufgenommen wurde, ist in den Zeichnungen nicht dargestellt.
Die Beschwerdekammer des Europäischen Patentamtes hat mit Entscheidung vom 20.1.2016 das Klagspatent aufrechterhalten und die erfinderische Tätigkeit im Wesentlichen mit der Begründung, dass der Flansch in D2 Teil eines Luer-Lock-Mechanismus und im Fall, dass er durch eine Ausnehmung ersetzt werde, diese Verbindung nicht mehr möglich sei, bejaht. Für einen Fachmann habe kein Anlass bestanden, diese nützliche Standardverbindungsmöglichkeit aufzugeben.
Die Patentanmeldung EP 0 747 085 A2 (idF: Dokument D2), veröffentlicht am 11.12.1996, befasst sich mit einer Katheteranordnung, wobei ein Nadelfänger die Nadelspitze nach deren Einsatz automatisch bedeckt und so der Verletzungsgefahr vorbeugt. In Unteranspruch 7 ist der „Luer-Lock” als bevorzugte Ausführung der in Anspruch 6 angeführte Haltevorrichtung („lug”) angeführt.
Nach D2 ist eine T förmige Struktur 38 mit einem Plattenabschnitt 36 geoffenbart, der eine Durchtrittsöffnung 24 für die Nadel 10 aufweist und die Nadelspitze in der Schutzstellung nach der Fig 2 abdeckt. Ein Arm 40 der T förmigen Struktur ist in einer Laschenanordnung 42 an der Stirnseite des Gehäuses 14 gehalten, das einen Balg 18 aufnimmt. Der andere Arm 44 der T förmigen Struktur 38 bildet einen hakenförmigen Vorsprung 46, der eine Ausnehmung 48 bildet, in die eine Lasche 50 eines Luer-Locks eingreift. Die als integraler Teil des Katheteransatzes 28 ausgebildete Lasche 50 des Luer-Locks greift in die Ausnehmung 48 ein und hält den Katheteransatz 28 mit dem Gehäuse 14 in einer Verriegelungsstellung.


Der Vorsprung 46 ist hier nicht in einer Ausnehmung des Katheteransatzes lösbar gehalten, sondern hintergreift eine Hinterschneidung des Katheteransatzes, nämlich die Luer-Lasche.
Der Flansch, der das distale Ende des Arms hält, ist Teil einer Luer-Lock-Verbindung, einem am Katheteransatz aussen angebrachten genormten Verbindungselement, mit welchem dieser etwa mit Spritzen oder Infusionsbestecken unterschiedlicher Hersteller kombiniert werden kann.
Aus den Darstellungen Fig 1 und 2 ist zu entnehmen, dass die Feder- oder Vorspannwirkung des Kunststoffs der T förmigen Struktur 38 ein Verschwenken oder Verbiegen der T förmigen Struktur 38 im Bereich 54 bedingt. Damit wird bewirkt, dass sich die Spitze der zurückgezogenen Kanüle 22 nicht über den Nasenschutzabschnitt des Gehäuses hinaus erstrecken kann. Zugleich löst der Biegevorgang des Plattenabschnittes 36 die Luer-Lasche 50 aus der Ausnehmung 48 im gegenüberliegenden Arm 44 des T förmigen Elements, woraus eine Lösung des Katheteransatzes 28 resultiert.
Es ist technisch möglich, eine Ausnehmung zwischen den Luer-Laschen zu positionieren, sodass sie unabhängig von einer Luer-Verbindung bestehen kann.
Ausnehmungen, Hinterschneidungen oder Kanäle zur lösbaren Halterung von einem Nadelfänger zugeordneten Vorsprüngen waren im Prioritätszeitpunkt bekannt.
Das Streitpatent löst die Aufgabe, einen Kupplungsmechanismus zu schaffen, bei dem verhindert wird, dass der Katheteransatz vom Katheter gelöst wird, bevor die Nadelfangeinrichtung zum Greifen kommt, in äquivalenter Weise zu D2, indem eine Ausnehmung anstelle einer Hinterschneidung für die lösbare Halterung des Armes vorgesehen wird.»
Rechtlich führte es aus, dass es nach dem eingeholten Gutachten wahrscheinlich sei, dass dem Klagspatent die Erfindungshöhe fehle und es nichtig sei. Die Entscheidung der Beschwerdekammer des EPA sei für das vorliegende Verfahren nicht bindend. Im Hinblick auf das zwischenzeitige Erlöschen des Patents sei die Unterbrechung auch als prozessökonomisch und wirtschaftlich zu beurteilen. Es bestünden keine Anhaltspunkte dafür, dass die finanziellen Ansprüche der Klägerin, die infolge des laufenden Nichtigkeitsverfahrens in ihrem dauerhaften Bestand zudem unsicher seien, einer raschen Entscheidung bedürften.
Dagegen richtet sich der Rekurs der Klägerin aus den Gründen der unrichtigen rechtlichen Beurteilung samt sekundärer Verfahrensmängel mit dem Antrag, den Beschluss des Erstgerichts aufzuheben und ihm die Fortsetzung des Verfahrens aufzutragen.
Die Beklagte beantragt, dem Rekurs keine Folge zu geben.
Der Rekurs ist nicht berechtigt.
1. Die Zurückweisung der von der Beklagten im Rekursverfahren vorgelegten Unterlagen erfolgte wegen des (auch) im Rekursverfahren geltenden Neuerungsverbots (vgl Kodek in Rechberger 4 § 526 Rz 3 mwN); die Stellungnahme der Klägerin vom 13.6.2018 ist nach der Rekurserhebung ebenfalls unzulässig (vgl RIS-Justiz RS0041666).
2. Voranzustellen ist, dass ausschließlich zu prüfen ist, ob die Voraussetzungen für eine zwingende Unterbrechung nach § 156 Abs 3 PatG gegeben sind, und in diesem Zusammenhang, ob die Annahme der Wahrscheinlichkeit der Nichtigkeit des Patents durch das Erstgericht korrekturbedürftig ist.
2.1 Da das Streitpatent abgelaufen und zudem ein Nichtigkeitsverfahren beim österreichischen Patentamt anhängig ist, sprechen grundsätzlich prozessökonomische Gründe für die Unterbrechung des Verfahrens. Die Unterbrechung liegt jedoch nicht bloß im Ermessen des Gerichts, sondern § 156 Abs 3 PatG hat einen zwingenden Charakter (im Gegensatz zur deutschen Rechtslage, wonach die Aussetzung eine Ermessensentscheidung ist: vgl Haedicke/Timmann, Handbuch des Patentrechts § 9 Rz 164 ff; Fitzner/Lutz/Bodeweg, Patentrechtskommentar 4 Vor §§ 139 ff Rz 160 ff; Kühnen, Handbuch der Patentverletzung 10 E Rz 647):
2.2 § 156 Abs 3 PatG lautet:
«Hängt ein Urteil davon ab, ob das Patent nichtig (§ 48) ist, so hat das Gericht diese Frage vorerst selbständig zu prüfen. Das Patentamt erstellt auf Ersuchen des Gerichts ein schriftliches Gutachten, ob aufgrund der im gerichtlichen Verfahren vorgelegten Schriftstücke die Nichtigerklärung des Patents wahrscheinlich ist. Hält das Gericht die Nichtigkeit des Patents aufgrund des Beweisverfahrens für wahrscheinlich, so hat es das Verfahren zu unterbrechen. Wenn der Beklagte nicht binnen einem Monat ab Zustellung des Unterbrechungsbeschlusses nachweist, dass er beim Patentamt einen Nichtigkeitsantrag eingebracht hat, dass ein Nichtigerklärungsverfahren zwischen den Streitteilen bereits anhängig ist oder dass er sich einem solchen Verfahren als Nebenintervenient angeschlossen hat, hat das Gericht das Verfahren auf Antrag des Klägers fortzusetzen. In diesem Fall hat das Gericht ohne Rücksicht auf den Einwand der Nichtigkeit zu entscheiden. Eine hierüber vor dem Schluss der mündlichen Verhandlung ergehende Entscheidung der Nichtigkeitsabteilung ist jedoch zu berücksichtigen.»
Durch diese Bestimmung sollen einander widersprechende Entscheidungen von Gerichten und dem Patentamt vermieden werden, wobei das Gericht zwingend zu unterbrechen hat, wenn es die Nichtigkeit als wahrscheinlich annimmt (vgl Weiser, PatG GMG³ § 156 PatG 616). Zu berücksichtigen ist auch, dass die Möglichkeit zur Verfahrensunterbrechung nach § 156 Abs 3 PatG die Zuständigkeit des Patentamts für die (endgültige) Entscheidung über den Bestand eines Patents absichern soll (RIS-Justiz RS0124044) und daher eine rein verfahrensrechtliche Bedeutung hat (vgl 17 Ob 18/08h).
2.3 Entgegen den Voraussetzungen im Provisorialverfahren, in dem die Patenterteilung einen ersten Anschein für das Bestehen des Patentrechts bewirkt und die Rechtsbeständigkeit eine widerlegbare Vermutung ist (vgl Weiser, PatG GMG³ § 156 PatG 615 mwN; vgl RIS-Justiz RS0103412), ist im Hauptverfahren die Nichtigkeit eigenständig zu prüfen.
Das zur Frage der wahrscheinlichen Nichtigkeit des Streitpatents eingeholte Gutachten hat den Stellenwert eines Sachverständigengutachtens und ist daher für das Nichtigkeitsverfahren beim Patentamt nicht präjudiziell (vgl 4 Ob 41/15f). Daraus folgt im Wesentlichen auch, dass die auf dem Sachverständigengutachten fußenden Feststellungen im Rahmen einer (gesetzmäßig ausgeführten) Beweisrüge zu bekämpfen wären, was die Klägerin nicht getan hat.
3.1 Die Klägerin moniert vordergründig, dass der OGH im Provisorialverfahren (4 Ob 141/16p) den bereits damals erhobenen Einwand, Dokument D2 (EP 0 747 083 A2) stehe der erfinderischen Tätigkeit des Streitpatents entgegen, inhaltlich geprüft habe und nach dieser Prüfung von der Rechtsbeständigkeit des Streitpatents ausgegangen sei. Es sei daher kein Grund ersichtlich, weshalb nun das Erstgericht im Anwendungsbereich des § 156 Abs 3 PatG von dieser Beurteilung abweiche und sich der Einschätzung des Höchstgerichts widersetze. Es sei zwischen den selben Verfahrensparteien jedenfalls unzulässig, bereits rechtskräftig erledigte Behauptungen zu wiederholen und den Anspruch auf Nichtigerklärung des Patents allein aus solchen Vorhalten abzuleiten.
3.2 Diesem Rekursvortrag ist entgegenzuhalten, dass der OGH die Beurteilung, Dokument D2 stehe der erfinderischen Tätigkeit des Streitpatents nicht entgegen, in dieser Form nicht getätigt hat.
Der OGH hat zu 4 Ob 141/16p ausgeführt:
«Es liegt auch keineswegs nahe, aus D2 den Eingriffsgegenstand abzuleiten, da nicht nachvollziehbar ist, was den Fachmann dazu veranlassen sollte, die Haltefunktion des Flansches aufzugeben und durch eine Vertiefung im Katheteransatz zu ersetzen. Somit greift der Formsteineinwand auch bezüglich des Dokuments D2 nicht.»
Nach diesem Wortlaut wurde eine Aussage (nur) im Zusammenhang mit dem Formsteineinwand in Bezug auf D2 getroffen und nicht im Zusammenhang mit der Rechtsbeständigkeit (speziell der erfinderischen Tätigkeit) des Streitpatents. Es ist der Entscheidung auch nicht zu entnehmen, dass das Naheliegen des Merkmals g4 in Bezug auf das Streitpatent geprüft wurde; das Naheliegen des Merkmals g4 wurde nur in Bezug auf den Eingriffsgegenstand geprüft.
Die Entscheidung zu 4 Ob 141/16p kann im Wesentlichen auf folgende Aussagen zusammengefasst werden:
Vor diesem Hintergrund folgt nicht zwingend, dass die in Bezug auf den Eingriffsgegenstand getroffenen Feststellungen und Beurteilungen im Provisorialverfahren auch auf das Streitpatent zutreffen, selbst wenn der Eingriffsgegenstand alle Merkmale des Gegenstands des Streitpatents (gemäß dem Hauptanspruch) verwirklicht.
Der OGH hat somit nicht die Rechtsbeständigkeit des Streitpatents geprüft; auch nicht die Frage, ob das Dokument D2 der Voraussetzung der erfinderischen Tätigkeit des Streitpatents entgegensteht (vgl dazu die oben durch Fettdruck hervorgehobene Aussage zum Eingriffsgegenstand in Bezug auf den Formsteineinwand). Daher sind die Ergebnisse des Provisorialverfahrens für die Beurteilung nach § 156 Abs 3 PatG weder richtungsweisend noch haben sie eine Bindungswirkung.
3.3 Ähnliches gilt auch für die Entscheidung der Beschwerdekammer des EPA:
Die Beschwerdekammer ist bei der Beurteilung der erfinderischen Tätigkeit des Streitpatents in Bezug auf D2 vom Argument der einsprechenden Partei ausgegangen, dass es naheliegend sein würde, in der Art einer offensichtlichen Inversionskinematik eine Ausnehmung in der Außenfläche des Katheteransatzes zu integrieren (und damit zum Gegenstand des Streitpatents zu gelangen). Nach deren Ansicht gab es für den Fachmann jedoch keinen Grund, die Gestalt des Flansches oder des Katheransatzes zu verändern, weil hiedurch die Luer-Lock-Verbindung verlorengegangen wäre. Aus diesem Grund hat die Beschwerdekammer die erfinderische Tätigkeit gegenüber D2 bejaht.
In diesem Zusammenhang ist jedoch unberücksichtigt geblieben, dass Luer-Lock-Verbindungen trotz Normung nicht in einer einzigen Ausführungsform bestehen. Es wurde zudem auch nur die Ausführungsform von D2 mit der Luer-Lock-Verbindung betrachtet, obwohl sich die dem Fachmann bereitgestellte Lehre von D2 allgemein auf Rastmittel bezieht, die nicht die Beschränkung einer Luer-Lock-Verbindung aufweisen müssen. Es blieb auch unbeachtet, dass das Streitpatent selbst in seiner Aufgabenstellung keine Anschluss-/Verbindungsmöglichkeit an ein medizinisches Gerät vorsieht.
Daher hat die Beschwerdekammer nicht die Frage geprüft, ob der Fachmann auch angesichts anderer Ausführungsformen, die eine Ausnehmung erlauben würden, und angesichts dessen, dass eine Verbindungsmöglichkeit gemäß eines Luer-Locks nicht Teil der Aufgabenstellung des Fachmanns war, keine Ausnehmung ins Auge gefasst hätte. Bei bestimmten Ausführungsformen wäre es ohne Weiteres denkbar, dass die Funktion der Luer-Lock-Verbindung erhalten bleibt, auch wenn eine Ausnehmung in der Außenfläche des Katheransatzes integriert werden würde. (Mit diesen Aspekten hat sich der OGH im Provisorialverfahren auch nicht befasst und nicht befassen müssen.)
Es erübrigt sich somit, auf den Einwand der Klägerin weiter einzugehen, das Erstgericht wäre verpflichtet gewesen, nachvollziehbar zu begründen, weshalb es die Ausführungen des Sachverständigen für überzeugender halte als die Entscheidung der Beschwerdekammer des EPA.
4.1 Die Klägerin beanstandet, das Erstgericht habe sich nicht mit der Rechtsfrage befasst, ob Anspruch 1 des Streitpatents nicht (doch) die Priorität von P3 in Anspruch nehmen könnte. Es sei entscheidend, was für den Fachmann im Prioritätsdokument als offenbart gelte. Die Einspruchsabteilung des EPA habe sich dem gegenüber nur auf isolierte Textpassagen der Sprachfassung der Offenbarung konzentriert und festgestellt, dass sich im Dokument P3 keine explizite Erwähnung des allgemeinen Begriffs „Ausnehmung” wiederfinde, sondern nur eine „innere Ausnehmung”. Das Dokument P3 sei jedoch nicht auf eine „innere Ausnehmung” beschränkt. Für den Fachmann sei vielmehr der Gegenstand des Anspruchs 1 selbst mit der Bezugnahme auf eine allgemeine „Ausnehmung” direkt und unmittelbar offenbart. Damit offenbare Dokument P3 alle Merkmale des Anspruchs 1 und es könne daher die Priorität von P3 wirksam in Anspruch genommen werden. Die in diesem Zusammenhang unterlassene Feststellung werde als sekundärer Verfahrensmangel gerügt.
Gehe man davon aus, dass die Priorität des Dokuments P3 zu Recht beansprucht werden könne, wäre der Vorhalt des Erstgerichts hinfällig, das Dokument D2 stehe der erfinderischen Tätigkeit des Streitpatents entgegen. Gegenüber dem Dokument P3 stelle das Dokument D2 ein älteres Recht dar und könne daher nur zur Prüfung der Neuheit, nicht aber der erfinderischen Tätigkeit herangezogen werden. Die Neuheit des Streitpatents gegenüber dem Dokument D2 sei ohnedies schon im Provisorialverfahren ausdrücklich anerkannt worden.
4.2 Wie schon im Provisorialverfahren ist der Inanspruchnahme der Priorität des Dokuments P3 (neuerlich) entgegenzuhalten, dass aus diesem Dokument keine unmittelbare oder eindeutige Offenbarung des Merkmals „recess” hervorgeht. Im Dokument P3 finden sich nur explizite oder implizite Angaben eines „inner recess”; demgegenüber ist Anspruch 1 des Streitpatents erweitert, weil er allgemein nur „eine Ausnehmung” („a recess”) fordert (Merkmal g4). Die Priorität von P3 kann daher nicht in Anspruch genommen werden, womit (zur Beurteilung der erfinderischen Tätigkeit) weiterhin von D2 als nächstliegendem Stand der Technik auszugehen ist.
5.1 Nach Ansicht der Klägerin habe der Sachverständige die erfinderische Tätigkeit auf Basis von Dokument D2 als dem nächstliegendem Stand der Technik rechtsfehlerhaft beurteilt, weil er den „Aufgabe-Lösungs-Ansatz” nicht angewendet und ein Fachwissen als relevant zugrunde gelegt habe, das entweder erst im Streitpatent enthalten oder gar erst mit der streitgegenständlichen Verletzungsform „VPSalt” zum Stand der Technik geworden sei. Es liege eine unzulässige Ex-post-facto- Interpretation vor.
Konkret führte die Klägerin dazu aus:
Der Gutachter sei vom Dokument D2 als nächstliegendem Stand der Technik ausgegangen, weil dieses Dokument einen Nadelfänger mit einem Arm 40 offenbare, der mit seinem proximalen Ende am Nadelfänger angebracht sei und am distalen Ende einen Vorsprung 46 aufweise. Der Gutachter deute diese Ansicht in Richtung von Merkmal g2. Dabei vollziehe der Gutachter allerdings bereits eine unzulässige Auslegung und Interpretation von Dokument D2 in Kenntnis der vorliegenden Erfindung und keine Auslegung in objektiver Form.
Darüber hinaus werde Merkmal g2 in Dokument D2 auch nicht offenbart: Wie die Figuren 1, 2 und 3 aus D2 deutlich zeigten, verfüge die T Struktur 38 von Dokument D2 zwar tatsächlich über einen horizontalen Arm mit einem proximalen Ende, das den Abschnitt 40 aufweist, der mit dem Nadelschutzgehäuse 14 in Eingriff trete, und mit einem distalen Ende, Vorsprung 46, der lösbar mit dem Katheteransatz 28 gekoppelt sei. Anders als im Anspruch 1 des Streitpatents sei der horizontale Arm der T Struktur 38 von Dokument D2 jedoch nicht mit seinem proximalen Ende am vertikalen Rastelement 36 befestigt, sondern stattdessen mit seinem zentralen Abschnitt 54. Im Sinne des Streitpatents sei der gesamte horizontale Abschnitt der T Struktur 38 von Dokument D2, der ein proximales und ein distales Ende aufweise, als Arm 45 aufzufassen. Abschnitt 44 von Dokument D2 ohne ein proximales Ende sei jedoch kein Arm. Dies werde aufgrund der charakteristischen Merkmale der T förmigen Struktur 38 aus D2 selbst klar, denn der Buchstabe „T” weise zwei Arme auf.
Hinzu komme, dass in D2 weder ein Teil des Arms 44 noch der ganze Arm als Querstrich der T Struktur am Nadelfänger angebracht sei.
Der Gutachter vermeine, dass hinsichtlich des vermeintlich einzigen Unterscheidungsmerkmals zwischen Anspruch 1 und Dokument D2 nach dem Aufgabe-Lösungs-Ansatz „offensichtlich die gleiche Aufgabe mit gleichwertigen äquivalenten Mitteln gelöst” werde, und komme zum Schluss, dass der Anspruch 1 des Streitpatents nicht auf einer erfinderischen Tätigkeit beruhe. Dieser Schluss beruhe jedoch gerade nicht auf einem „Aufgabe-Lösungs-Ansatz”, sondern basiere ausschließlich auf den im Streitpatent angeblich „ gleichgewichtet aufgezählten” Ausführungsformen „Kanal”, „Schlitz”, „Vertiefung” und „Hinterschneidung”.
Es werde im angefochtenen Beschluss auch nicht begründet, warum der Gutachter in Bezug auf die erfinderische Tätigkeit der gegenteiligen Ansicht der Beschwerdekammer und des OGH sei. Die essentielle Frage dabei sei die Motivation des Fachmanns, den Luer-Lock aus D2 so zu verändern, um an seiner Stelle oder gar zusätzlich zu ihm eine Ausnehmung am Katheter-Ansatz zu schaffen.
Der Gutachter habe auch bei der Begründung der angeblichen „Nicht-Stichhaltigkeit” (der klägerischen Argumente) Erkenntnisse herangezogen, die erst nach dem Anmeldetag der vorliegenden Erfindung entstanden seien. Er habe auch übersehen, dass die Einbeziehung der Luer-Verbindung in Dokument D2 eine wesentliche Komponente der Aufgabenstellung und Lösung der in diesem Dokument beschriebenen Vorrichtung sei und sich nicht nur auf eine bevorzugte Ausführungsform, sondern auf den Kern der dort beschriebenen Vorrichtung beziehe. Entscheidend sei allein, ob ein Fachmann an eine solche Ausnehmung zusätzlich zu den Luer-Laschen gedacht hätte.
5.2 Diese Ausführungen überzeugen das Rekursgericht aus dem Blickwinkel der verfahrensrechtlichen Beurteilung nach § 156 Abs 3 PatG nicht (vgl 17 Ob 18/18h):
Aufgrund der großen Anzahl an übereinstimmenden technischen Merkmalen und der identischen Aufgabenstellung ist – nach wie vor – von D2 (EP 0 747 083 A2) als nächstliegendem Stand der Technik auszugehen. Bei einem Vergleich mit D2 bleibt als einziges Unterscheidungsmerkmal (das heißt neues Merkmal) das Anspruchsmerkmal g4 („dadurch gekennzeichnet, dass der Vorsprung (42) des distalen Endes des Arms (45) lösbar in einer Ausnehmung (32) des Katheteransatzes (13) gehalten wird”) übrig, weil die übrigen Anspruchsmerkmale des Streitpatents derart allgemein formuliert sind, dass sie in der Offenbarung von D2 ohne Probleme zu erkennen sind . Insbesondere Merkmal g3 ist derart unspezifisch, dass es durch zahlreiche konkrete technische Umsetzungen (und nicht nur durch die Vorrichtung gemäß D2) erfüllt wäre.
Anders als es die Klägerin vermeint, ist die (objektive) technische Aufgabe des einzigen Unterscheidungsmerkmals g4 aber nicht die „Zurverfügungstellung einer verbesserten Haltefunktion”, denn die Ausnehmung gemäß Streitpatent gewährt keinen besseren Halt als der durch den Flansch gemäß D2 gebildete Vorsprung. Diese Aufgabenstellung wäre nur dann zutreffend und technisch sinnvoll, wenn ein Halt auch in die entgegengesetzte Richtung erforderlich wäre, was auf den Streitgegenstand aber nicht zutrifft . Die (objektive) technische Aufgabe von g4 besteht somit nur in der Bereitstellung einer alternativen Halteeinrichtung.
Nach der Rechtsprechung muss bei der Entscheidung über die erfinderische Tätigkeit keine wesentliche (oder graduelle) Verbesserung gegenüber dem Stand der Technik nachgewiesen zu werden. Eine Erfindung kann auch darin bestehen, dass bereits bekannte Einrichtungen durch eine besondere Art ihrer Verwendung oder durch Verbindung mit noch unbekannten Einrichtungen dazu verwendet werden, ein technisches Problem zu lösen (vgl RIS-Justiz RS0071157; 4 Ob 80/18w).
Bei alternativen Lösungen – wie bei der technischen Aufgabe des Merkmals g4 – ist es aber vielfach so, dass sie dem Durchschnittsfachmann keine Schwierigkeiten beim Auffinden bereiten (vgl RIS-Justiz RS0120892). Die Ausnehmung als Alternative für einen Vorsprung/Flansch ist bei Haltevorrichtungen als bekannt vorauszusetzen. Im vorliegenden Fall war eine Haltevorrichtung mittels Ausnehmung außerdem aus D1 (EP 0 747 085 A2) bekannt, sodass es für den Fachmann naheliegend gewesen wäre, zur Kopplung von Katheteransatz und Nadelschutzvorrichtung anstelle des Flansches für die lösbare Anbindungsmöglichkeit des distalen Endes des Arms eine Ausnehmung vorzusehen.
Für das Auffinden von Alternativen bedarf der Fachmann in der Regel keiner (speziellen) Veranlassung, sodass der „ could/would-approach” (vgl RIS-Justiz RS0130386; 4 Ob 17/15a mwN; Weiser, PatG GMG³ § 1 30 f mwN) und/oder auch der „ Aufgabe-Lösungs-Ansatz” (vgl RIS-Justiz RS0130386; 4 Ob 17/15a; Weiser, PatG GMG³ § 1 32 f mwN) entgegen der Ansicht der Klägerin im vorliegenden Fall keine Anwendung findet.
Ausgehend davon ist daher die Beurteilung des Erstgerichts, es sei die Voraussetzung für eine Unterbrechung nach § 156 Abs 3 PatG gegeben, weil die Nichtigerklärung des Klagspatents wahrscheinlich sei, nicht korrekturbedürftig. Die Klägerin vermag mit ihrer Interpretation des Hauptanspruchs dagegen keine berechtigten Bedenken zu erzeugen.
6. Zum Einwand, dass prozessökonomische und wirtschaftliche Überlegungen bei der Prüfung der Voraussetzungen des § 156 Abs 3 PatG außer Betracht zu bleiben haben, ist auf die einleitenden Ausführungen zu den Punkten 2.1 und 2.2 zu verweisen.
7. Der Ausspruch über den Wert des Entscheidungsgegenstands orientiert sich an der von der Klägerin vorgenommenen Streitgegenstandsbewertung.
8. Die Entscheidung über die Kosten des Rekursverfahrens beruht auf §§ 41, 50 ZPO. Der Streit über die Verfahrensunterbrechung ist ein Zwischenstreit, der kostenrechtlich unabhängig vom Verfahrensausgang zu beurteilen ist (RIS-Justiz RS0035908). Der richtige Ansatz beträgt EUR 1.070,80; der Einheitssatz beträgt im Rekursverfahren 50 %. Es besteht – wie verzeichnet – ein Anspruch auch auf Ersatz der Kosten des Patentanwalts.
9. Der Revisionsrekurs ist jedenfalls unzulässig (§ 528 Abs 2 Z 2 ZPO). Beide Instanzen haben meritorisch über die Frage der Verfahrensunterbrechung entschieden (vergleiche RIS-Justiz RS0044456).
Rückverweise
Keine Verweise gefunden